npm-gpl.pdf - 第46页
NPM-GP/L 202 2.0 928 - 40 - 3 XL 尺寸框 : 7 50 × 7 50 mm ( 选购件 ) ( 单位 : mm ) Remarks • 二 点虚线显示基板的轮 廓。 • 请将基板的中心或边缘 位于符号 处进行制版。 网眼、金属组件都在相 同位置。 • 网眼规格,整个面都为 网眼。 • 请注意模板尺寸。 如果在 Y 方向基板尺寸 + 单侧 75 mm 以内范围 有粘 贴部分的话 , 会导致基板和…

NPM-GP/L 2022.0928
- 39 -
2
29
英寸
DEK
框:
736 × 736 mm (
标准
)
(
单位
: mm)
Remarks
•
二点虚线显示基板的轮廓。
•
请将基板的中心或边缘位于符号
处进行制版。
网眼、金属组件都在相同位置。
•
网眼规格,整个面都为网眼。
•
请注意模板尺寸。
如果在
Y
方向基板尺寸+单侧
75 mm
以内范围有粘贴部分的话,
会导致基板和网板基板粘着不良,影响印刷品质。
•
网板框使用(
736 mm×736 mm
)。
•
使用比
80 µm
薄的网板时,请与本公司联络。
•
网板框外形公差为
: ±1.0 mm.
•
使用前侧基准时,
X
方向上请直接粘贴模版。
•
使用前侧基准时,请选择「网板自动定位单元(选购件)」。
•
推荐导管厚度
: t=3.0 mm
•
使用上图以外基准的网板时,请与本公司联络。
作业人员侧
识别标记
在导通孔或者下面设置标记
(
必须在基板区域内
)
名
称
①メッシュ
(
コンビネーション部
)
②接着代
(
幅
: 15 mm)
③ステンシル、メッシュ
④基板外形
⑤製版基準
⑥スクリーン面
※
マスク枠材質
:
アルミパイプ
※
推奨パイプ肉厚
: t=3.0 mm
(
基板エリア内にあること
)
粘着部分
金属
张力膜·网眼
基准
基准:中心(标准)
能够安装厚度 25 ~ 40
网板面
铝铸物或者铝管制

NPM-GP/L 2022.0928
- 40 -
3
XL
尺寸框:
750 × 750 mm (
选购件
)
(
单位
: mm)
Remarks
•
二点虚线显示基板的轮廓。
•
请将基板的中心或边缘位于符号
处进行制版。
网眼、金属组件都在相同位置。
•
网眼规格,整个面都为网眼。
•
请注意模板尺寸。
如果在
Y
方向基板尺寸+单侧
75 mm
以内范围有粘贴部分的话,
会导致基板和网板基板粘着不良,影响印刷品质。
•
网板框使用(
750 mm×750 mm
)。
•
29
英寸框以外的网板,需要「通用网板支架(选购件)」。
•
使用比
80 µm
薄的网板时,请与本公司联络。
•
网板框外形公差为
: ±1.0 mm.
•
推荐导管厚度
: t=3.0 mm
•
使用上图以外基准的网板时,请与本公司联络。
作业人员侧
识别标记
在导通孔或者下面设置标记
(
必须在基板区域内
)
金属
粘着部分
张力膜·网眼
基准:中心(标准)
基准
网板面
能够安装厚度 25 ~ 40
铝铸物或者铝管制

NPM-GP/L 2022.0928
- 41 -
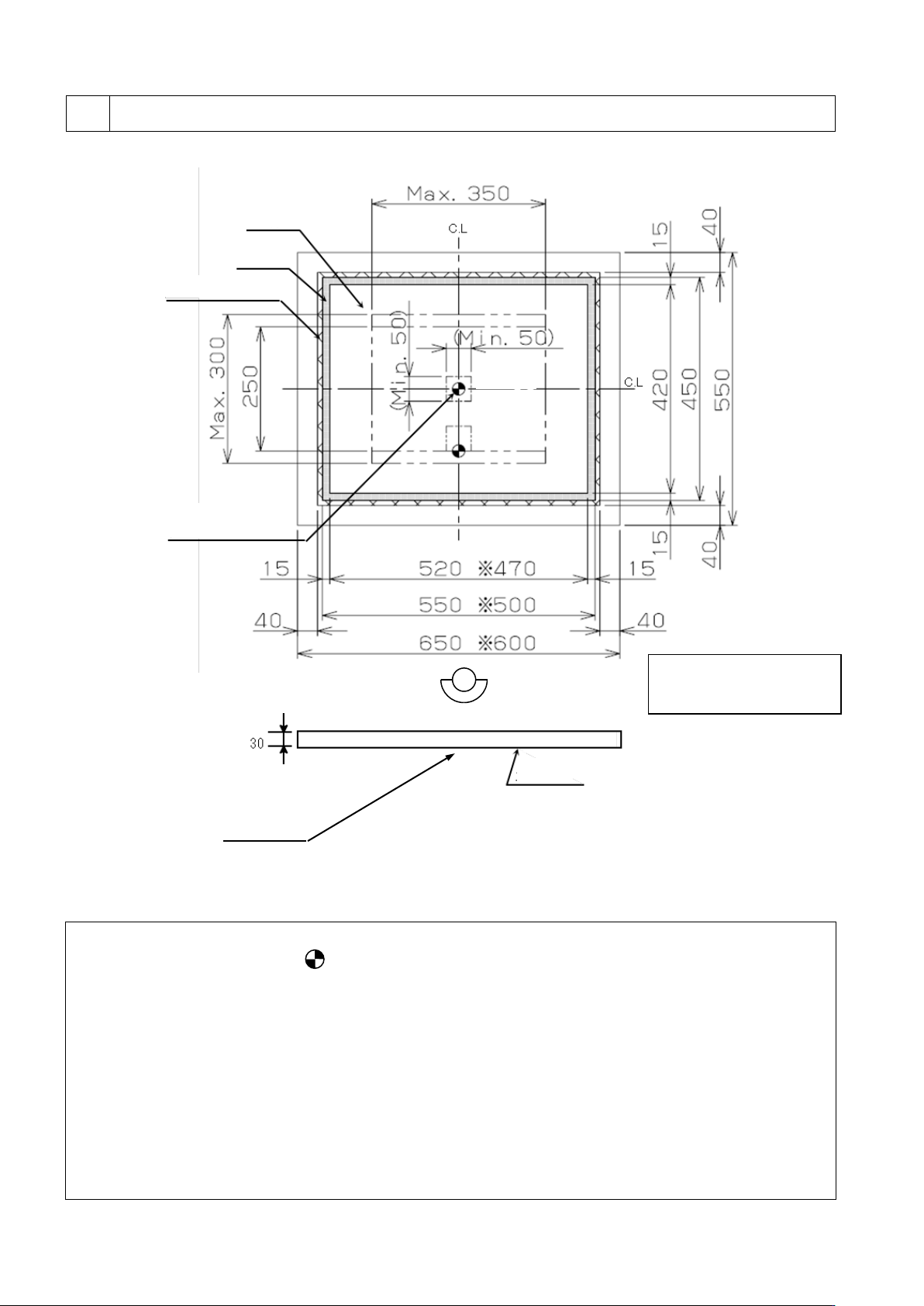
4
M
尺寸框
: 650 × 550 mm
横框/
600 × 550 mm
横框
(
选购件
)
(
单位
: mm)
Remarks
•
二点虚线显示基板的轮廓。
•
请将基板的中心或边缘位于符号
处进行制版。
网眼、金属组件都在相同位置。
•
网眼规格,整个面都为网眼。
•
请注意模板尺寸。
如果在
Y
方向基板尺寸+单侧
75 mm
以内范围有粘贴部分的话,
会导致基板和网板基板粘着不良,影响印刷品质。
•
网板框使用(
650 mm×550 mm
)或者(
600 mm×550 mm
)。
•
29
英寸框以外的网板,需要「通用网板支架(选购件)」。
•
使用比
80 µm
薄的网板时,请与本公司联络。
•
网板框外形公差为
: ±1.0 mm.
•
推荐导管厚度
: t=3.0 mm
•
使用上图以外基准的网板时,请与本公司联络。
作业人员侧
识别标记
在导通孔或者下面设置标记
(
必须在基板区域内
)
标记※的数值是
600mm×550mm
框的值
金属
粘着部分
张力膜·网眼
基准:中心(标准)
基准
网板面
能够安装厚度 25 ~ 40
铝铸物或者铝管制