SPF.pdf - 第149页
SPF 服务手册 6.7 秘密画面服务功能的说明(机密事项) P54SCC-85-080-A0 6.7-18 PRESS TO SELECT PCB CAMERA, TO SCREEN CAMERA. MANUAL : 1BLOCK <<MACHINE INITIAL SETTING>> XXXX-XX-XX XX:XX F 1 F 2 F 3 F 4 F 5 F 6 F 7 F 8 [CAMERA BRIGHT…

SPF
服务手册
6.7 秘密画面服务功能的说明(机密事项)
6.7-17 P54SCC-85-080-A0
MANUAL : 1BLOCK
<<MACHINE INITIAL SETTING>> XXXX-XX-XX XX : XX
F 1
F 2
F 3 F 4 F 5
F 6 F 7 F 8
[RECOGNITION SERVICE]
COMPLETE
X AXIS
Y AXIS
F 1
PCB CAMERA
F 2
RING
LIGHT TYPE
CAMERA
LIGHT
SELECT
MOVE A POINTER WHERE YOU WANT TO DISPLAY BRIGHTNESS USING
PRESS TO X-AXIS, TO Y-AXIS.
POINTER COORDINATE X : 256
Y : 240
图 6.7-16-识别服务
参
参参
参数的说明
数的说明数的说明
数的说明
·设定何处显示亮度分布。
F1:显示 X 轴方向的亮度分布。
F2:显示 Y 轴方向的亮度分布。
F7:切换照明。
F8:返回上级画面。

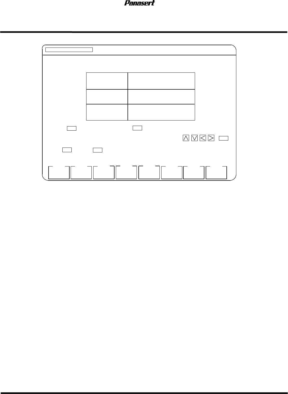
SPF
服务手册
6.7 秘密画面服务功能的说明(机密事项)
P54SCC-85-080-A0 6.7-18
PRESS TO SELECT PCB CAMERA, TO SCREEN CAMERA.
MANUAL : 1BLOCK
<<MACHINE INITIAL SETTING>>
XXXX-XX-XX XX:XX
F 1
F 2
F 3 F 4 F 5
F 6 F 7 F 8
[CAMERA BRIGHT CHECK]
COMPLETE
PCB CAMERA
SCREEN
CAMERA
F 1
PCB CAMERA
F 2
F 4
CAMERA
BRIGHT
CHECK
WINDOW
SHIFT
WINDOW
L S
LIGHT
SELECT
F 6
F 5
WINDOW SHIFT
RING
WINDOW
LIGHT TYPE
MOVE A WINDOW WHERE YOU WANT TO CHECK BRIGHTNESS USING
AND PRESS TO CHECK BRIGHTNESS.
图 6.7-17-照相机亮度确认
参数的说明
参数的说明参数的说明
参数的说明
·在进行亮度确认时设定照相机的选择和窗口的移动。
F1:使用基板照相机。
F2:使用网板照相机。
F4:进行亮度确认。
F5:选择窗口的大小。
F6:移动窗口。
F7:切换照明。
F8:返回上级画面。

SPF
服务手册
6.7 秘密画面服务功能的说明(机密事项)
6.7-19 P54SCC-85-080-A0
6.7.10 各种检定
各种检定各种检定
各种检定
MANUAL : 1BLOCK
<<MACHINE INITIAL SETTING>>
XXXX-XX-XX XX:XX
F 1
F 2 F 3 F 4 F 5 F 6 F 7 F 8
[APPROVING]
EXIT
SELECT FUNCTION USING F KEYS.
F 1 SCREEN MARK APPROVING
F 2 PCB. MARK APPROVING
F 3
PCB. MARK / PCB. ADJUST
S MARK
APPROVE
P MARK
APPROVE
(PCB ADJUSTING)
(REPEAT ADJUSTING)
REPEAT
APPROVE
图 6.7-18-各种检定
参数说明
参数说明参数说明
参数说明
各种检定
·用功能键选择要执行的功能。
F1:检定网板标记。
F2:检定基板标记。
F3:检定基板标记、基板矫正。
F8:设定完成。