SPF.pdf - 第60页
SPF 服务手册 4.2 下部组件:其它 4.2-7 D54SCC-W 4-600-A0 12. 确认(±)极限传感器。 = 规格值 规格值 规格值 规格值 = ( + )安全极限 : 790 ± 2mm ( + )极限 : 785 ± 1mm 冲程极限 : 15 ± 1mm ( - )极限 : -5 ± 1 mm ( - )安全极限 : -10 ± 2mm 低速 原点 (+) 机器止 动 器 (-) 机器止 动 器 (-) 极 限 1…

SPF
服务手册
4.2 下部组件:其它
D54SCC-W4-600-A0 4.2-6
4.2.4 调整
调整调整
调整 SY 轴(工作台
轴(工作台轴(工作台
轴(工作台 Y 轴)原点
轴)原点轴)原点
轴)原点
Unit No.
1080804200
4.2.1SY
轴(工作台
4.2.1
更换
SY
轴(工作台
Y
轴)电机
调整
SY
轴(工作台
Y
轴
)
原点
►调整
调整调整
调整 SY 轴原点
轴原点轴原点
轴原点
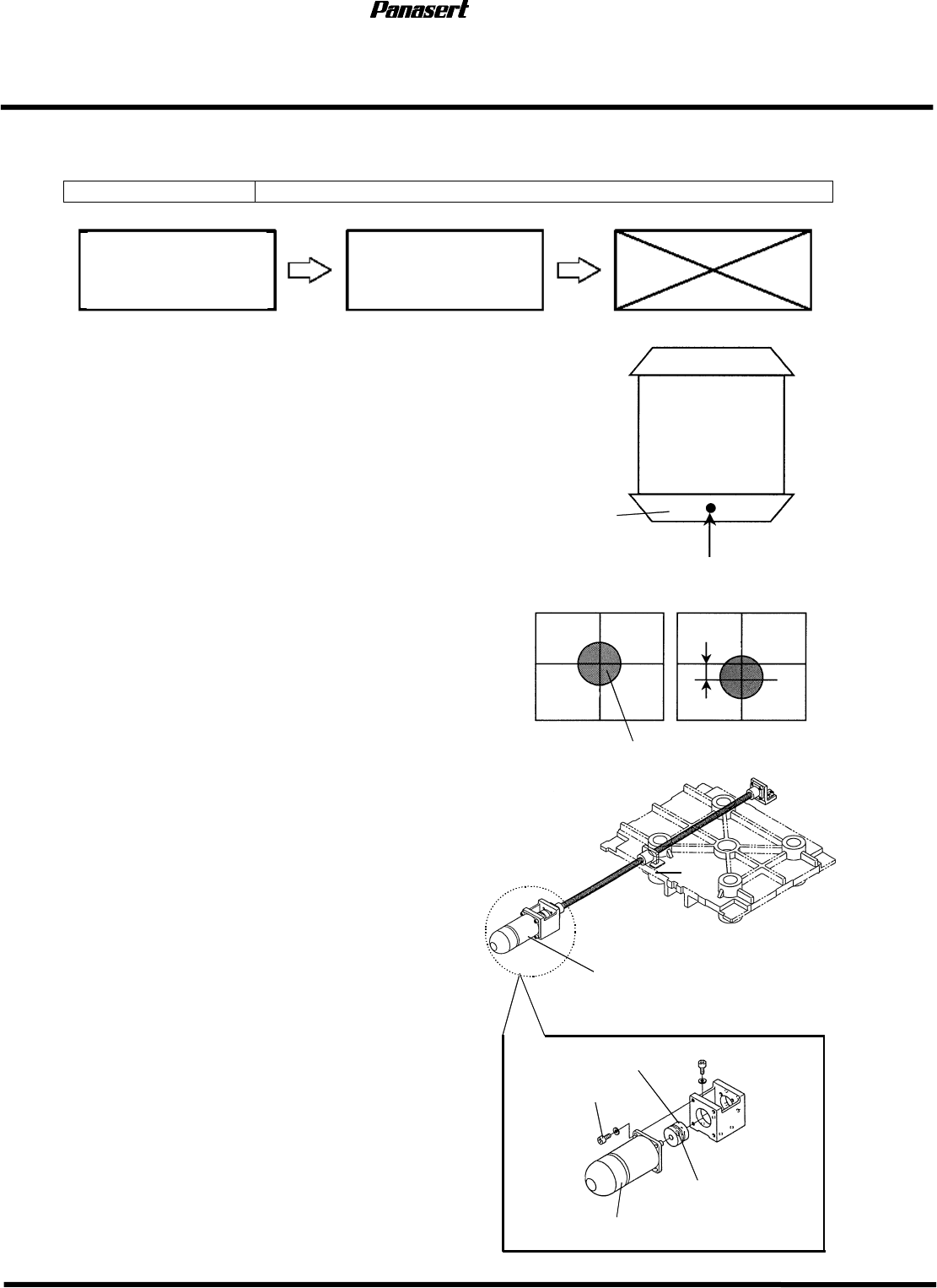
1. 打开电源,使其返回原点。
2. 移动 SY 轴(工作台 Y 轴),使其位于
150 mm 位置处。
3. 移动 ST 轴,使其位于 26 mm 位置处。
4. 移动 CY 轴,使其位于 624.5 mm 位置处。
5. 将副操作盘上的“RECOG LIGHT RING”
(识别照明环)置于 ON。
6. 用目视确认基准标记是否在监控器的十字线
的中心处。
7. 如基准标记不在监控器的十字线的中心处,
拧松滚珠丝杠一侧的联轴节螺栓。
8. 边看监控器,边旋转滚珠丝杠,调整使基准
标记在监控器的十字线的中心处。
9. 拧紧滚珠丝杠一侧联轴节螺栓。
10. 确认传感器挡片是否与原点传感器相对应。
11. 如不对应,移动传感器挡片和传感器,进行
调整。
OK
NG
位置偏移
工作台
固定侧导轨
基准标记
工作台
Y
轴电机
联轴节
联轴节螺栓
电机螺栓
基准标记
工作台
Y
轴电
机

SPF
服务手册
4.2 下部组件:其它
4.2-7 D54SCC-W4-600-A0
12. 确认(±)极限传感器。
=规格值
规格值规格值
规格值=
(+)安全极限 :790±2mm
(+)极限 :785±1mm
冲程极限 :15±1mm
(-)极限 :-5±1mm
(-)安全极限 :-10±2mm
低速
原点
(+)
机器止动器
(-)
机器止动器
(-)
极限
15
798.5
0
(+)
极限
790
785
-10
-5
-15.5
(+)
安全极限
(-)
安全极限
冲程
图
低速范围

SPF
服务手册
4.2 下部组件:其它
D54SCC-W4-600-A0 4.2-8
4.2.5 更换
更换更换
更换 SST 轴
轴轴
轴(支撑台上下轴
支撑台上下轴支撑台上下轴
支撑台上下轴)电机
电机电机
电机
Unit No. 1080804300
4.2.6
调整
SST
轴(支
撑台上下轴)高度
更换
SST
轴(支撑台上
下轴)电机
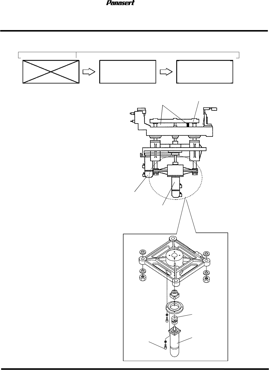
►更换
更换更换
更换 SST 轴电机
轴电机轴电机
轴电机
1. 打开电源,使其返回原点。
2. 关闭电源,在副工作台和支撑台机架
之间插入止动器。
=确认
确认确认
确认=
拧松电机一侧的联轴节螺栓,
则支撑台机架下降。
3. 卸下后下方机盖。
=确认
确认确认
确认=
请确认从后左侧能够看到联轴节。
4. 卸下电机连接器。
5. 拧松电机一侧的联轴节螺栓。
6. 卸下电机螺栓,拆卸电机。
7. 更换电机。
8. 拧紧电机一侧联轴节螺栓。
9. 拧紧电机螺栓。
10. 连接电机连接器。
电
机螺栓
电
机
联轴
器
副工作台
支
撑
台
机架
ST
轴电
机
SST
轴电
机
止
动
器