SPF.pdf - 第76页
SPF 服务手册 4.5 上部组件:其它 4.5-1 D54SCC-W 1-V00-A0 4.5 上部组件 上部组件 上部组件 上部组件 : 其它 其它 其它 其它 4.5.1 调整橡皮滚角度 调整橡皮滚角度 调整橡皮滚角度 调整橡皮滚角度 Unit No. 调 整橡皮 滚 角度 = 准备 准备 准备 准备 = 1. 调整橡皮滚角度治具 ► 调整 调整 调整 调整橡皮滚角度 橡皮滚角度 橡皮滚角度 橡皮滚角度 1. 提升橡皮滚到印刷位置…

SPF
服务手册
4.4 识别照明
D54SCC-W0-400-A0 4.4-4
= 备忘录 =

SPF
服务手册
4.5 上部组件:其它
4.5-1 D54SCC-W1-V00-A0
4.5 上部组件
上部组件上部组件
上部组件:其它
其它其它
其它
4.5.1 调整橡皮滚角度
调整橡皮滚角度调整橡皮滚角度
调整橡皮滚角度
Unit No.
调整橡皮滚角度
=准备
准备准备
准备=
1. 调整橡皮滚角度治具
►调整
调整调整
调整橡皮滚角度
橡皮滚角度橡皮滚角度
橡皮滚角度
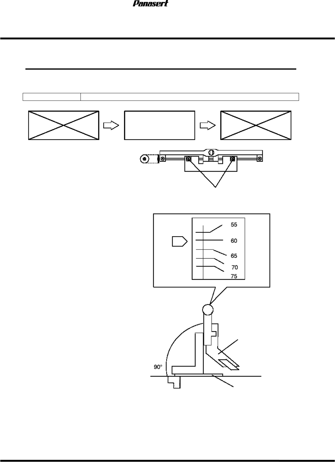
1. 提升橡皮滚到印刷位置。
2. 调整导轨宽度为最小宽度。
3. 使前侧的橡皮滚下降。
4. 将调整橡皮滚角度治具(90°用 )
安装到导轨上面。
5. 使调整橡皮滚角度治具与橡皮滚支持
架相接触,确认有无间隙。
6. 如有间隙,拧松螺栓(A)进行调整。
7. 拧紧螺栓(A)。
=确认
确认确认
确认=
确认刻度指示盘显示为 60°。
8. 按照同样的方法调整橡皮滚后侧。
Sentence No. D54SCC-W1-V00-A0
螺栓(
A
)
刻度
刻度刻度
刻度盘
盘盘
盘放大
放大放大
放大图
图图
图
橡皮滚
轨道导向器

SPF
服务手册
4.5 上部组件:其它
D54SCC-W1-V00-A0 4.5-2
4.5.2 调整
调整调整
调整 CX 轴原点
轴原点轴原点
轴原点
Unit No.
4.5.4
调整
CX
轴、
CY
轴
直角度
调整
CX
轴原点
=准备
准备准备
准备=
1. 扳手
=确认
确认确认
确认=
在调整网板轴原点、固定导轨平行度结束后,
再进行如下调整。
►调整
调整调整
调整 CX 轴原点
轴原点轴原点
轴原点
1. 打开电源,使其返回原点。
2. 移动工作台(SY 轴),使其位于 150mm 位置处。
3. 提升工作台(ST 轴),使其上升 26 mm。
4. 移动照相机(CY 轴),使其位于-624.5mm 位置处。
=确认
确认确认
确认=
确认橡皮滚(SQ 轴)位于待机位置。
5. 将副操作盘上的“RECOG. LIGHT RING”
(识别照明散射)置于 ON。
5. 确认基准标记位于监控器的十字中心。
7. 如不在中心,将主操作盘上的“SERVO MOTOR”
(伺服电机)置于 OFF。
8. 用扳手稍微拧松 N 联轴节。
9. 将主操作盘上的“SERVO MOTOR”(伺服电机)
置于 ON。
10. 使其返回原点。
11. 选择主操作盘上的“MACHINE INITIAL SETTING”
(机器初始设定)→“F7” →“SHIFT” →“S”
→“P”→“F”,进入秘密画面。
12. 记录现在的增益数据。
13. 输入增益数据降低值。
14. 用扳手拧松 N 联轴节。
=确认
确认确认
确认=
如不事先降低增益数据,可能发出噪音。
15. 旋转滚珠丝杠,移动 CX 轴,使基准标记位于
监控器中心。
NG
固定
导轨
基准
标记
OK
位置偏移
联轴节
工作台
基准
标记