SPF.pdf - 第70页
SPF 服务手册 4.3 上部定位 4.3-5 D54SCC-W 1-000-A0 10. 确认(±)极限传感器。 = 规格值 规格值 规格值 规格值 = ( + )安全极限: 363 ± 0.5mm ( + )极限: 361 ± 0.5mm ( - )极限: -361 ± 0.5m m ( - )安全极限: -363 ± 0.5m m +365 +363 +361 0 -361 -365 机器止 动 器 (+) 极 限 原点 (-) …

SPF
服务手册
4.3 上部定位
D54SCC-W1-000-A0 4.3-4
4.3.3 调整
调整调整
调整 SQ 轴(橡皮滚
轴(橡皮滚轴(橡皮滚
轴(橡皮滚 Y 轴)原点
轴)原点轴)原点
轴)原点
Unit No.
1080807100,1080807150
4.3.2
更换
SQ
轴(橡皮滚
Y
轴)电机
调整
SQ
轴(橡皮滚
Y
轴)
原点
=准备
准备准备
准备=
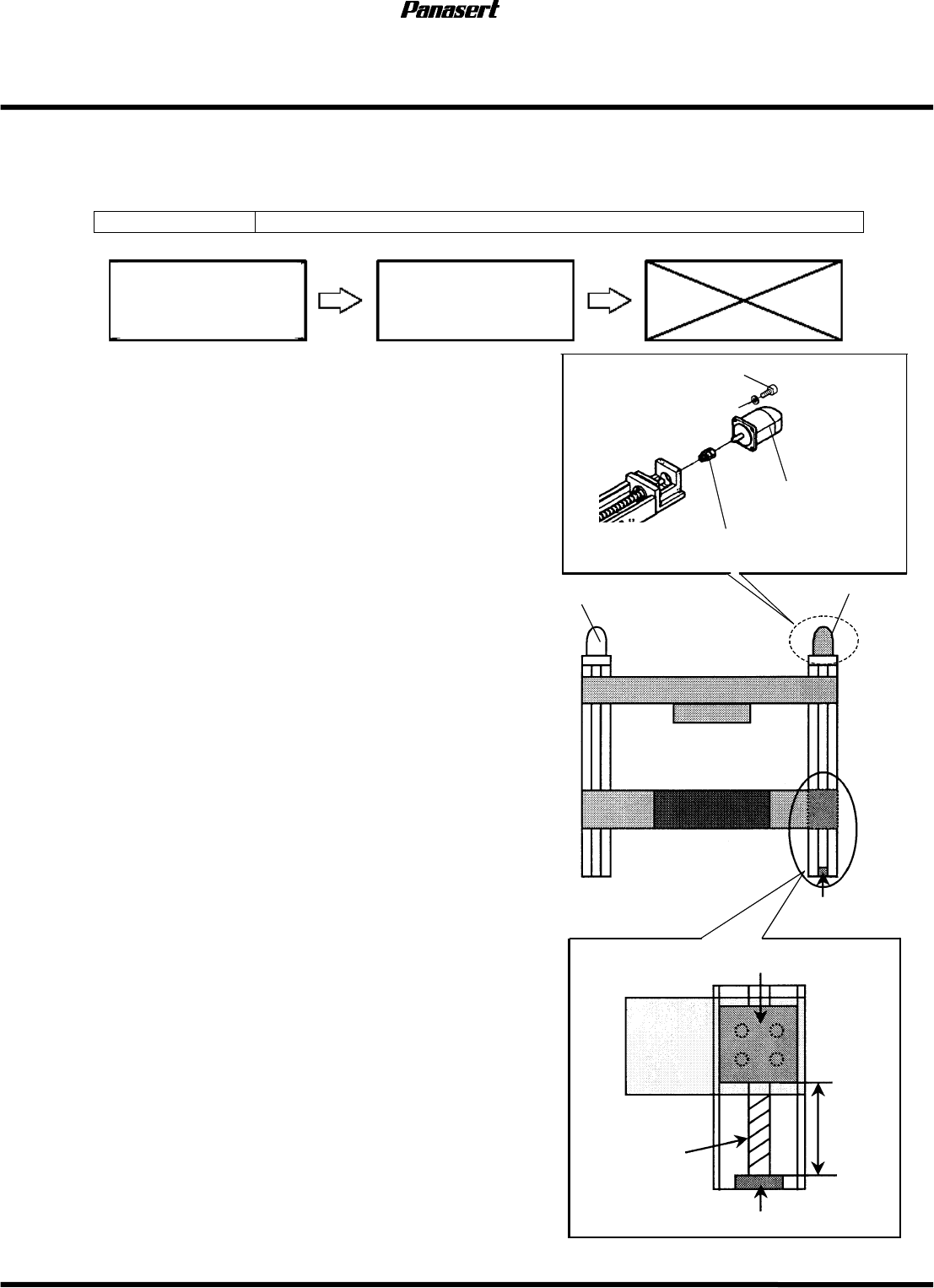
1. 标尺
►调整
调整调整
调整 SQ 轴原点
轴原点轴原点
轴原点
1. 打开电源,使其返回原点。
2. 将主操作盘上的“SERVO MOTOR”置于 OFF。
3. 用标尺确认机器止动器到滑块端面的距离。
=规格值
规格值规格值
规格值=
距离:365mm
4. 规格值以外时,用扳手拧松滚珠丝杠一侧的 N 联轴节。
5. 旋转滚珠丝杠,调整距离。
6. 用扳手拧紧 N 联轴节。
7. 将主操作盘上的“SERVO MOTOR”置于 ON。
8. 返回原点。
9. 确认传感器挡片是否适合原点传感器。
SQ
轴电
机
橡皮
滚
滑
块
机器止动器
CY
轴电
机
365mm
滚
珠
丝
杠
SQ
轴电
机
电动机螺栓
N
联轴节
照相机
机器止动器

SPF
服务手册
4.3 上部定位
4.3-5 D54SCC-W1-000-A0
10. 确认(±)极限传感器。
=规格值
规格值规格值
规格值=
(+)安全极限:363±0.5mm
(+)极限:361±0.5mm
(-)极限:-361±0.5mm
(-)安全极限:-363±0.5mm
+365
+363
+361
0
-361
-365
机器止
动
器
(+)
极限
原点
(-)
安全极限
机器止
动
器
冲程图(
CY
轴原点时)
-363
(-)
极限
(+)
安全极限

SPF
服务手册
4.3 上部定位
D54SCC-W1-000-A0 4.3-6
4.3.4 更换
更换更换
更换 SCX 轴(网板矫正轴)电机
轴(网板矫正轴)电机轴(网板矫正轴)电机
轴(网板矫正轴)电机
Unit No.
1080810100
4.3.1
调整
SCX
轴(网板
矫正轴)原点
更换
SCX
轴(网板矫正
轴)电机
►更换
更换更换
更换 SCX 轴电机
轴电机轴电机
轴电机
1. 打开电源,返回原点。
2. 关闭电源。
3. 卸下电机的连接器。
4. 拧松电机一侧的联轴节螺栓。
=确认
确认确认
确认=
将电机轴和联轴节完全分开。
5. 拆卸电机螺栓,从电机托架上卸下
电机。
6. 更换电机。
7. 拧紧电机螺栓和联轴节螺栓。
8. 连接电机连接器。
联轴节螺栓
电机
电机托架
电机螺栓