SPF.pdf - 第81页
SPF 服务手册 4.5 上部组件:其它 D54SCC-W 1-V00-A0 4.5-6 4.5.4 调整 调整 调整 调整 CX 轴、 轴、 轴、 轴、 CY 轴直角度 轴直角度 轴直角度 轴直角度 Unit No. 调 整 CX 轴 、 CY 轴 直角度 4.5.2 调 整 CX 轴 原点 4.5.3 调 整 CY 轴 原点 = 准备 准备 准备 准备 = 1. 直角尺 2. 百分表 3. 磁性表架 ► 调整 调整 调整 调整 CX…

SPF
服务手册
4.5 上部组件:其它
4.5-5 D54SCC-W1-V00-A0
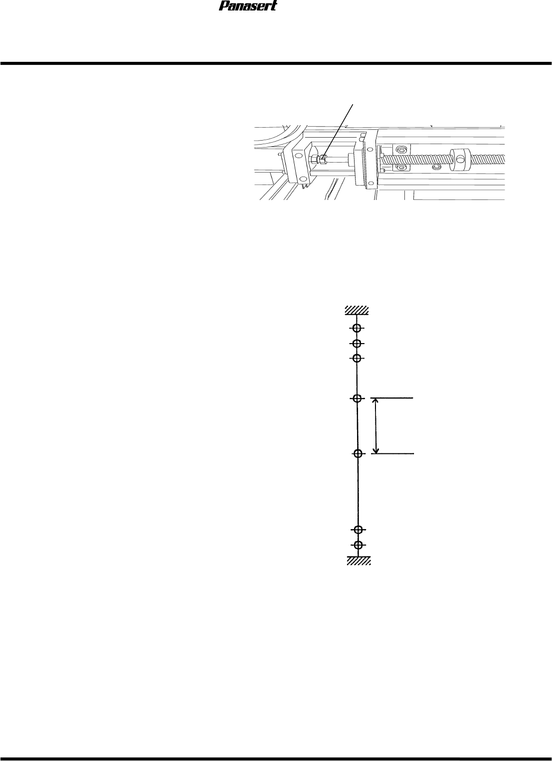
17. 用扳手拧紧 N 联轴节。
18. 将主操作盘上的“SERVO MOTOR”
(伺服电机)置于 ON。
19. 返回原点,再次确认位置。
20. 将更改的增益数据返回原值。
21. 确认极限。
=确认
确认确认
确认=
(-)极限 :256±0.5mm
(+) 极限 :282±0.5mm
(-)
机器止
动
器
(-)
极限
(-)
安全极限
(+)
机器止
动
器
(+)
极限
(+)
安全极限
原点
5
-721
0
冲程
图
SQ
轴
=-360mm
时
1
3
-86
-723
-725
-200
照相机下降禁止范围
联轴
器

SPF
服务手册
4.5 上部组件:其它
D54SCC-W1-V00-A0 4.5-6
4.5.4 调整
调整调整
调整 CX 轴、
轴、轴、
轴、CY 轴直角度
轴直角度轴直角度
轴直角度
Unit No.
调整
CX
轴、
CY
轴直角度
4.5.2
调整
CX
轴原点
4.5.3
调整
CY
轴原点
=准备
准备准备
准备=
1. 直角尺
2. 百分表
3. 磁性表架
►调整
调整调整
调整 CX 轴直角度
轴直角度轴直角度
轴直角度
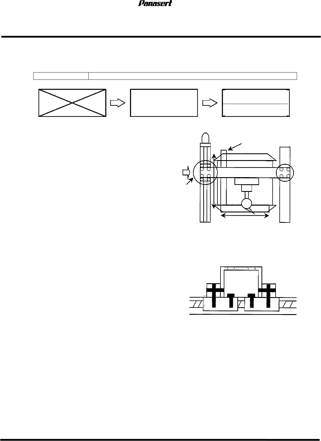
1. 打开电源,使其返回原点。
2. 将直角尺安装到工作台上,使其与 CY 轴平行。
=提示
提示提示
提示=
用磁性表架固定直角尺,使其不移动。
3. 将磁性表架安装到照相机轴机架上。
4. 使百分表的尖端与直角尺的 A 点相接触。
5. 将百分表设定为 0。
6. 确认 X 方向(A-B 间)的平行。
=规格值
规格值规格值
规格值=
直角度:0.03mm 以内
7. 规格值以外时,拧松和滚珠丝杠相连接的螺栓。
8. 暂时拧紧 1 个螺栓。
9. 移动照相机轴,边确认平行,边拧紧其它的螺栓。
10. 再次确认直角度。
►调整
调整调整
调整 CY 轴直角度
轴直角度轴直角度
轴直角度
1. 按照同样的方法调整 CX 轴。
CY
轴
直角尺
照相机
轴
连接螺栓
测
定
A
B
0
0
A
A
详细图

SPF
服务手册
4.6 其它
4.6-1 P54SCC-W0-900-A0
4.6 其它
其它其它
其它
4.6.1 调整
调整调整
调整 CL 轴(清洁器)原点
轴(清洁器)原点轴(清洁器)原点
轴(清洁器)原点
相关/Related Unit No.
调整
CL
轴(清洁器)原点
►调整
调整调整
调整 CL 轴(清洁器)原点
轴(清洁器)原点轴(清洁器)原点
轴(清洁器)原点
1. 打开电源,使其返回原点。
2. 将副操作盘上的“CLEARER”
(清洁器连接)置于 ON/OFF。
=确认
确认确认
确认=
确认清洁器连接销在上下移动。
3. 确认连接销顺利进入工作台一侧托架孔内。
=提示
提示提示
提示=
如切断空气,则容易确认。
4. 连接销下降时,确认球形活塞进入托架槽的中心。
5. 如球形活塞没有进入托架槽的中心,
移动主体一侧的托架进行调整。
6. 再次确认连接销顺利进入工作台一侧托架孔内。
7. 再次确认原点传感器和其它传感器的遮光状态。
8. 手动前后轻轻移动清洁器装置时,确认
原点传感器在检测它的原点。
Sentence No. P54SCC-W0-900-A0
工作台
连
接
销
清
洁
器
禁止头上升
清洁器原点
清洁器区域
球形活塞
固定螺栓
OK
连
接
销
清洁器
NG
槽
工作台
球形活塞