SPF.pdf - 第90页
SPF 服务手册 5.1 调整 AC 伺服增益 5.1-3 P54SCC-84- 040-A0 光回路 光回路 光回路 光回路 轴 轴 轴 轴 名称 名称 名称 名称 回路 回路 回路 回路 轴 轴 轴 轴 编号 编号 编号 编号 设定 设定 设定 设定 SQ 轴 1 1 0 ADR1 ADR2 SCR 轴 2 1 0 ADR1 ADR2 SY 轴 3 1 0 ADR1 ADR2 SCX 轴 2 4 1 0 ADR1 ADR2

SPF
服务手册
5.1 调整 AC 伺服增益
P54SCC-84-040-A0 5.1-2
►设定
设定设定
设定 AC 伺服驱动器的双列直插式开关
伺服驱动器的双列直插式开关伺服驱动器的双列直插式开关
伺服驱动器的双列直插式开关
开关设定
开关设定开关设定
开关设定
开关设定如下表所示。
No.
规格
规格规格
规格 设定
设定设定
设定
SW1
位置回路增益
ON :增益设定范围高增益
OFF:增益设定范围低增益
OFF
SW2
速度回路增益
ON :增益设定范围高增益
OFF:增益设定范围低增益
OFF
SW3
速度监控器输出
ON :127kpps/2.5V
OFF:5000rpm/2.5V
OFF
SW4
速度监控器输出
ON :2500脉冲/2.5V
OFF:100rpm/2.5V
OFF
驱动器回路、轴编号
光回路
光回路光回路
光回路
轴名称
轴名称轴名称
轴名称
回路
回路回路
回路 轴编号
轴编号轴编号
轴编号
设定
设定设定
设定
CX 轴
1
1 0
A
DR1
A
DR2
CY 轴
2
1 0
A
DR1
A
DR2
ST 轴
3
1 0
A
DR1
A
DR2
SST 轴
1
4
1 0
A
DR1
A
DR2

SPF
服务手册
5.1 调整 AC 伺服增益
5.1-3 P54SCC-84-040-A0
光回路
光回路光回路
光回路
轴
轴轴
轴 名称
名称名称
名称
回路
回路回路
回路 轴
轴轴
轴 编号
编号编号
编号
设定
设定设定
设定
SQ 轴
1
1 0
ADR1
ADR2
SCR 轴
2
1 0
ADR1
ADR2
SY 轴
3
1 0
ADR1
ADR2
SCX 轴
2
4
1 0
ADR1
ADR2

SPF
服务手册
5.1 调整 AC 伺服增益
P54SCC-84-040-A0 5.1-4
►调整
调整调整
调整 AC 伺服增益
伺服增益伺服增益
伺服增益
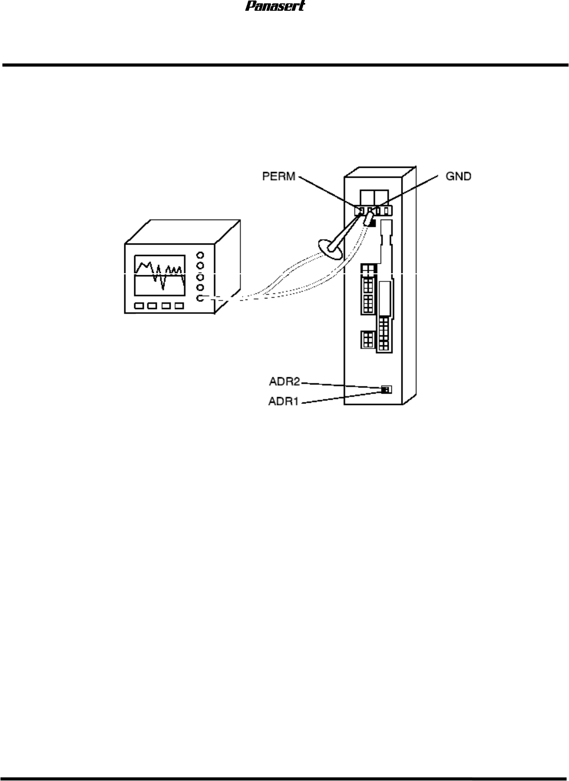
1. 由其它机器向示波器供电的而不是不是 SPF 本体。
2. 将示波器的测针连接到电机驱动器监控器终端的“PERM”和“GND”上。
示波器
3. 选择程序。
=提示
提示提示
提示=
在正常条件下,任何程序都可使用。
4. 在评价模式中,执行程序,用示波器确认 AC 伺服驱动器的波形和伺服电机的状态。
5. 选择主操作盘上的“F1”(机器初始设定)→“F7” →“SHIFT” →“S” →“P”
→“SHIFT”→“F”。