00195655-04_SM_X-Series_FSE_en.pdf - 第82页
Service Work Modular PCB Conveyor System 3.4.7 Width Adjustment Unit 82 Ser vice Manual (internal ver sion) SIPLACE HF and X Series 3.4.7 3 . 4 . 7 W id t h A d ju s t m e n t U n it Width Adjustment Unit 3.4.7.1 3 . 4 .…

Service Work
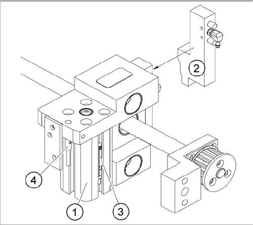
3.4.6 Replacing the Actuator for the Width Adjustment System [00355533-xx] Modular PCB Conveyor System
Service Manual (internal version) SIPLACE HF and X Series 81
3.4.6
3.4.6 Replacing the Actuator for the Width Adjustment System [00355533-xx]
Replacing the Actuator for the Width Adjustment System [00355533-xx]
Overview
Removal/Installation
► Move the PCB conveyor to the position which gives you best access to the actuator.
► Move the Y gantries into the area outside the PCB conveyor.
► Switch off the machine and secure it to prevent unauthorized reactivation.
► Switch off the compressed air supply.
► Loosen and remove the screw fastening the actuator.
► Insert the new actuator and screw in loosely.
► The switching point is set at the actuator on the conveyor edge.
Move the adjustment unit under the conveyor edge.
► Place a 2/10 mm distance gauge on the adjustment unit, press the actuator onto the distance gauge
and tighten the screw.
► Calibrate the conveyor edges.
1. Actuator
2. Driver
3. Adjustment unit
4. Proximity switch for adjustment unit
1
4
3
2

Service Work
Modular PCB Conveyor System 3.4.7 Width Adjustment Unit
82 Service Manual (internal version) SIPLACE HF and X Series
3.4.7
3.4.7 Width Adjustment Unit
Width Adjustment Unit
3.4.7.1
3.4.7.1 Setting the Proximity Switch on the Adjustment Unit
Setting the Proximity Switch on the Adjustment Unit
Overview
Removal/Installation
► When installing the proximity switch, make sure that this is level with the adjustment unit housing.
► The switching point is set via the actuator on the conveyor side.
► Move the adjustment unit under the conveyor side, then loosen the actuator using the screw.
► Place the distance gauge 0.2 mm on the adjustment unit, press the actuator against the gauge and
fix with the screw.
► Actuators on all conveyor sides have to be checked and adjusted where necessary.
► You then need to calibrate the conveyor sides with the software.
Overview of the proximity switches on the adjustment unit
for width adjustment
1. Short-stroke cylinder
2. Solenoid valve
3. Proximity switch for pneumatic cylinder (for "locking
pin up" recognition)
4. Proximity switch for adjustment unit(for conveyor side
recognition)
▪ The proximity switch (3) serves as a signal for con
-
trolling the pneumatic valve of the adjustment unit.
Once the switching point "conveyor side present" has
been reached, the conveyor side is connected via the
pneumatic valve.

Service Work
3.4.7 Width Adjustment Unit Modular PCB Conveyor System
Service Manual (internal version) SIPLACE HF and X Series 83
3.4.7.2
3.4.7.2 Setting the Pneumatic Cylinder Proximity Switch on the Adjustment Unit
Setting the Pneumatic Cylinder Proximity Switch on the Adjustment Unit
► Start SITEST
► Set any conveyor width. The adjustment units are positioned directly under the conveyor side.
► Start the I/O menu.
► Activate the pneumatic cylinder.
► Set the proximity switch on the pneumatic cylinder so that the LED (H35/H36/H37 for TSP 301) (H64/
65 for TSP 201) shines when connected.
Overview of the proximity switches on the adjustment unit
for width adjustment
1. Short-stroke cylinder
2. Solenoid valve
3. Proximity switch for pneumatic cylinder (for "locking
pin up" recognition)
4. Proximity switch for adjustment unit(for conveyor side
recognition)
The proximity switch (3) on the adjustment unit cylinder
should operate when the adjustment unit pin is pushed
out by the pneumatic cylinder and therefore connected to
the conveyor rail. This signal enables the width adjust
-
ment motor.
NOTICE
Setting
The proximity switch on the pneumatic cylinder is set in its engaged state.
The proximity switch is off when the cylinder is extended into free space.