00193922-01.pdf - 第253页
User Manual SIPLAC E HF Series 6 Component han dling Software Version SR.505.xx 05/2004 US Edition 6.2 Technical data for the feeders 253 PLEA SE NOT E – The man ual tray ca n be s et up at the follow ing loca tions: HF …

6 Component handling User Manual SIPLACE HF Series
6.2 Technical data for the feeders Software Version SR.505.xx 05/2004 US Edition
252
6.2.16 Support for waffle-pack trays (manual tray)
The support for waffle-pack trays allows components to be picked up from individual waffle-pack
trays. The waffle-pack trays are changed manually. 6
6
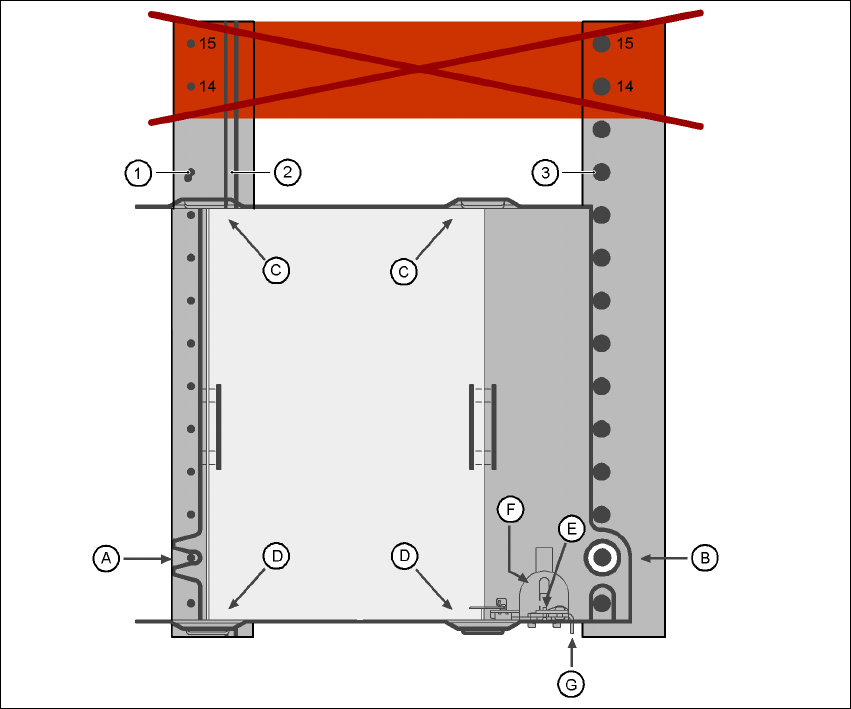
Fig. 6.2 - 16 Installation
(1) Centering pins
(2) Magnetic rail
(3) Centering ball
(14), (15) This position must not be filled.
The support for waffle-pack trays is placed on the component feeder table, just like a conveyor.
There are two different versions of the support, the only difference being the width. 6
Support for large waffle tray (260x360mm², fills 9 locations)
part no. 00116430-01 and 6
Support for small waffle tray (136x360mm², fills 5 locations)
part no. 00116432-01 6

User Manual SIPLACE HF Series 6 Component handling
Software Version SR.505.xx 05/2004 US Edition 6.2 Technical data for the feeders
253
PLEASE NOTE
– The manual tray can be set up at the following locations:
HF placement machine: locations 2 and 4
HF/3 placement machine: location 2
Feeder locations 14 and 15
must not be filled
.
– The manual tray and the nozzle changer cannot be used at the same time at location 4.
– The component trolley cannot be docked in/out while the tray is fitted.
6.2.16.1 Assembly
Æ Insert the front side of the support for waffle-pack trays into the associated centering pin (A in
Fig. 6.2 - 16
).
Æ Then position the hole on the rear side of the support for the waffle-pack tray onto the center-
ing ball on the component feeder table (B in Fig. 6.2 - 16
).
Æ Make sure the waffle-pack tray is resting securely on the component feeder table.
Æ Position one side of the waffle-pack tray carrier in the mounting (C in Fig. 6.2 - 16). Then press
the other side into the mounting (D in Fig. 6.2 - 16
).
Æ Slide the waffle-pack tray up against the stop (E in Fig. 6.2 - 16).
Æ Secure the waffle-pack tray carrier by pressing the thrust pad (F in Fig. 6.2 - 16) downwards.
Æ To remove the waffle-pack tray carrier, press the thrust pad once more.
NOTE
Using the support for small waffle-pack trays (136mm) a waffle-pack tray (JEDEC or CENELEC
waffle-pack tray) can be fitted directly to the support, in other words, without a waffle-pack tray
carrier being used. However, the thrust pad will require changing. 6
WARNING 6
All locations must be equipped with feeders in order to guarantee operational reliability.
If there are not enough feeders available, unassigned locations should be fitted with a hand
guard (dummy feeder). When a waffle-pack tray (manual tray) is set up, the remaining locations
should again be protected with a hand guard.
6.2.16.2 Changing the retainer
Æ Hold the retainer (G in Fig. 6.2 - 16) firmly. Press the thrust pad downwards (F in Fig. 6.2 - 16)
and remove the retainer by pressing it out sideways.

6 Component handling User Manual SIPLACE HF Series
6.2 Technical data for the feeders Software Version SR.505.xx 05/2004 US Edition
254
6.2.16.3 Data entry
Define the waffle-pack trays as described in the SIPLACE Pro operating instructions. 6
6.2.17 Dip module
6
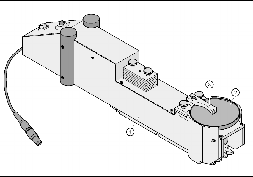
Fig. 6.2 - 17 Dip module
(1) Dip module
(2) Rotating plate
(3) Squeegee
6.2.17.1 Principle of dip fluxing
The dip module (item 1) is used to wet flip-chip and CSP components with flux or conductive ad-
hesive.The flux holder is a rotating plate (item 2) on which a thin film of flux (e.g. 40 µm) is created
with a squeegee (item 3). This method is particularly suitable for highly viscous (honey-like) fluxes.
The amount of flux required for the process is reduced to a minimum coating thickness since only
the undersides of the bumps have to be wetted.
The dip module is suitable for all placement heads. It is regarded as a standalone type of conveyor
by the set-up optimization. There is no limit to the number of dip modules at the individual loca-
tions.