KE-3020_SPE_EN.pdf - 第24页
- 20 - 搭 載 グ ル ー プ エ リ ア 部 品 位 置 決 め マ ー ク 部 品 位 置 決 め マ ー ク 基 準 マ ー ク Figur e 7 Referen ce marks and com ponent s positi oning marks Basic quality of recognition marks - Copper not coated or coated - It needs to have a …

- 19 -
4.7.6. Function correcting the PWB positions
Field of vision for recognizing the PWB reference marks
□6. 3 mm (camera’s field of vision for recognition).
Figure 6 Field of vision for recognizing the PWB reference marks
Window size for recognizing the PWB reference marks
This size can be changed within a maximum of 6.3 mm, subject to securing a clearance
between the recognition mark and its surrounding area.
Kinds of recognition marks and corrective method
- PWB reference mark
Two or three marks are located on a PWB to correct the entire PWB.
When a machine detects two PWB reference marks, it corrects the positioning, angle and
expansion/contraction of the entire PWB. When detecting three PWB reference marks,
it corrects the perpendicularity in the X and Y direction also.
- Component positioning marks
If a component such as an IC (QFP) needs to be placed on a board very precisely, two or
three marks set on a component itself are used to correct each component placement
position.
- Marks used to position the component area
Two marks (their positions can be set as you like) are to be provided to a group of
components placement positions, and they are used to correct each component
placement position in the group.
Note
:
The position is arbitrary, subject to not aligning three (3) reference makes,
if this is the case, on one (1) straight line. (It is recommended that the reference marks should
be made at the four (4) corners of the PWBs.
Field of vision for PWBs recognition
Recognition mark
PWB
6.3mm
6.3mm

- 20 -
搭 載 グ ル ー プ
エ リ ア 部 品 位 置 決 め マ ー ク
部 品 位 置 決 め マ ー ク
基 準 マ ー ク
Figure 7 Reference marks and components positioning marks
Basic quality of recognition marks
- Copper not coated or coated
- It needs to have a clear contrast between the recognition mark surface and the print
wiring quality.
- It needs to have neither oxidation nor quality deterioration of the recognition marks.
Coating the recognition marks
The recognition mark surfaces shall all be coated as follows:
- Transparent antioxidant coating - Solder plating
- Nickel plating - Gold plating
- Tin plating - Hot air repeller solder coating
Marking forms
- The standard marks represent the thirteen (13) forms as shown in the following block,
“Forms of Recognition Marks.”
- For any mark other than those shown in the said block, customers shall make templates
to allow for recognition through a pattern matching.
Note 1: Up to three PWB reference marks and up to six component placement area
positioning marks are supported.
Note 2: Within a field of vision, there should be no similar form pattern other than the
subjected form patterns.
- For regular triangles, checker patterns and users’ templates, the 90°up-side-down
marks can also be recognized.
Circle
Square
Diamond
Regular
triangle
Up-side-down
triangle
Checker
pattern
Cross
Inside-blank
circle
Inside-blank
square
Inside-blank
diamond
Inside-blank
up-side-down
triangle
Checker
pattern
Inside-blank
Regular
triangle
Figure 8 Forms of Recognition Marks
The recognition marks shall all comply with EIAJ ET-7302 “Recognition marks for on-surface
placed PWBs.”
Component placement
area positioning marks
Component positioning
marks
Placement group
PWB reference marks

- 21 -
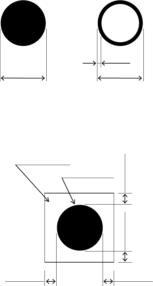
Dimensions and tolerances
The outside dimensions shall range from 0.5 mm up to 3.0mm, whose tolerance, less than
10%.
For all the inside-blank forms, the edging line width shall be more than 0.2 mm.
Figure 9
Dimensions and tolerances of recognition marks.
It is desirable that there is, around each recognition mark, a space having nothing of such
other marks as conductor pattern, solder resist, marking and the like, and that this space
dimensions is a larger square than the mark by 0.5 mm or more from the outer
circumference of the recognition marks.
Figure 10
Clearances of recognition marks
0.5
to 3.0mm
0.5 to 3.0mm
0.2 mm or more
Clearance area
Recognition mark
0.5 mm or more
0.5 mm or more
0.5 mm or more
0.5 mm or more