G5S资料(1).pdf - 第73页
1-20 5OM-1750 エア配管図及び実装図 多機能ヘッド部 ( 実装図 ) 1305-002 NOZZLE1 NOZZLE2 7 10 12 No. 名 称 個数 No. 名 称 個数 No. 名 称 個数 No. 名 称 個数 7 レギュレータ 1 10 ソレノイドバルブユニット 2 12 真空フィルタ 2

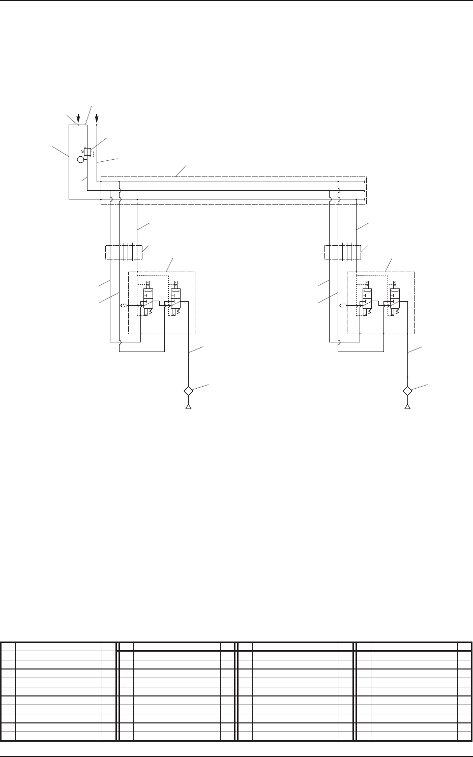
1-19
5OM-1750
2
1
SETUP
0.025MPa
3
Air IN Vacuum
11
10
Nozzle 1
5
6
7
8
9
12
13
14
15
Nozzle 2
5
6
7
9
13
14
15
エア配管図及び実装図
多機能ヘッド部 ( エア配管図 )
No. 名 称 個数 No. 名 称 個数 No. 名 称 個数 No. 名 称 個数
1 チューブφ 6 1 11 ユニオンワイ 1
2 チューブφ 6 1 12 マニホールドユニット 1
3 チューブφ 6 1 13 ソレノイドバルブユニット 2
4 チューブφ 6 1 14 真空フィルタ 2
5 チューブφ 6 2 15 ロボットケーブル 2
6 チューブφ 6 2
7 チューブφ 6 2
8 チューブφ 8 1
9 チューブφ 4 2
10 レギュレータ 1
1305-002

1-20
5OM-1750
エア配管図及び実装図
多機能ヘッド部 ( 実装図 )
1305-002
NOZZLE1
NOZZLE2
7
10
12
No. 名 称 個数 No. 名 称 個数 No. 名 称 個数 No. 名 称 個数
7 レギュレータ 1
10 ソレノイドバルブユニット 2
12 真空フィルタ 2

1-21
5OM-1750
4
5
2
3
1
エア配管図及び実装図
多機能ノズルストッカ ( エア配管図 )
No. 名 称 個数 No. 名 称 個数 No. 名 称 個数 No. 名 称 個数
1 チューブφ 4 1
2 ソレノイドバルブ 1
3 スピードコントローラ 2
4 シリンダ 1
5 シリンダ 1
1305-002