KE2050、2060 Parts List.pdf.pdf - 第136页
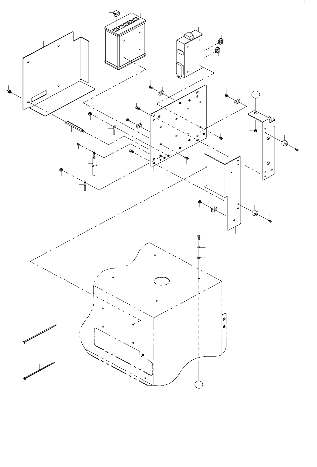
- 13 1 - 6 6 .RF ID C OM PO NEN TS (MP C) RFID 関係(MPC) 2 6 7 8 9 3 2 2 5 4 11 16 10 12 13 14 15 14 13 17 18 18 17 18 17 18 17 11 20 21 19 22 27 25 28 23 26 24 1 A A

- 130 -
NOTE( 注記 ) #01....FOR SIMPLICITY TYPE 簡易タイプ用
REF.NO NOTE PART NO D E S C R I P T I O N
品 名
Qty
1 PF-0154010-A0 AIR FILTER
エアフィルター
1
2 PF-9010070-00 FILTER ELEMENT
フィルターエレメント
(1)
3 BT-1200801-EF TUBE
チュ−ブ
1.3
4 PJ-3041200-01 ELBOW D=12
エルボφ12
1
5 BT-1200801-EF TUBE
チュ−ブ
1.3
6 BT-1000651-EB POLYURETHANE TUBE
ポリウレタン チュ−ブ
0.7
7 PJ-3031000-02 STRAGHT
ストレート
1
8 PJ-3090400-03 STRAGHT
レジュ−サ(φ 4− φ 10)
1
9 BT-0400251-EA TUBE HOSE, BLUE
ウレタンホ−ス 青
0.16
10 SL-6061692-TN BOLT
座金付き六角穴ボルト
2
11 400-31183 FILTER BRACKET
フィルタブラケット
1
12 HX-0005500-0J RUBBER BUSHING
ゴムブッシュ
1
13 E1387-700-000 HOD MAGNET
HOD マグネット
2
14 400-17146 DRAIN TANK STAY B
ドレインタンクステイ B
1
15 SL-6040892-TN BOLT
座金付き六角穴ボルト
2
16 HX-0029400-00 FIXED BASE
固定ベース
1
17 SM-4040601-SC SCREW M4X0.7 L=6
なべ小ねじ M 4 X 0.7 L =6
1
18 EA-9500B01-00 CABLE BAND
束線バンド
1
19 400-01639 AUTO DRAIN SET ASM
オートドレインセット組
1
20 400-31184 FILTER COVER U
フィルターカバー U
1
21 SM-3040652-TN SCREW M4 L=6
丸ねじ M 4 L =6
6
22 400-31185 FILTER COVER B
フィルターカバー B
1
23 SM-3040652-TN SCREW M4 L=6
丸ねじ M 4 L =6
4
24
#01
400-73378 MAIN LINE FILTER ASM SIMPLICIT
メインラインフィルタ組 簡易タイプ
1
25 PF-0154010-A0 AIR FILTER
エアフィルター
(1)
26 PF-9010070-00 FILTER ELEMENT
フィルターエレメント
(1)
27 BT-1000651-EB POLYURETHANE TUBE
ポリウレタン チューブ
(0.175)
28 400-73362 MAIN LINE FILTER BRACKET
メインラインフィルタブラケット
(1)
29 SL-4040891-SC SCREW M4 L=8
座金付なべ小ねじ M 4 L =8
(2)
30 400-73363 DRAIN TANK STAY
ドレンタンクステイ
(1)
31 400-16815 DRAIN TANK
ドレインタンク
(1)
32 BT-1200801-EF TUBE
チューブ
(0.5)
33 BT-1200801-EF TUBE
チューブ
(0.5)
34 400-73368 STRAIGHT UNION 12
ストレートユニオン φ 12
(1)
35 PJ-3041254-01 ELBOW UNION D=12
エルボユニオン φ 12
(2)
36 PJ-3041254-01 ELBOW UNION 12
エルボユニオン φ 12
2

- 131 -
66.RFID COMPONENTS (MPC)
RFID 関係(MPC)
2
6
7
8
9
3
2
2
5
4
11
16
10
12
13
14
15
14
13
17
18
18
17
18
17
18
17
11
20
21
19
22
27
25
28
23
26
24
1
A
A

- 132 -
REF.NO NOTE PART NO D E S C R I P T I O N
品 名
Qty
1 400-73032 4 PORT MPC
4ポート MPC
1
2 HX-0066000-00 DUST COVER
ダストカバー
3
3 400-73033 SWITCHING HUB
スイッチングハブ
1
4 SL-6030892-TN SCREW M3 L=8
座金付き六角穴ボルト M 3 L =8
4
5 SL-6030692-TN SCREW M3 L=6
座金付き六角穴ボルト M 3 L =6
4
6 EA-9500B01-00 CABLE BAND
束線バンド
3
7 HX-0006500-0A CABLE CLIP
束線バンド
10
8 401-22635 MPC_BR_A
MPC_BR_A
1
9 401-22636 MPC_BR_B
MPC_BR_B
1
10 401-22637 MPC_BR_C
MPC_BR_C
1
11 SL-6040892-TN BOLT
座金付き六角穴ボルト
4
12 HX-0033900-0L SPACER
スペーサ
4
13 L127E-021-000 COVER CUSHION
カバークッション
4
14 SM-6030502-TN SCREW M3 L=5
六角穴ボルト M 3 L =5
4
15 401-22638 MPC_COVER
MPC カバー
1
16 SL-6040892-TN BOLT
座金付き六角穴ボルト
4
17 HX-0029400-00 FIXED BASE
固定ベース
5
18 SM-4040601-SC SCREW M4X0.7 L=6
なべ小ねじ M 4 X 0.7 L =6
5
19 SM-3041252-TN SCREW M4 L=12
丸ねじ M 4 L =12
1
20 WS-0410002-KN SPRING WASHER M4
ばね座金 M 4
1
21 WP-0430801-SC WASHER M4
平座金 M 4
1
22 NM-6040001-SN NUT M4X0.7
六角ナット M 4
1
23 SL-4040691-SC SCREW M4 L=6
座金付きなべ小ねじ M 4 L =6
1
24 SL-4030691-SC SCREW M3 L=6
座金付きなべ小ねじ M 3 L =6
1
25 401-22506 SHIELDING TUBE
シールディングチューブ
1
26 SL-4040691-SC SCREW M4 L=6
座金付きなべ小ねじ M 4 L =6
1
27 401-22518 MPC POWER CABLE (60) ASM MPC パワー(60)ケーブル組 1
28 401-22522 RFID CONTROL BOX FG CABLE (60)
RFID コントロールボックス FG(60)
1