SE-350 450丝印SE-450II系列说明书.pdf - 第111页
深圳市劲拓自动化设备股份有限公司 S E 系列无铅波峰焊机用户手册 A . 0 - 1 1 1 - A 7 86 B 5 43 21 A B D C 7 8 6 C D 5 4 3 2 1 IT 1 2 设计 日期 审核 批准 材料 图号 比例 页码 未 注 公 差 按 执 行 欧阳平圳 日期 日期 标记 ¢ ò ¢ ? ¢ ? ¢ ó ¢ ? 更改 单 号 处数 签字 日期 Sh en Zhen JT Au to ma tion Eq…

SE 系列无铅波峰焊机用户手册 深圳市劲拓自动化设备股份有限公司 A.0
- 110 -
A
786
B
5 4321
A
B
D
C
7
8 6
C
D
5
4 3 2 1
IT12
设计 日期
审核
批准
材料
图号
比例
页码
未注公差按 执行
欧阳平圳
日期
日期
标记
¢ò
¢?
¢?
¢ó
¢?
更改单号处数 签字 日期
ShenZhen JT Automation Equipment CO.,LTD.
29
波峰焊电气原理图29
A
版本号
注:AIO5150模块按此图接
2018/01/18
A
1
-
+
-
A
1
+
A
2
-
+
-
A
2
+
A
3
-
+
-
A
3
+
A
4
-
+
-
A
4
+
A
5
-
+
-
A
5
+
A
6
-
+
-
A
6
+
A
7
-
+
-
A
7
+
A
8
-
+
-
A
8
+
0A
0B
1A
1B
2A
2B
3A
3B
4A
4B
5A
5B
6A
6B
7A
7B
AQ0+
V+V-
1L-
1L+
AIO 5150
-TC1
1 2 1 2 3 4 5
ON
AQ0-
AQ1+
AQ1-
AQ2+
AQ2-
AQ3+
AQ3-
AQ4+
AQ4-
AQ5+
AQ5-
AQ6+
AQ6-
AQ7+
AQ7-
T1-
DA-
T1+
DA+
锡炉测温
低锡测温
底部预热一
底部预热二
底部预热三
顶部预热一
顶部预热二
顶部预热三
SSR22
D20-
SSR21
SSR20
D20+
SSR1
SSR2
SSR3
SSR11
SSR12
SSR13
0A
0B
1A
1B
2A
2B
3A
3B
4A
4B
5A
5B
6A
6B
7A
7B
AQ0+
V+V-
1L-
1L+
AIO 5150
-TC2
1 2 1 2 3 4 5
ON
AQ0-
AQ1+
AQ1-
AQ2+
AQ2-
AQ3+
AQ3-
AQ4+
AQ4-
AQ5+
AQ5-
AQ6+
AQ6-
AQ7+
AQ7-
T1-
DA-
T1+
DA+
SSR0
SSR10
SSR4
D1-
D1+
D2-
D2+
D3-
D3+
D11-
D11+
D12-
D12+
D13-
D13+
A
9
-
+
-
喷雾底部预热
A
9
+
A
1
0
-
+
-
喷雾顶部预热
A
1
0
+
A
1
1
-
+
-
热补偿
A
1
1
+
A
1
2
-
+
-
冷却
A
1
2
+
注:有图中选配时接入

深圳市劲拓自动化设备股份有限公司 SE系列无铅波峰焊机用户手册 A.0
- 111 -
A
786
B
5 4321
A
B
D
C
7
8 6
C
D
5
4 3 2 1
IT12
设计 日期
审核
批准
材料
图号
比例
页码
未
注
公
差
按
执
行
欧阳平圳
日期
日期
标记
¢
ò
¢
?
¢
?
¢
ó
¢
?
更改单号处数 签字 日期
ShenZhen JT Automation Equipment CO.,LTD.
29
波峰焊电气原理图29
A
版本号
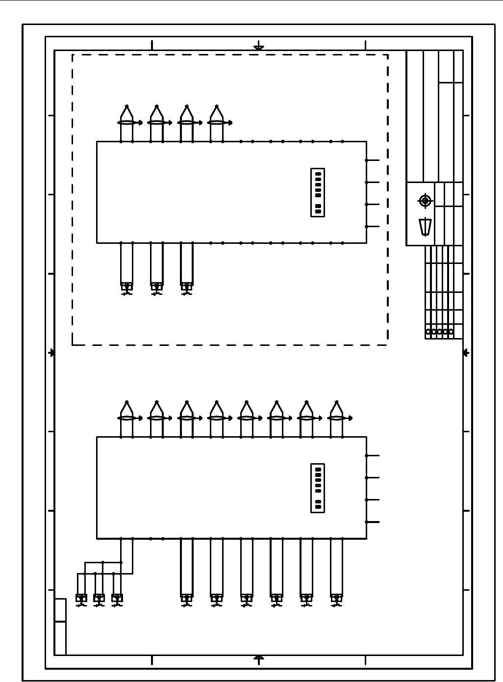
注:MTC模块按此图接
A
1
-
+
-
锡炉测温
A
1
+
A
2
-
+
-
低锡测温
A
2
+
A
3
-
+
-
底部预热一
A
3
+
A
4
-
+
-
底部预热二
A
4
+
A
5
-
+
-
底部预热三
A
5
+
A
6
-
+
-
顶部预热一
A
6
+
A
7
-
+
-
顶部预热二
A
7
+
A
8
-
+
-
顶部预热三
A
8
+
L1+
L1-
L2+
L2-
L3+
L3-
L4+
L4
L5+
L5-
L6+
L6-
L7+
L7-
L8+
L8-
SSR22
SSR1
OUT1
OUT2
OUT3
OUT4
COM0
OUT5
OUT6
OUT7
OUT8
COM1
24V-
24V+
PE
D20-
SSR2
D1-
D2-
SSR11
D3-
SSR12
D11-
SSR13
D12-
D13-
SSR3
SSR21
D20-
SSR20
D20-
A
9
-
+
-
喷雾底部预热
A
9
+
A
1
0
-
+
-
喷雾顶部预热
A
1
0
+
A
1
1
-
+
-
热补偿
A
1
1
+
A
1
2
-
+
-
冷却
A
1
2
+
L1+
L1-
L2+
L2-
L3+
L3-
L4+
L4
SSR0
SSR4
OUT1
OUT2
OUT3
OUT4
COM0
24V-
24V+
PE
D0-
D4-
SSR10
D10-
1L+
1L-
485-485+ 485-485+
注:选配时接
DA+
DA-
DA+
DA-
MTC-08 MTC-04
-TC1 -TC2
模块地址旋钮:1 模块地址旋钮:2
1 2 3 4 5 6 7 8
ON
1 2 3 4 5 6 7 8
ON
2018/01/18

SE 系列无铅波峰焊机用户手册 深圳市劲拓自动化设备股份有限公司 A.0
- 112 -
7.6
清单(易损件 、易耗品、工具)
产品物料清单(易损件)
序号
元件品号
品
名
规
格
单位
1
21230018
继电器
G2R-2 24VDC OMRON pcs
2
21230010
继电器
RMIA4-5230AC
佳乐
pcs
3
26210004
节能灯管
11W
螺口
≤120mm
白光
飞利浦
pcs