Nordson_EFD_GV_Series_Operating_Manual.pdf - 第98页
GV Series Automated Dispensing Systems 98 www.nordsonefd.com info@nordsonefd.com +1-401-431-7000 Sales and service of Nordson EFD dispensing systems are available worldwide. AppendixA, Command Function Refer ence This a…

GV Series Automated Dispensing Systems
97www.nordsonefd.com info@nordsonefd.com +1-401-431-7000 Sales and service of Nordson EFD dispensing systems are available worldwide.
Example Input / Output Connections
You can use the I/O Port and Ext. Control port on the back of the robot to connect a variety of inputs and outputs. A
spare connector is also provided with the system. The following schematics show typical examples of input / output
connections to a robot.
Inputs
Pin 25
PLC Output (+24V)
PLC
SW1
Robot
I/O Port
+24VDC
Robot
I/O Port
Pin 2
Input 2
Pin 11
Ground
Pin 1
Input 1
PLC Ground
Outputs
External Device Powered by the Robot
Pin 24
Device
Robot
I/O Port
+24VDC
Pin 11
Ground
Courtesy +24 VDC output is rated at 3.0 Amp.
Start and Emergency Stop (ESTOP) Connections to Ext. Control
Pin 2
ESTOP
Start signal
Ext. Control port
Pin 7
Emergency
stop
Pin 1
Ground
Ext. Control port
SW1
Pin 6
Emergency
stop
Pin 14
+24V In
Device
LED 1
Robot
I/O Port
Output 1
Robot
I/O Port
Pin 15
Output 2
Pin 11
Ground
Pin 11
Ground
Ground
Outputs are rated at 125 mA.
Technical Data (continued)

GV Series Automated Dispensing Systems
98 www.nordsonefd.com info@nordsonefd.com +1-401-431-7000 Sales and service of Nordson EFD dispensing systems are available worldwide.
AppendixA, Command Function Reference
This appendix provides detailed information for each setup and dispense command. Commands are in alphabetical
order.
The following rules apply to all commands:
• A command is in effect until it is superseded by another command.
• Command settings override system settings.
Acceleration
Click Function
Controls the acceleration of the robot from point to point (ptp) or along a continuous path (cp). In general, the
value of this parameter is inversely related to the robot’s acceleration.
Parameter Description
0:ptp 1:cp Toggles the acceleration control between point to point (ptp) or continuous path (cp).
Value Sets the rate of acceleration from point to point or on a continuous path.
Range: 20–600 (mm/s
2
)
Arc Point
Click Function
Registers the current XYZ location as an Arc Point. Arc Points dispense fluid along an arched path.
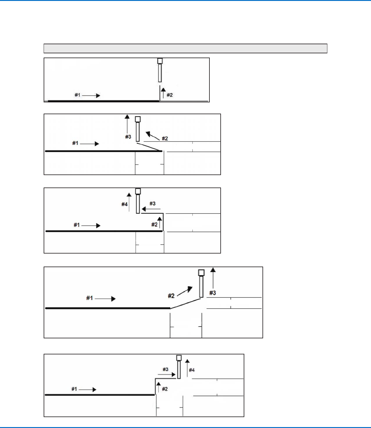
Backtrack Setup
Click Function
Sets how the dispensing tip raises at the end of line dispensing. This is useful for high-viscosity or stringy fluids
to control where the fluid tail falls. The illustrations on the next page provide a visual representation of the
Backtrack Setup selections.
Parameter Description
Backtrack Length Distance the dispensing tip travels away from the Line End point.
Backtrack Gap Distance the dispensing tip raises as it moves away from the Line End point. This value
must be less than the Z Clearance value for that point.
Backtrack Speed Speed at which the dispensing tip moves either (1) back and up along the retract path
to reverse direction after line dispensing or (2) forward and up at an angle after line
dispensing.
Type
0 or blank (Normal) The dispensing tip moves straight up for the height entered for
Backtrack Gap.
1 (Back) The dispensing tip moves backward at an angle for the distance and
height entered for Backtrack Length and Backtrack Gap.
2 (Square Back) The dispensing tip moves up and then back at the distance and
height entered for Backtrack Length and Backtrack Gap.
3 (Forward) The dispensing tip moves forward at an angle for the distance and
height entered for Backtrack Length and Backtrack Gap.
4 (Square Forward) The dispensing tip moves up and then forward for the distance and
height entered for Backtrack Length and Backtrack Gap.

GV Series Automated Dispensing Systems
99www.nordsonefd.com info@nordsonefd.com +1-401-431-7000 Sales and service of Nordson EFD dispensing systems are available worldwide.
Appendix A, Command Function Reference
(continued)
Backtrack Setup (continued)
Example illustrations of Backtrack Setup
0 or blank (Normal)
Backtrack Gap
1 (Back)
Backtrack Gap
Backtrack
Length
2 (Square Back)
Backtrack Gap
Backtrack
Length
3 (Forward)
Backtrack Gap
Backtrack
Length
4 (Square Forward)
Backtrack Gap
Backtrack
Length