CP6的IO代码.pdf - 第72页
3.3 Loading System CP-642 Conveyor I/O Address LX003 LX004 X024 X034 LX008 LX009 X024 LX00C LX00D I/O Name Description IN REDUCE POS IN PCB CONF TABLE READY CONV. CLUT. CHK MAIN REDUC POS MAIN PCB CONF TABLE READY PCB OU…

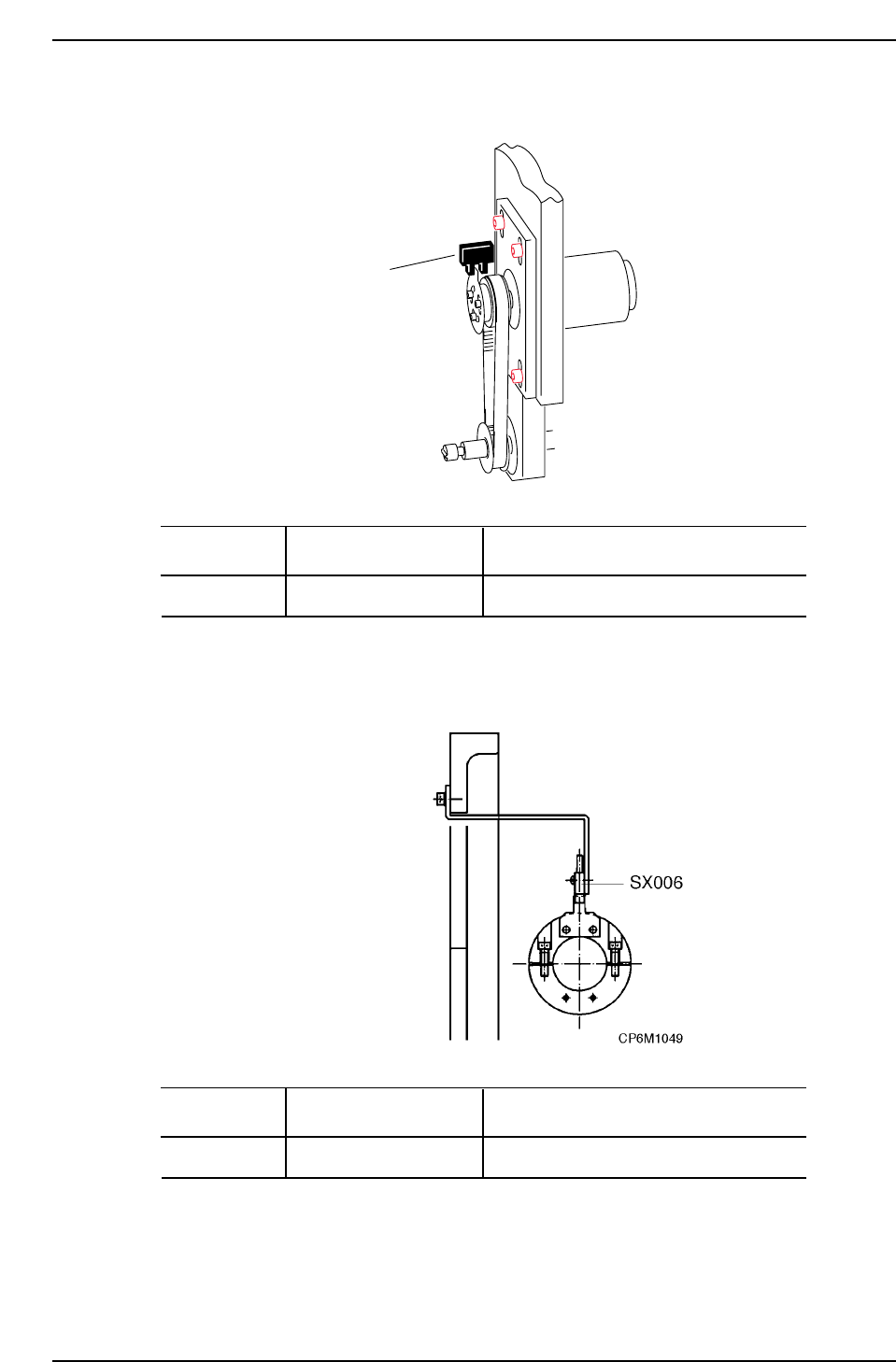
NC-Axis
Cam Axis
I/O Address
SX006
I/O Name
Description
C AXIS ZERO
Cam axis zero-setting sensor
CP6M1049a
I/O Address
SX02E
I/O Name
Description
NC AXIS ZERO
NC-axis zero-setting sensor
CP6M1048a
CP6M1048
SX02E
Part 1 Chapter 3 Sensor Positions
Edition 1.0 1-3-10 CP-6-Series Mechanical Reference

3.3 Loading System
CP-642 Conveyor
I/O Address
LX003
LX004
X024
X034
LX008
LX009
X024
LX00C
LX00D
I/O Name
Description
IN REDUCE POS
IN PCB CONF
TABLE READY
CONV. CLUT. CHK
MAIN REDUC POS
MAIN PCB CONF
TABLE READY
PCB OUT CHK
OUT PCB CONF
In-conveyor deceleration position
In-conveyor board arrival
Table movement permissible
Follow up rail clutch engaged
Main conveyor deceleration position
Main conveyor board arrival
Table movement permissible
Out-conveyor board unloading
Out-conveyor board arrival
CP6M1050a
LX003
LX004
X024
X024
LX008
LX009
LX00C
LX00D
X034
CP6M1050
Part 1 Chapter 3 Sensor Positions
Edition 1.0 1-3-11 CP-6-Series Mechanical Reference

CP-643E Conveyor
I/O Address
LX017
LX044/45
LX040/41
LX018/19
X035
X034
X060/62
X061/63
LX038/39
LX03C
LX04A/4B
LX04E/4F
LX03D
I/O Name
Description
IN CNV PCB IN
IN CRRY OP LR/LF
IN CRRY CL LF/LR
IN CRRY 1/2 PCB
FLWUP RAIL IN
FLWUP RAIL OUT
M-LFT CLMP/UNCLMP F
M-LFT CLMP/UNCLMP R
OUT CRRY 1/2 PCB
OUT CRRY FD ED
OUT CRRY CL RF/RR
OUT CRRY OP RF/RR
OUT CRRY BD ED
In-carrier board loaded
In-carrier left-front/rear open
In-carrier left-front/rear closed
In-carrier 1/2 board arrival
Follw-up rail clutch engaged (inside)
Follw-up rail clutch engaged (outside)
Main lifter board clamp/unclamp (front)
Main lifter board clamp/unclamp (rear)
Out-carrier 1/2 board arrival
Out-carrier advance end
Out-carrier right front/rear closed
Out-carrier right front/rear open
Out-carrier retract end
CP6M1051a
LX017
LX044/45
LX040/41
LX04E/4F
LX04A/4B
LX03D
LX03C
LX018/19
LX038/39
X060/62
X061/63
X035
X034
CP6M1051
Part 1 Chapter 3 Sensor Positions
Edition 1.0 1-3-12 CP-6-Series Mechanical Reference