CP6的IO代码.pdf - 第75页
In/Out Lifter I/O Address LX01E/3E LX01F/3F I/O Name Description IN/OUT LFTR UP END IN/OUT LFTR DN END In/out lifter upper end In/out lifter lower end CP6M1053a LX01E/3E LX01F/3F CP6M1054 Part 1 Chapter 3 Sensor Position…

In PCB Bracket
Out PCB Bracket
I/O Address
LX00F
LX00C
LX00E
I/O Name
Description
OUT 2 PCB CONF
OUT 1/2 PCB GAP
OUT 1 PCB CONF
Out-conveyor 2 board arrival
Out-conveyor 1/2 board clearance
Out-conveyor 1 board arrival
CP6M1053a
LX00F
LX00E
LX00C
CP6M1053
I/O Address
LX008
LX009
LX007
LX003
LX004
I/O Name
Description
IN2 REDUCED POS
IN2 PCB CONF
IN1/2 PCB GAP
IN1 REDUCE POS
IN1 PCB CONF
In-conveyor 2 board deceleration position
In-conveyor 2 board arrival
In-conveyor 1/2 board clearance
In-conveyor 1 board deceleration position
In-conveyor 1 board arrival
CP6M1052a
LX008 LX009
LX007
LX003
LX004
CP6M1052
Part 1 Chapter 3 Sensor Positions
Edition 1.0 1-3-13 CP-6-Series Mechanical Reference

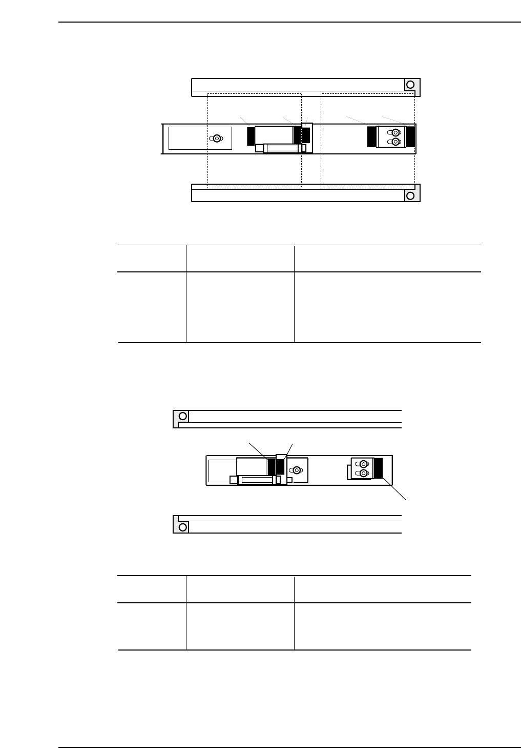
In/Out Lifter
I/O Address
LX01E/3E
LX01F/3F
I/O Name
Description
IN/OUT LFTR UP END
IN/OUT LFTR DN END
In/out lifter upper end
In/out lifter lower end
CP6M1053a
LX01E/3E
LX01F/3F
CP6M1054
Part 1 Chapter 3 Sensor Positions
Edition 1.0 1-3-14 CP-6-Series Mechanical Reference

Part 2
Preparation for
Production