Q124783B09.pdf - 第115页
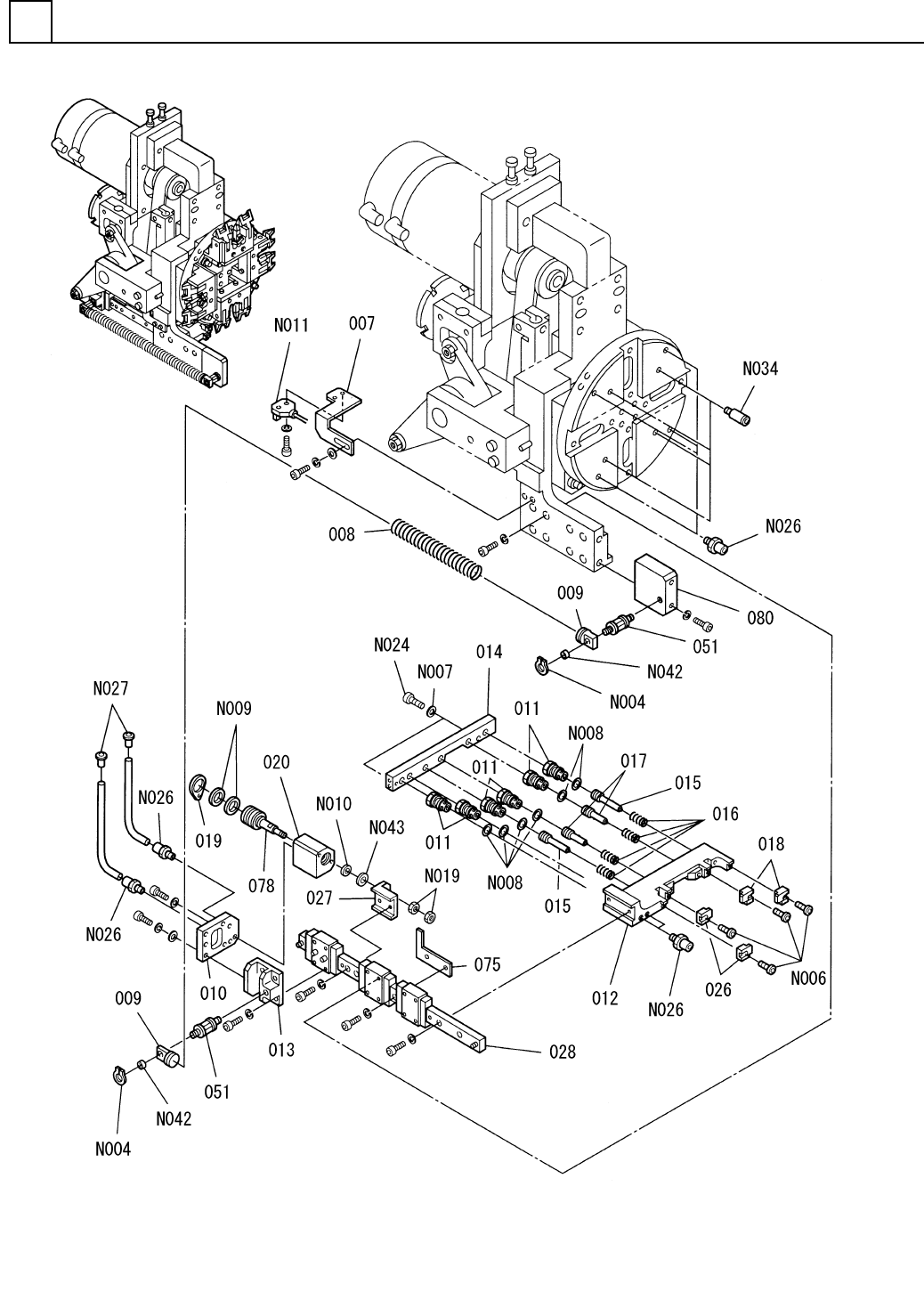
PART NAME REMARKS Q'TY 8 移載チャック部(3) TRANSFER CH UCK SECT.(3) イラスト No. REF No. PART No. 部 品 品 番 個数 備 考 R 1 R 2 1 007 108711100702 BRACKET ブラケット 1 008 1087111008 SPRING バネ 2 009 108711100902 HOOK フック 1 010 108711101…

移載チャック部(3)
TRANSFER CHUCK SECT.(3)
8
F10871-11-000-AE_01-3
M97

PART NAME
REMARKS
Q'TY
8
移載チャック部(3)
TRANSFER CHUCK SECT.(3)
イラスト
No.
REF
No.
PART No.
部 品 品 番 個数 備 考
R
1
R
2
1007 108711100702
BRACKET ブラケット
1
008 1087111008
SPRING バネ
2
009 108711100902
HOOK フック
1010 1087111010
PLATE(GUIDE) プレート(ガイド)
6011 108711101101
SPACER スペーサ
1
012 108711101201
SLIDER スライダ
1
013 108711101302
BLOCK(GUIDE) ブロック(ガイド)
1014 1087111014
CAP キャップ
2015 108381101501
PISTON ピストン
4
016 104131100803
SPRING バネ
2017 108381101701
PISTON ピストン
2018 1087111018
BLOCK(R) ブロック(R)
1
019 108711101901
PACKING パッキン
1
020 108711102001
HOUSING ハウジング
2026 1087111026
BLOCK(L) ブロック(L)
1027 108711102702
BRACKET ブラケット
1
028 1087111028
LINEAR MOTION UNIT リニアモーションユニット
2
051 108711105102
PIN ピン
1075 108711107502
DOG FOR SENSOR ドグ
1078 108711107803
PISTON ピストン
1
080 108711108002
BLOCK ブロック
6,STEEL,P.C
2
N004
XUB6FP
RETAINING RING C-TYPE,SHAFT C ガタジクヨウトメワ
FECAP-2X5-3CR-202
4
N006
N510015919AA
HEX. SOCKET HEAD CAP BOLT ロッカクアナツキボルト
2,2-TYPE,STEEL,P.C
2
N007
XWA2BFP
SPRING WASHER バネザガネ
CO3835A
6
N008
N554C03835A
O-RING O リング
MYA-12
2
N009
N555MYA12
PACKING パッキン
MYA-5
1
N010
N555MYA5
PACKING パッキン
EE-SX871
1
N011
N310EESX871
SENSOR センサ
M3,1-TYPE,STEEL,Z.C.T
2
N019
XNG3AFY
HEXAGON NUT ロッカクナット
M2X12,STEEL,P.C
2
N024
XVE2B12FP
HEX. SOCKET HEAD CAP BOLT ロッカクアナツキボルト
M-5H-4
8
N026
N431M5H4
FITTING ホースニップル
R2.5X0.5
2
N027
N473R2.50.5
ORIFICE RING オリフィスリング
KJH04-M5
4
N034
N431KJH04M5
FITTING ハーフユニオン
2
N042
N520LFZB66
BUSHING ブッシュ
1
N043
N560WSSB1451
WASHER ワッシャ
M98
F10871-11-000-AE_01-3

移載チャック部(4)
TRANSFER CHUCK SECT.(4)
8
F10871-11-000-AE_01-4
M99