Q124783B09.pdf - 第161页
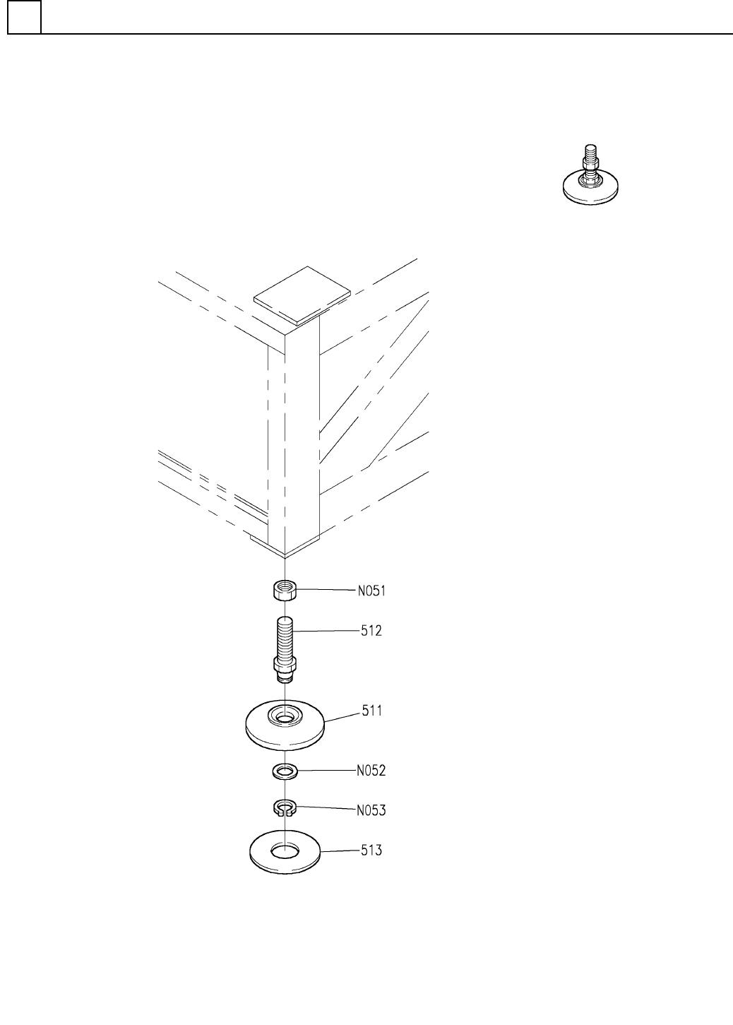
PART NAME REMARKS Q'TY 19 アジャストボルト部 ADJUST BOLT SECT. イラスト No. REF No. PART No. 部 品 品 番 個数 備 考 R 1 R 2 1 1043889510 ADJUSTING BO LT アジャストボルト 1 511 104388950102 STAND スタンド 1 512 104388951201 BOLT ボルト 1 513 1043…

アジャストボルト部
ADJUST BOLT SECT.
19
F10438-89-510-AA_B
M143

PART NAME
REMARKS
Q'TY
19
アジャストボルト部
ADJUST BOLT SECT.
イラスト
No.
REF
No.
PART No.
部 品 品 番 個数 備 考
R
1
R
2
1 1043889510
ADJUSTING BOLT アジャストボルト
1
511 104388950102
STAND スタンド
1
512 104388951201
BOLT ボルト
1513 104388950301
RUBBER ラバー
M30,3-TYPE,STEEL,P.C
1
N051
XNH30FFP
HEXAGON NUT ロッカクナット
USR32
1
N052
N986USR32
SPACER スペーサ
30,STEEL,P.C
1
N053
XUB30FP
RETAINING RING C-TYPE, SHAF C ガタジクヨウトメワ
M144
F10438-89-510-AA_B

表示ラベル部(1)
INDICATION LABEL SECT.(1)
20
F10871-02-900-AE_01-1
M145