Q124783B09.pdf - 第288页
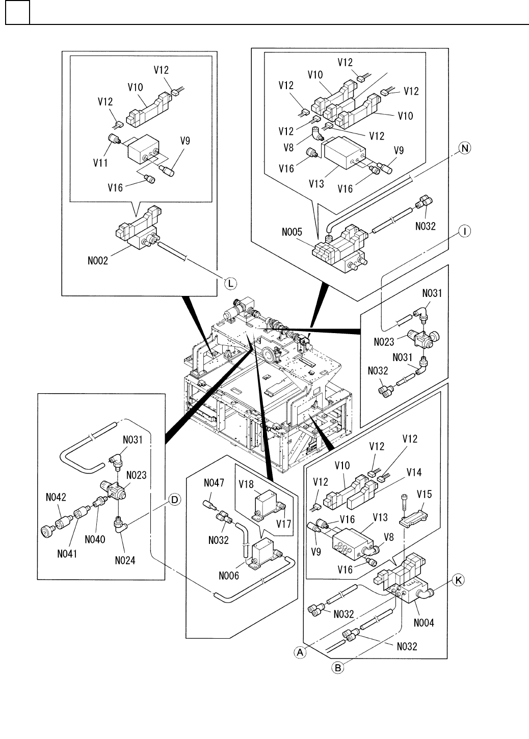
PART NAME REMARKS Q'TY 1 空圧制御部 (1) PNEUMATIC S YSTEM SECT.(1) イラスト No. REF No. PART No. 部 品 品 番 個数 備 考 R 1 R 2 1 1087103000 PNEUMATIC SY STEM クウアツセイギョユニット 1 003 1046951205 BRACKET ブラケット NK-80536-2 1 N001 N411NK805…

空圧制御部(1)
PNEUMATIC SYSTEM SECT.(1)
1
F10871-03-000-AE_A-1
P1

PART NAME
REMARKS
Q'TY
1
空圧制御部(1)
PNEUMATIC SYSTEM SECT.(1)
イラスト
No.
REF
No.
PART No.
部 品 品 番 個数 備 考
R
1
R
2
1 1087103000
PNEUMATIC SYSTEM クウアツセイギョユニット
1
003 1046951205
BRACKET ブラケット
NK-80536-2
1
N001
N411NK805362
OIL MIST SEPARATOR WITH/R オイルミストセパレータレギュレータ
NK-80533-1
1
N003
N411NK805331
SOLENOID VALVE ソレノイドバルブ
KQ2T10-00
2
N008
N431KQ2T1000
FITTING ツギテ
KQ2E10-00
2
N009
N431KQ2E1000
FITTING ツギテ
KQ2E06-00
4
N010
N431KQ2E0600
FITTING ツギテ
KQ2P-10
2
N011
N433KQ2P10
PLUG プラグ
KQ2P-06
2
N012
N433KQ2P06
PLUG プラグ
KQ2U10-00
2
N013
N431KQ2U1000
FITTING ツギテ
KQ2X06-08
1
N014
N431KQ2X0608
FITTING ツギテ
KQ2H12-03S
2
N015
N431KQ2H-152
FITTING ツギテ
D6.0XD10.0
1
N017
N434YYYY-003
TUBE チューブ
TF225
1
N018
N434TF225
TUBE チューブ
30-06,YELLOW
1
N019
N4356UHY
TUBE チューブ
30-06,BLACK
1
N020
N4356UHK
TUBE チューブ
30-10,BLACK
1
N022
N435AUHK
TUBE チューブ
KQ2U10-99
1
N025
N431KQ2U1099
FITTING ツギテ
LN-3-3
2
N026
N431LN33
FITTING ツギテ
AKH06B-02S
1
N028
N413AKH0-421
VALVE バルブ
AL20-02B
1
N029
N510000725AA
LUBRICATOR ルブリケータ
AMC220-02B
1
N030
N418AMC2-007
EXHAUST UNIT FOR OIL MIST エキゾーストクリーナ
KQ2U06-00
1
N032
N431KQ2U0600
FITTING ツギテ
KQ2N06-08
2
N035
N431KQ2N0608
FITTING ツギテ
KQ2L08-99
2
N036
N431KQ2L0899
FITTING ツギテ
KQ2H08-10
3
N037
N431KQ2H0810
FITTING ツギテ
C-555-35
1
N038
N980C55535
KEY キー
HBV6-6
1
N039
N413HBV66
VALVE バルブ
KQ2LU10-00
1
N043
N431KQ2L-245
FITTING ツギテ
KQ2Z10-02S
1
N044
N431KQ2Z-195
FITTING エルボ
CPP20-12CB
1
N045
N431CPP2-235
FITTING ツギテ
CPS20-03B
1
N046
N431CPS2003B
FITTING ツギテ
KQ2H06-02S
1
N050
N431KQ2H-180
FITTING ツギテ
AMC-EL2
1V 1 N418AMCEL2
ELEMENT エレメント
21590065
1V 2 N45221590065
BOTTLE ボトル
13242
1
V 3 N45213242
FILTER ELEMENT フィルタエレメント
13244
2
V 4 N45213244
GASKET ガスケット
13243
1V 5 N45213243
CAP キャップ
KQ2L06-99
1V 6 N431KQ2L0699
FITTING ツギテ
VQ31A1-5GZ-C10-F-Q
1
V 7 N411VQ31-936
SOLENOID VALVE ソレノイドバルブ
P2
F10871-03-000-AE_A-1

空圧制御部(2)
PNEUMATIC SYSTEM SECT.(2)
1
F10871-03-000-AE_A-2
P3