Q124783B09.pdf - 第157页
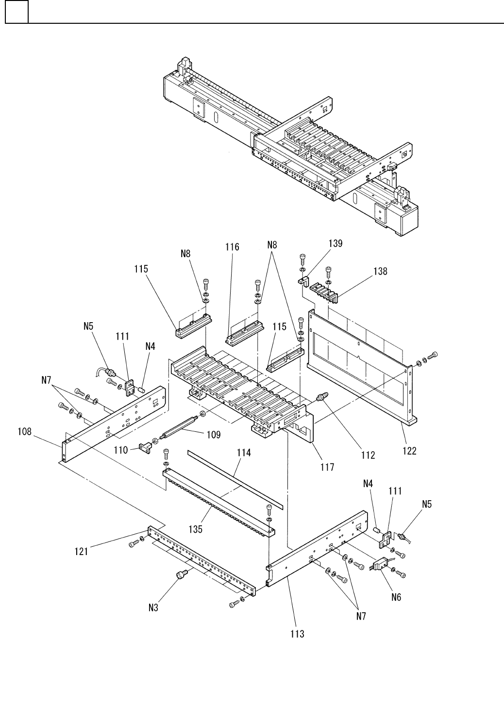
PART NAME REMARKS Q'TY 18 部品供給部 (2) FEEDER CARR IAGE SECT.(2) イラスト No. REF No. PART No. 部 品 品 番 個数 備 考 R 1 R 2 1 119 1087107025 BRACKET ブラケット 4 120 104690703104 BRACKET ブラケット 1 125 108710703201 DOG FOR SENS OR ドク…

部品供給部(2)
FEEDER CARRIAGE SECT.(2)
18
F10871-07-100-2
M139

PART NAME
REMARKS
Q'TY
18
部品供給部(2)
FEEDER CARRIAGE SECT.(2)
イラスト
No.
REF
No.
PART No.
部 品 品 番 個数 備 考
R
1
R
2
1119 1087107025
BRACKET ブラケット
4
120 104690703104
BRACKET ブラケット
1
125 108710703201
DOG FOR SENSOR ドグ
1127 108710703602
DOG FOR SENSOR ドグ
1129 1087107129
BRACKET ブラケット
1
130 108710704202
BRACKET ブラケット
1
131 108710704301
BRACKET ブラケット
1132 104690705201
BRACKET ブラケット
1133 104690705301
BRACKET ブラケット
1
134 1046907054
COVER カバー
1137 104690705703
PLATE プレート
250-03-055-0-32-2030.1
1
N 9
N9862500-T61
FLEXIBLE DUCT フレキシブルダクト
5X20,m6A,STEEL
2
N 11
XPJ5A20FW
PARALLEL PIN ヘイコウピン
M6X12
4
N 17
N986YYYY-T36
BOLT ロッカクアナツキサラボルト
M140
F10871-07-100-2

部品供給部(3)
FEEDER CARRIAGE SECT.(3)
18
F10871-07-100-3
M141