Q124783B09.pdf - 第243页
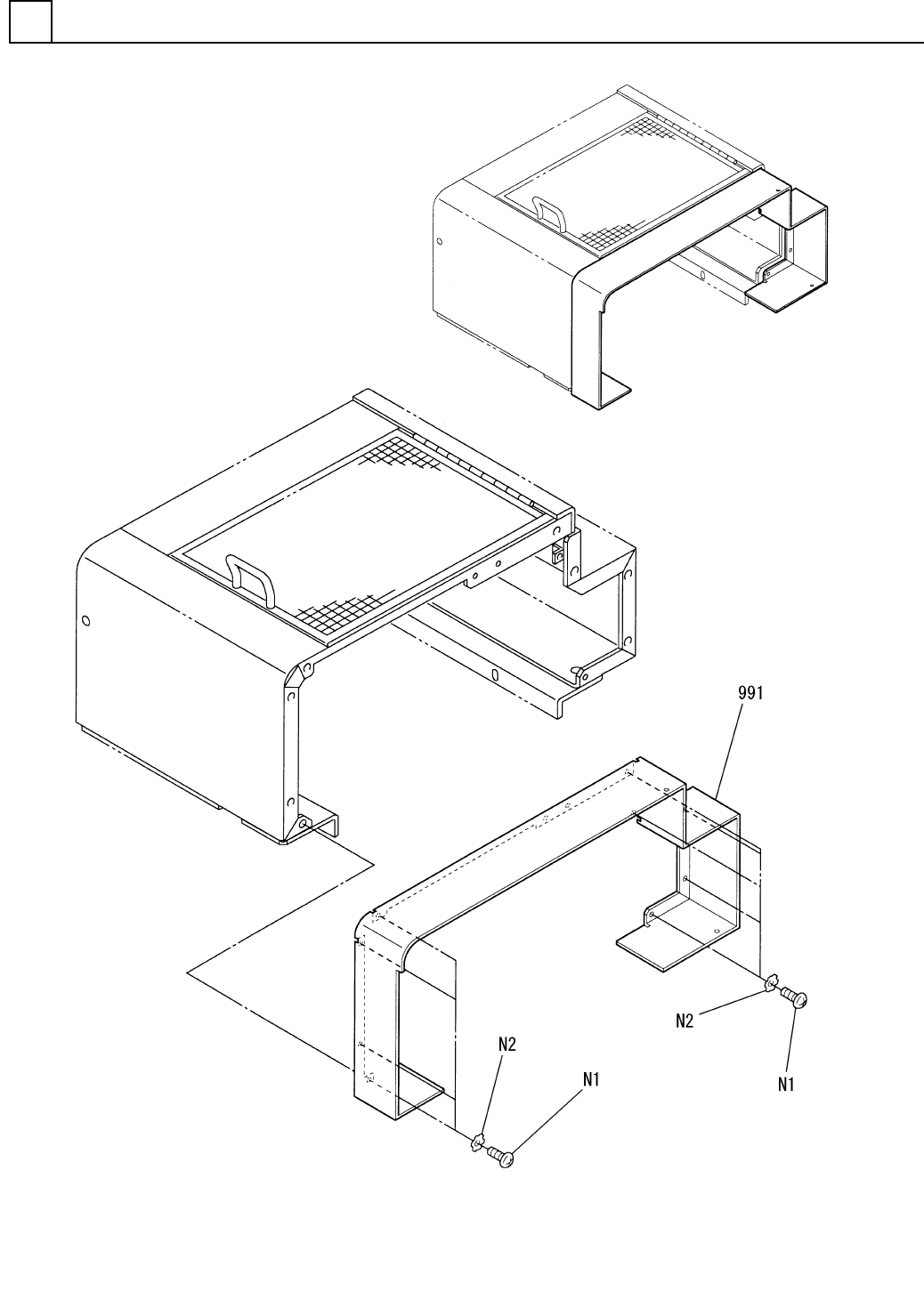
PART NAME REMARKS Q'TY 23 ローダ・アンローダ 部 (ローダカ バー部 ) LOADER & UN LOADER SECT.(LOADE R COVER SECT.) イラスト No. REF No. PART No. 部 品 品 番 個数 備 考 R 1 R 2 1 1087105990 LOADER COVER UNIT ローダカバーユニット W=93 1 991 1087105…

ローダ・アンローダ部(ローダカバー部)
LOADER & UNLOADER SECT.(LOADER COVER SECT.)
23
F10871-05-990_A
M225

PART NAME
REMARKS
Q'TY
23
ローダ・アンローダ部(ローダカバー部)
LOADER & UNLOADER SECT.(LOADER COVER SECT.)
イラスト
No.
REF
No.
PART No.
部 品 品 番 個数 備 考
R
1
R
2
1 1087105990
LOADER COVER UNIT ローダカバーユニット
W=93
1
991 1087105991
COVER カバー
M4X8,+,STEEL,Z.C.T
9
N 1 XST4+8FY
TRUSS HEAD SCREW トラスコネジ
4,B-TYPE,STEEL,Z.C.T
9N 2 XWC4BFY
TOOTHED LOCK WASHER ハツキザガネ
M226
F10871-05-990_A

テープフィーダ部<26mm>
TAPE FEEDER SECT.<26mm>
24
F10469-33-000-AC_B
M227