Q124783B09.pdf - 第23页
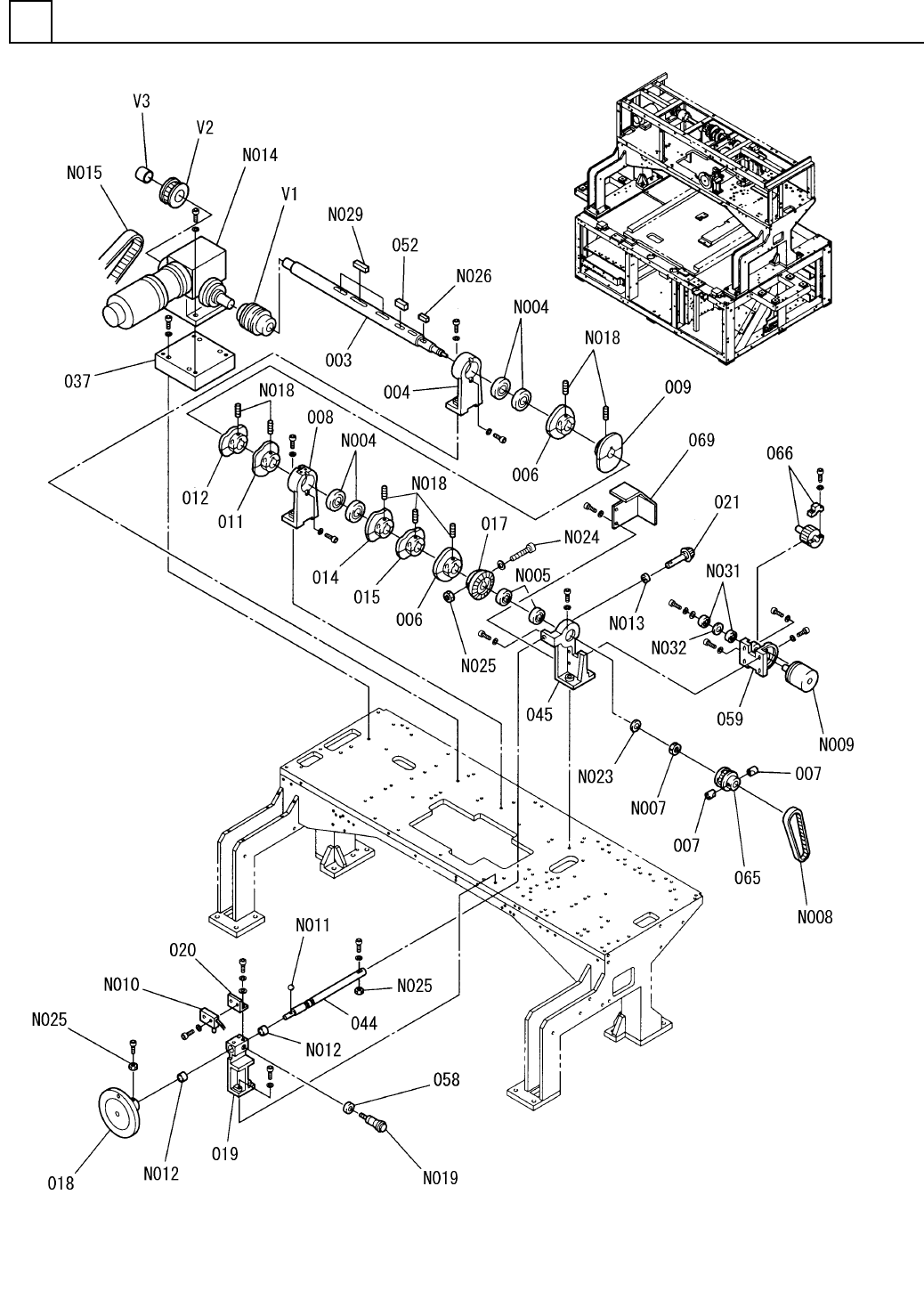
PART NAME REMARKS Q'TY 1 本体部(3) MAIN BODY S ECT.(3) イラスト No. REF No. PART No. 部 品 品 番 個数 備 考 R 1 R 2 1 002 1010422054 COTTER コッタ 1 022 104130103101 PULLEY プーリー 1 023 102460801001 COLLAR カラー 1 026 104130103902 PIN ヒ…

本体部(3)
MAIN BODY SECT.(3)
1
F10871-01-000-AJ_01-3
M5

PART NAME
REMARKS
Q'TY
1
本体部(3)
MAIN BODY SECT.(3)
イラスト
No.
REF
No.
PART No.
部 品 品 番 個数 備 考
R
1
R
2
1002 1010422054
COTTER コッタ
1
022 104130103101
PULLEY プーリー
1
023 102460801001
COLLAR カラー
1026 104130103902
PIN ピン
1027 104130104001
BRACKET ブラケット
1
028 1041301041
PULLEY プーリー
1
029 104130104203
SHAFT シャフト
1035 104130105201
COLLAR カラー
1046 1087101046
BRACKET ブラケット
1
070 108710107004
BRACKET ブラケット
1071 1999551800
TERMINAL ターミナル
1072 108710107201
BRACKET ブラケット
SFS-10G-T083MM
1
N001
N644SFS1-062
COUPLING カップリング
M6X10-45H A2J (Trivale
1
N002
N510018447AA
HEX. SOCKET SET SCREW ロッカクアナツキトメネジ
6206ZZ
4
N003
XLC6206ZZ
BALL BEARING ボールベアリング
6904ZZ
2
N016
XLC6904ZZ
BALL BEARING ボールベアリング
8X7X63,STEEL,PARALLEL,
1
N017
XPA8K7F63
SUNK KEY シズミキー
SRW20
1
N027
N560SRW20
WASHER ザガネ
SN0046
2
N028
N972SN0046
SPANNER スパナ
M6
F10871-01-000-AJ_01-3

本体部(4)
MAIN BODY SECT.(4)
1
F10871-01-000-AJ_01-4
M7