Q124783B09.pdf - 第99页
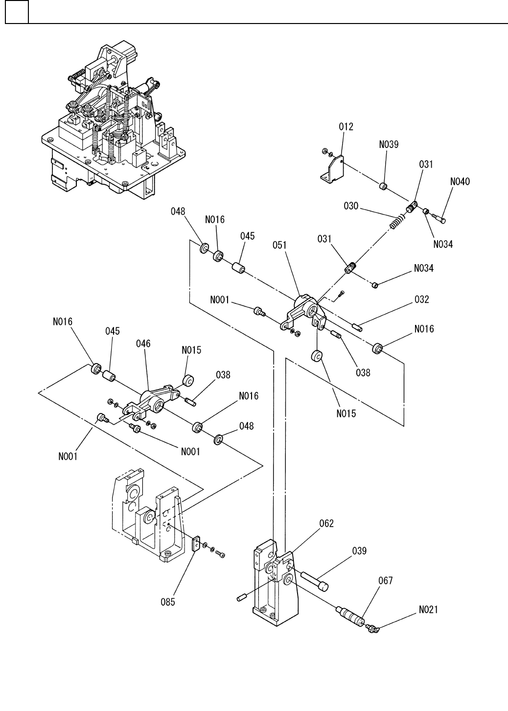
PART NAME REMARKS Q'TY 5 挿入ヘッド部(3) INSERTION H EAD SECT.(3) イラスト No. REF No. PART No. 部 品 品 番 個数 備 考 R 1 R 2 1 035 108710903501 BLOCK ブロック 1 036 1087109036 BRACKET ブラケット 1 039 108710903903 SHAFT シャフト 1 040 108710…

挿入ヘッド部(3)
INSERTION HEAD SECT.(3)
5
F10871-09-000-AF_01-3
M81

PART NAME
REMARKS
Q'TY
5
挿入ヘッド部(3)
INSERTION HEAD SECT.(3)
イラスト
No.
REF
No.
PART No.
部 品 品 番 個数 備 考
R
1
R
2
1035 108710903501
BLOCK ブロック
1
036 1087109036
BRACKET ブラケット
1
039 108710903903
SHAFT シャフト
1040 108710904003
SHAFT シャフト
1056 108710905603
LEVER レバー
1
057 108710905701
LEVER レバー
1
075 108710907501
BRACKET ブラケット
2079 108710907901
COLLAR カラー
2080 108710908002
PIN ピン
2
081 1087109081
SPRING バネ
2082 108710908201
COLLAR カラー
2083 108710908301
PIN ピン
CF6R-A
4
N001
N531CF6RA
CAM FOLLOWER カムフォロア
AS2201F-02-06S
1
N008
N406AS22-080
SPEED CONTROLLER スピードコントローラ
10,STEEL,P.C
4
N010
XUB10FP
RETAINING RING C-TYPE C ガタジクヨウトメワ
CBQ2A63-DCG9487G-20
1
N014
N401CBQ2-J03
CYLINDER シリンダ
NART10R-040010
1
N015
N531NART-016
ROLLER FOLLOWER ローラフォロア
M3X5,STEEL,P.C
1
N022
XXE3D5FP
HEX. SOCKET SET SCREW ロッカクアナツキトメネジ
AS2211F-02-06S
1
N030
N406AS22-084
SPEED CONTROLLER スピードコントローラ
6205ZZ
4
N033
XLCN6205ZZ
BEARING ベアリング
NART17R-0263135
2
N036
N531NART-056
ROLLER FOLLOWER ローラフォロア
4-13VZZ
4
N037
N648413VZZ
BEARING ベアリング
WR5
4
N038
N508WR5
COLLAR カラー
D-A73
2V 2 N401DA73
SENSOR センサ
M82
F10871-09-000-AF_01-3

挿入ヘッド部(4)
INSERTION HEAD SECT.(4)
5
F10871-09-000-AF_01-4
M83