Q124783B09.pdf - 第49页
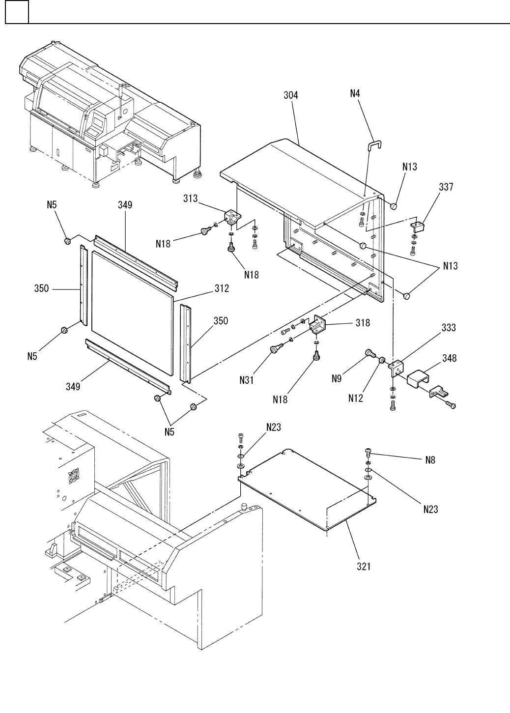
PART NAME REMARKS Q'TY 2 カバー部(Z軸5) COVER SECT. (Z-AXIS-5) イラスト No. REF No. PART No. 部 品 品 番 個数 備 考 R 1 R 2 1 308 108710230802 DOOR(R) ドア(R) 2 314 108710231402 BRACKET ブラケット 2 319 108710231902 BRACKET ブラケット 1 325…

カバー部(Z軸5)
COVER SECT.(Z-AXIS-5)
2
F10871-02-300-AF-5
M31

PART NAME
REMARKS
Q'TY
2
カバー部(Z軸5)
COVER SECT.(Z-AXIS-5)
イラスト
No.
REF
No.
PART No.
部 品 品 番 個数 備 考
R
1
R
2
1308 108710230802
DOOR(R) ドア(R)
2
314 108710231402
BRACKET ブラケット
2
319 108710231902
BRACKET ブラケット
1325 108710232501
COVER(R) カバー(R)
1335 108710233501
BRACKET ブラケット
1
337 104693134601
BRACKET ブラケット
2
338 1046931347
BRACKET ブラケット
A-174-1
1N 3 N980A1741
DRAWER PULL トッテ
TM-96-2(7222)
3N13 N982TM7222
RUBBER CUSHION ゴムクッション
22RF602C-1
6
N18 N50022RF-016
BEARING ベアリング
M6X10,+,STEEL,Z.C.T
2N20 XST6+10FY
TRUSS HEAD SCREW トラスコネジ
5,B-TYPE,STEEL,Z.C.T
3N23 XWC5BFY
TOOTHED LOCK WASHER ハツキザガネ
22RF603C-1
4
N31 N50022RF-017
BEARING ベアリング
M32
F10871-02-300-AF-5

カバー部(Z軸6)
COVER SECT.(Z-AXIS-6)
2
F10871-02-300-AF-6
M33