Q124783B09.pdf - 第35页
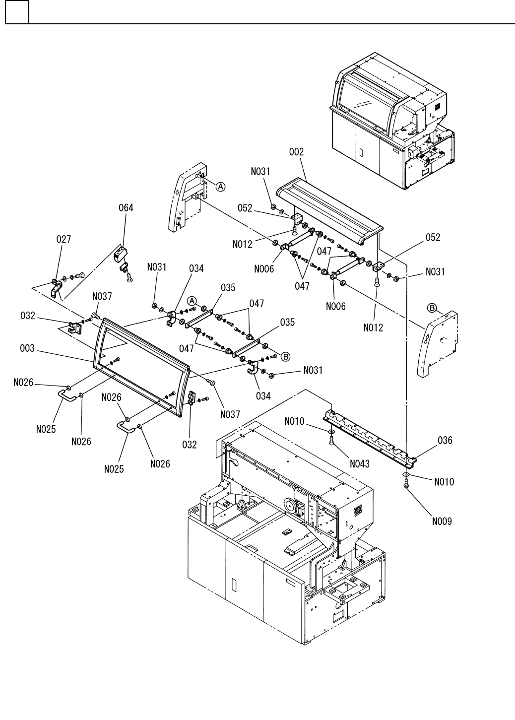
PART NAME REMARKS Q'TY 2 カバ-部(5) COVER SECT. (5) イラスト No. REF No. PART No. 部 品 品 番 個数 備 考 R 1 R 2 1 002 1083802002 TOP COVER トップカバー 1 003 1087102003 FRONT COVER フロントカバー 1 027 108710202701 BRACKET ブラケット 2 032 10…

カバ-部(5)
COVER SECT.(5)
2
F10871-02-000-AJ_01-5
M17

PART NAME
REMARKS
Q'TY
2
カバ-部(5)
COVER SECT.(5)
イラスト
No.
REF
No.
PART No.
部 品 品 番 個数 備 考
R
1
R
2
1002 1083802002
TOP COVER トップカバー
1
003 1087102003
FRONT COVER フロントカバー
1
027 108710202701
BRACKET ブラケット
2032 104680203103
BRACKET ブラケット
2034 104680202301
BRACKET ブラケット
2
035 1083802041
ARM アーム
1
036 1087102036
HINGE ヒンジ
8047 1083802078
BUSHING ブッシュ
2052 108350203302
BRACKET ブラケット
1
064 1087102064
BRACKET ブラケット
30R0
2
N006
N98630R0
GAS SPRING ガススプリング
M5X6,+,STEEL,Z.C.T
7
N009
XST5+6FY
TRUSS HEAD SCREW トラスコネジ
5,B-TYPE,STEEL,Z.C.T
15
N010
XWC5BFY
TOOTHED LOCK WASHER ハツキザガネ
M5X10,+,STEEL,Z.C.T
4
N012
XSS5+10FY
FLUSH HEAD SCREW サラコネジ
THA-31-13-TAP LEG
2
N025
N982THA3413A
DRAWER PULL トッテ
THA-268-4(3453A)
4
N026
N982THA3453A
WASHER ザガネ
M5,1-TYPE,STEEL,Z.C.T
4
N031
XNG5AFY
HEXAGON NUT ロッカクナット
M6X12
2
N037
N986YYYY-909
SCREW ネジ(ゴクテイトウロッカクアナツキ)
BN1206M5X12
8
N043
N986BN12-R26
HEX. SOCKET HEAD CAP BOLT ロッカクアナツキボルト
M18
F10871-02-000-AJ_01-5

カバ-部(6)
COVER SECT.(6)
2
F10871-02-000-AJ_01-6
M19