Q124783B09.pdf - 第221页
PART NAME REMARKS Q'TY 23 ローダ・アンローダ 部 (P-PUS H<M,LL>取付部 ) LOADER & UN LOADER SECT.(P-PUS H<M,LL> ATTACHMEN T SECT.) イラスト No. REF No. PART No. 部 品 品 番 個数 備 考 R 1 R 2 1 1087105200 P-PUSH ATTAC HMENT …

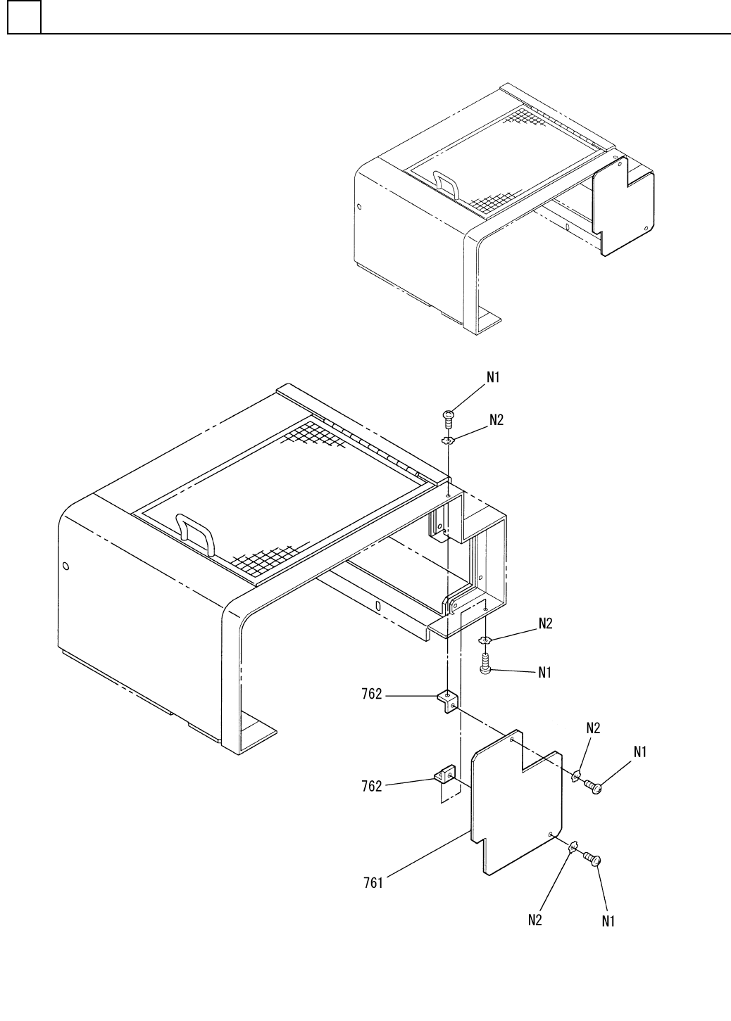
ローダ・アンローダ部(P-PUSH<M,LL>取付部)
LOADER & UNLOADER SECT.(P-PUSH<M,LL> ATTACHMENT SECT.)
23
F10871-05-200_A
M203

PART NAME
REMARKS
Q'TY
23
ローダ・アンローダ部(P-PUSH<M,LL>取付部)
LOADER & UNLOADER SECT.(P-PUSH<M,LL> ATTACHMENT SECT.)
イラスト
No.
REF
No.
PART No.
部 品 品 番 個数 備 考
R
1
R
2
1 1087105200
P-PUSH ATTACHMENT UNIT P-PUSH トリツケユニット
1
201 1087105201
FRAME フレーム
1
202 1087105202
FRAME フレーム
1203 1087105203
PLATE プレート
1204 1087105204
BRACKET ブラケット
1
205 1087105205
BRACKET ブラケット
M204
F10871-05-200_A

ローダ・アンローダ部(サイドカバー部)
LOADER & UNLOADER SECT.(SIDE COVER SECT.)
23
F10871-05-760
M205