Q124783B09.pdf - 第37页
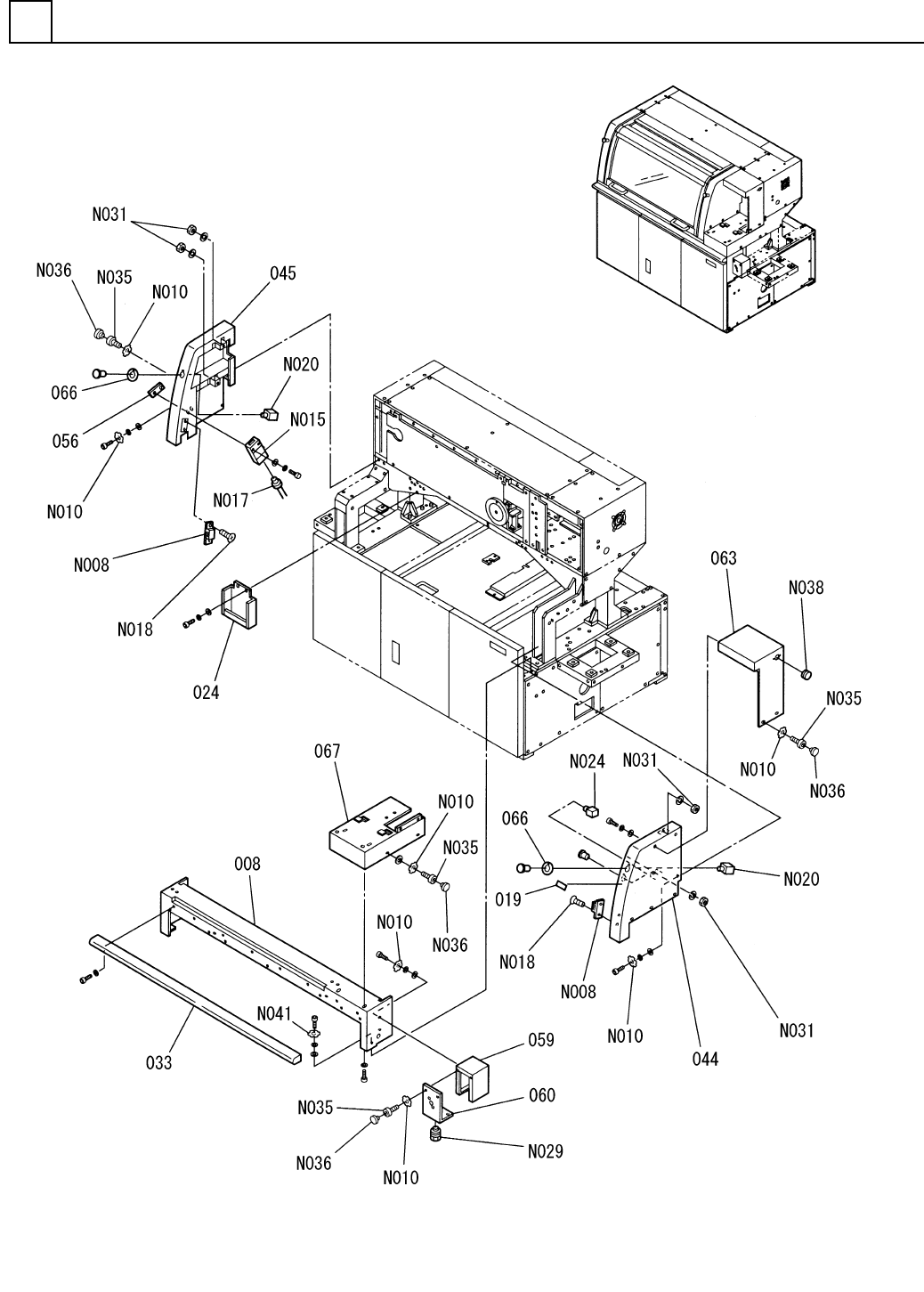
PART NAME REMARKS Q'TY 2 カバ-部(6) COVER SECT. (6) イラスト No. REF No. PART No. 部 品 品 番 個数 備 考 R 1 R 2 1 008 108710200803 FRONT COVER フロントカバー 1 019 1044059662 LABEL ラベル 1 024 1083802082 OIL PAN オイルパン 1 033 1046702086…

カバ-部(6)
COVER SECT.(6)
2
F10871-02-000-AJ_01-6
M19

PART NAME
REMARKS
Q'TY
2
カバ-部(6)
COVER SECT.(6)
イラスト
No.
REF
No.
PART No.
部 品 品 番 個数 備 考
R
1
R
2
1008 108710200803
FRONT COVER フロントカバー
1
019 1044059662
LABEL ラベル
1
024 1083802082
OIL PAN オイルパン
1033 1046702086
GUIDE ガイド
1044 108710204404
SIDE COVER(RIGHT) サイドカバー(RIGHT)
1
045 108710204504
SIDE COVER(LEFT) サイドカバー(LEFT)
1
056 1087105805
BRACKET ブラケット
1059 108710205902
BRACKET(SW) ブラケット(SW)
1060 108710206001
BRACKET(SW) ブラケット(SW)
1
063 108710206301
COVER(L) カバー(L)
2066 3086239031
LABEL ラベル
1067 N210028756AA
FRONT COVER フロントカバー
C-100-B-2
2
N008
N980C100B2
MAGNETIC CATCH マグネットキャッチ
5,B-TYPE,STEEL,Z.C.T
32
N010
XWC5BFY
TOOTHED LOCK WASHER ハツキザガネ
D4DS-2AFS S
1
N015
N300D4DS2AFS
SWITCH スイッチ
SC-6
1
N017
N300SC6
CONNECTOR コネクタ
M3X6,+,STEEL,Z.C.T
4
N018
XSS3+6FY
FLUSH HEAD SCREW サラコネジ
M22-PV/K02 S
2
N020
N306M22PVK02
SWITCH スイッチ
M22-D-G-X1/K10 S
1
N024
N302M22D-544
SWITCH スイッチ
V-M32
1
N029
N348VM32
GROMMET グロメット
M5,1-TYPE,STEEL,Z.C.T
4
N031
XNG5AFY
HEXAGON NUT ロッカクナット
JB-AM5X8
8
N035
N986JBAM58
BOLT ボルト
M5X12
8
N036
N986YYYY-814
CAP キャップ
C-30-SG-24A,WHITE
1
N038
N980C30S-065
GROMMET グロメット
6,B-TYPE,STEEL,Z.C.T
2
N041
XWC6BFY
TOOTHED LOCK WASHER ハツキザガネ
M20
F10871-02-000-AJ_01-6

カバー部(主操作盤)
COVER SECT.(MAIN CONTROL PANEL)
2
F10871-02-200-AE
M21