Q124783B09.pdf - 第253页
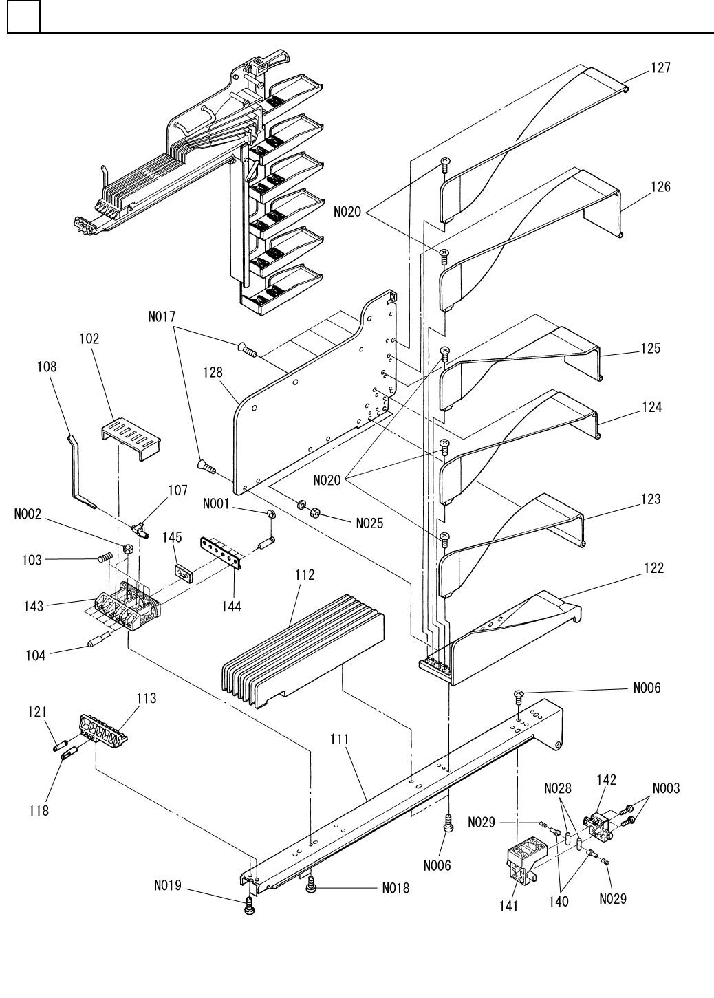
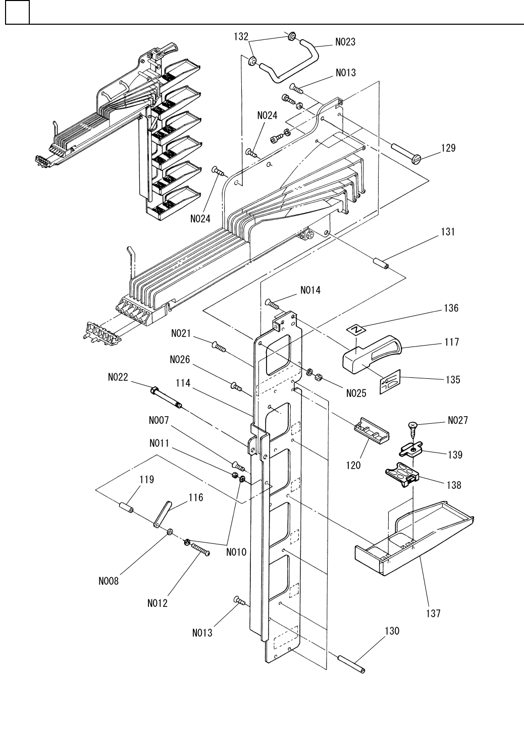
PART NAME REMARKS Q'TY 25 カートリッジ部<52mm, N80X6> CARTRIDGE S ECT.<52mm,N80X6> イラスト No. REF No. PART No. 部 品 品 番 個数 備 考 R 1 R 2 1 1046930100 CARTRIDGE UN IT カートリッジユニット 1 102 1046930102 COVER(GUIDE) カバー(カ…

カートリッジ部<52mm,N80X6>
CARTRIDGE SECT.<52mm,N80X6>
25
F10469-30-100-AJ_01-1
M235

PART NAME
REMARKS
Q'TY
25
カートリッジ部<52mm,N80X6>
CARTRIDGE SECT.<52mm,N80X6>
イラスト
No.
REF
No.
PART No.
部 品 品 番 個数 備 考
R
1
R
2
1 1046930100
CARTRIDGE UNIT カートリッジユニット
1
102 1046930102
COVER(GUIDE) カバー(ガイド)
6
103 1020729003
SPRING バネ
6104 1020729004
ROD ロッド
1107 1020729007
CAM カム
1
108 1046930108
LEVER(CAM) レバー(カム)
1
111 104693011103
RAIL レール
1112 104693011201
PLATE(GUIDE) プレート(ガイド)
1113 1046930113
GUIDE ガイド
1
118 1020729018
SHAFT(INSERT) シャフト(インサート)
1121 1020729021
SHAFT(INSERT) シャフト(インサート)
1122 104693012202
TWIST TAPE GUIDE ツイストテープガイド
1
123 104693012301
TWIST TAPE GUIDE ツイストテープガイド
1
124 104693012401
TWIST TAPE GUIDE ツイストテープガイド
1125 104693012501
TWIST TAPE GUIDE ツイストテープガイド
1126 104693012601
TWIST TAPE GUIDE ツイストテープガイド
1
127 104693012701
TWIST TAPE GUIDE ツイストテープガイド
1
128 104693012803
PLATE(TAPE GUIDE) プレート(テープガイド)
2140 1046930140
HOLDER(PIN) ホルダ(ピン)
1141 1046930141
CORE コア
1
142 1046930142
CORE コア
1
143 1046930143
GUIDE PLATE ガイドプレート
1144 1046930144
PLATE プレート
1145 1046930145
PLATE プレート
111201-11040
6
N001
XUC4VM
RETAINING RING E-TYPE E ガタトメワ
SB-4005
2
N002
N986SB4005
BIT INSERT ビットインサート
3X12,+,STEEL,C.P
4
N003
XTB3+12GFC
BINDING HEAD TAPPING SCREW バインドタッピンネジ
4X16 A2J (Trivalent)
9
N006
N510018732AA
BINDING HEAD TAPPING SCREW バインドタップタイトネジ
4X16 A2S (Trivarent)
14
N017
N510018754AA
FLUSH HEAD TAPPING SCREW サラタッピンネジ
M4X10-4.8 A2J (Trivale
2
N018
N510017941AA
BINDING HEAD SCREW バインドコネジ
M4X7,+,STEEL,Z.C.T
2
N019
XSB4+7FY
BINDING HEAD SCREW バインドコネジ
4X10 A2S (Trivalent)
5
N020
N510018744AA
PAN HEAD TAPPING SCREW ナベタップタイトネジ
M4-6H-4T A2J (Trivalen
1
N025
N510017855AA
NUT ナット
MS5-15
2
N028
N986MS515
PARALLEL PIN ヘイコウピン
DC575
2
N029
N986DC575
SPRING バネ
M236
F10469-30-100-AJ_01-1

カートリッジ部<52mm,N80X6>
CARTRIDGE SECT.<52mm,N80X6>
25
F10469-30-100-AJ_01-2
M237