Q124783B09.pdf - 第91页
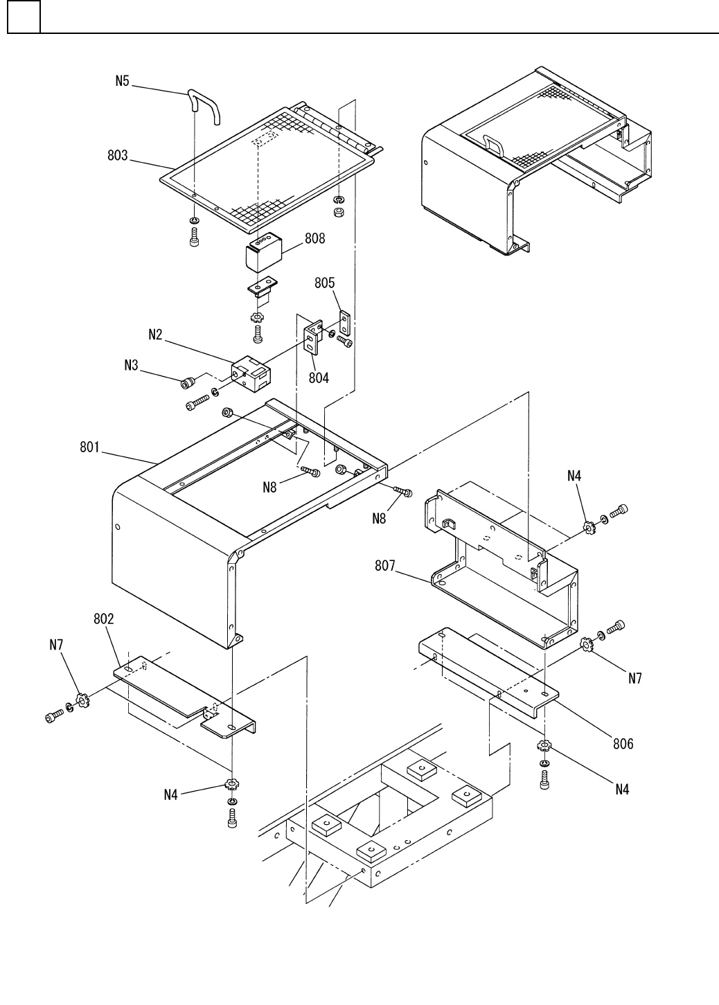
PART NAME REMARKS Q'TY 4 ローダ・アンローダ 部 (ローダカ バー部 ) LOADER & UN LOADER SECT.(LOADE R COVER SECT.) イラスト No. REF No. PART No. 部 品 品 番 個数 備 考 R 1 R 2 1 1087105800 LOADER COVER UNIT ローダカバーユニット 1 801 108710580103 …

ローダ・アンローダ部(ローダカバー部)
LOADER & UNLOADER SECT.(LOADER COVER SECT.)
4
F10871-05-800-AC
M73

PART NAME
REMARKS
Q'TY
4
ローダ・アンローダ部(ローダカバー部)
LOADER & UNLOADER SECT.(LOADER COVER SECT.)
イラスト
No.
REF
No.
PART No.
部 品 品 番 個数 備 考
R
1
R
2
1 1087105800
LOADER COVER UNIT ローダカバーユニット
1
801 108710580103
FRONT COVER カバー(FRONT)
1
802 108710580202
FRONT BRACKET ブラケット(FRONT)
1803 108710580302
NET ネット
1804 1087105804
BRACKET ブラケット
1
805 1087105805
BRACKET ブラケット
1
806 1087105806
BRACKET ブラケット
1807 1087105807
REAR COVER カバー(REAR)
1808 1087102064
BRACKET ブラケット
D4DS-2AFS S
1
N 2 N300D4DS2AFS
SWITCH スイッチ
SC-6
1N 3 N300SC6
CONNECTOR コネクタ
5,B-TYPE,STEEL,Z.C.T
7N 4 XWC5BFY
TOOTHED LOCK WASHER ハツキザガネ
THA-32-2(3481)
1
N 5 N982THA3481
DRAWER PULL トッテ
6,B-TYPE,STEEL,Z.C.T
4
N 7 XWC6BFY
TOOTHED LOCK WASHER ハツキザガネ
UST4-15
2N 8 N986UST415
BOLT ボルト
M74
F10871-05-800-AC

ローダ・アンローダ部(アンローダカバー部)
LOADER & UNLOADER SECT.(UNLOADER COVER SECT.)
4
F10871-05-900-AD
M75