Q124783B09.pdf - 第147页
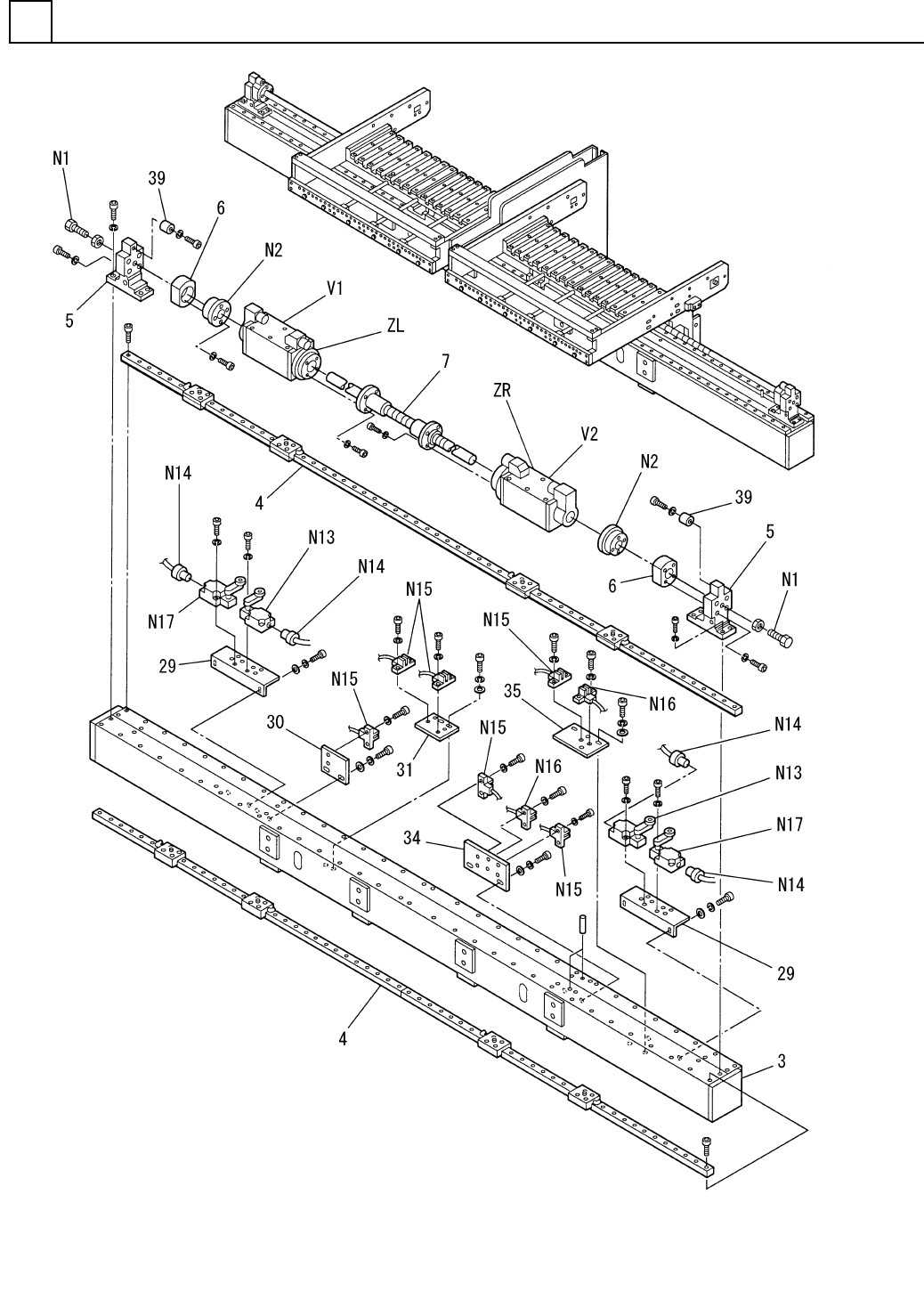
PART NAME REMARKS Q'TY 18 部品供給部 (1) FEEDER CARR IAGE SECT.(1) イラスト No. REF No. PART No. 部 品 品 番 個数 備 考 R 1 R 2 1 1087107000 SUPPLY UNIT キョウキュウユニット 1 3 104690700310 CROSS BEAM クロスビーム 2 4 1087107004 LINEAR MOTIO N UN…

部品供給部(1)
FEEDER CARRIAGE SECT.(1)
18
F10871-07-000-AH-1
M129

PART NAME
REMARKS
Q'TY
18
部品供給部(1)
FEEDER CARRIAGE SECT.(1)
イラスト
No.
REF
No.
PART No.
部 品 品 番 個数 備 考
R
1
R
2
1 1087107000
SUPPLY UNIT キョウキュウユニット
1
3 104690700310
CROSS BEAM クロスビーム
2
4 1087107004
LINEAR MOTION UNIT リニアモーションユニット
25 104690700501
BRACKET ブラケット
26 1046907006
HOLDER ホルダ
1
7 102070700301
BALL SCREW ボールネジ
2
29 108710702901
PLATE プレート
130 108710703001
PLATE プレート
131 108710703102
PLATE プレート
1
34 108710703402
PLATE プレート
135 108710703503
PLATE プレート
239 1046907046
STOPPER ストッパー
M10X90,STEEL,P.C
2
N 1 XVEN10B90FPZ
HEX. SOCKET HEAD CAP BOLT ロッカクアナツキボルト
MA-40
2
N 2 N645MA40
COUPLING カップリング
AT0-20-1-I/R S
2N13 N300AT02011R
SWITCH スイッチ
V-M20
4N14 N348VM20
CONNECTOR コネクタ
P921SA1
6
N15 N310P921SA1
SENSOR センサ
P921S1
2
N16 N310P921S1
SENSOR センサ
AT0-11-S-I/R S
2N17 N300AT011S1R
SWITCH スイッチ
MFA250LE4NSJ S
1V 1 308380701902
MOTOR モータ
MFA250LE4NSJ S
1
V 2 308380701202
MOTOR モータ
M130
F10871-07-000-AH-1

部品供給部(2)
FEEDER CARRIAGE SECT.(2)
18
F10871-07-000-AH-2
M131