Q124783B09.pdf - 第280页
シグナルタワー部(黄/白/緑) SIGNAL TOWE R SECT.(YELLOW/WHI TE/GREEN) 29 F10871-02-610-AA_0 2 M263

PART NAME
REMARKS
Q'TY
29
シグナルタワー部(赤/黄/緑)
SIGNAL TOWER SECT.(RED/YELLOW/GREEN)
イラスト
No.
REF
No.
PART No.
部 品 品 番 個数 備 考
R
1
R
2
N610015433AB
1 1087102600
SIGNAL LIGHT UNIT シグナルライトユニット
#LCR-302FBW-RYG B0701
1
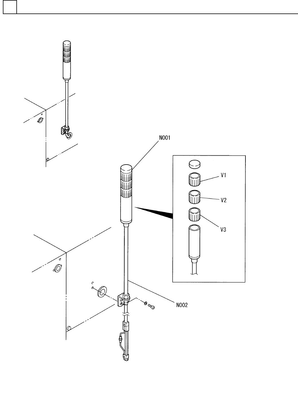
N001
N510012676AA
SIGNAL TOWER シグナルタワー
#SZR-80L-038 QC007
1
N002
N510022115AA
POLE ポール
B72100103-1F1
1V 1 N510016202AA
GLOBE(RED) グローブ(アカ)
B72100103-2F1
1V 2 N510016203AA
GLOBE(YELLOW) グローブ(キ)
B72100103-3F1
1
V 3 N510016204AA
GLOBE(GREEN) グローブ(ミドリ)
M262
F10871-02-600-AA_02

シグナルタワー部(黄/白/緑)
SIGNAL TOWER SECT.(YELLOW/WHITE/GREEN)
29
F10871-02-610-AA_02
M263

PART NAME
REMARKS
Q'TY
29
シグナルタワー部(黄/白/緑)
SIGNAL TOWER SECT.(YELLOW/WHITE/GREEN)
イラスト
No.
REF
No.
PART No.
部 品 品 番 個数 備 考
R
1
R
2
N610015433AB
1 1087102610
SIGNAL LIGHT UNIT シグナルライトユニット
#LCR-302FBW-YCG B0701
1
N001
N510020875AA
SIGNAL TOWER シグナルタワー
#SZR-80L-038 QC007
1
N002
N510022115AA
POLE ポール
B72100103-2F1
1V 1 N510016203AA
GLOBE(YELLOW) グローブ(キ)
B72100103-7F1
1V 2 N510016206AA
GLOBE(WHITE) グローブ(シロ)
B72100103-3F1
1
V 3 N510016204AA
GLOBE(GREEN) グローブ(ミドリ)
M264
F10871-02-610-AA_02