Q124783B09.pdf - 第55页
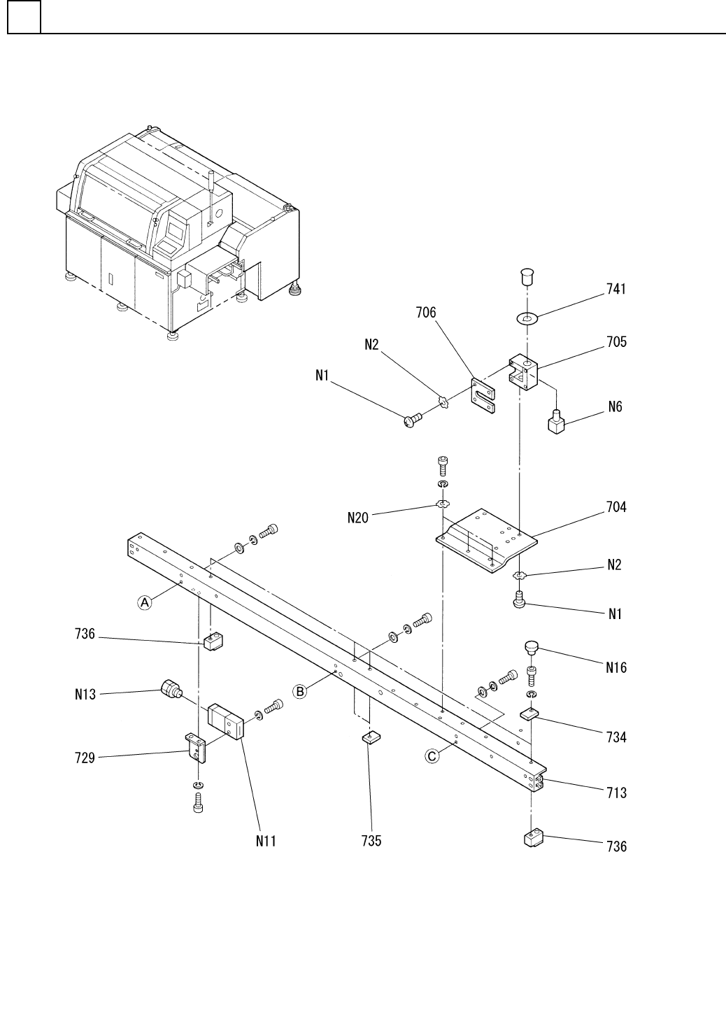
PART NAME REMARKS Q'TY 2 カバー部(Z軸8) COVER SECT. (Z-AXIS-8) イラスト No. REF No. PART No. 部 品 品 番 個数 備 考 R 1 R 2 1 310 108710231002 DOOR(L) ドア(L) 1 312 1087102312 COVER(DOOR) カバー(ドア) 2 313 108710231302 BRACKET ブラケット …

カバー部(Z軸8)
COVER SECT.(Z-AXIS-8)
2
F10871-02-300-AF-8
M37

PART NAME
REMARKS
Q'TY
2
カバー部(Z軸8)
COVER SECT.(Z-AXIS-8)
イラスト
No.
REF
No.
PART No.
部 品 品 番 個数 備 考
R
1
R
2
1310 108710231002
DOOR(L) ドア(L)
1
312 1087102312
COVER(DOOR) カバー(ドア)
2
313 108710231302
BRACKET ブラケット
2318 108710231802
BRACKET ブラケット
1331 1087102331
COVER(L) カバー(L)
1
333 1087102333
BRACKET ブラケット
1
337 104693134601
BRACKET ブラケット
1348 1087102064
BRACKET ブラケット
2349 1087102349
BRACKET ブラケット
2
350 1087102350
BRACKET ブラケット
A-1042-C-15
1N 4 N980A1042C15
DRAWER PULL トッテ
M5,1-TYPE,STEEL,Z.C.T
20N 5 XNG5AFY
HEXAGON NUT ロッカクナット
M5X12,+,STEEL,Z.C.T
2
N 8 XST5+12FY
TRUSS HEAD SCREW トラスコネジ
M2X6,STEEL,Z.C.T
1
N 9 XVE2B6FY
HEX. SOCKET HEAD CAP BOLT ロッカクアナツキボルト
C-30-RK-10
1N12 N980C30RK10
RUBBER LEG ゴムアシ
TM-96-2(7222)
7N13 N982TM7222
RUBBER CUSHION ゴムクッション
22RF602C-1
6
N18 N50022RF-016
BEARING ベアリング
5,B-TYPE,STEEL,Z.C.T
5
N23 XWC5BFY
TOOTHED LOCK WASHER ハツキザガネ
22RF603C-1
2N31 N50022RF-017
BEARING ベアリング
M38
F10871-02-300-AF-8

カバー部(Z軸カバー部1)
COVER SECT.(Z-AXIS COVER SECT.-1)
2
F10871-02-700-1
M39