Q124783B09.pdf - 第57页
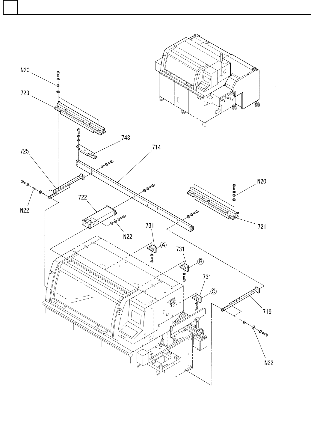
PART NAME REMARKS Q'TY 2 カバー部(Z軸カバー部1) COVER SECT. (Z-AXIS COVER SECT .-1) イラスト No. REF No. PART No. 部 品 品 番 個数 備 考 R 1 R 2 1 1087102700 COVER UNIT カバーユニット 1 704 1087102305 PLATE プレート 1 705 108710230601 COVER カハ…

カバー部(Z軸カバー部1)
COVER SECT.(Z-AXIS COVER SECT.-1)
2
F10871-02-700-1
M39

PART NAME
REMARKS
Q'TY
2
カバー部(Z軸カバー部1)
COVER SECT.(Z-AXIS COVER SECT.-1)
イラスト
No.
REF
No.
PART No.
部 品 品 番 個数 備 考
R
1
R
2
1 1087102700
COVER UNIT カバーユニット
1
704 1087102305
PLATE プレート
1
705 108710230601
COVER カバー
1706 1087102307
COVER カバー
1713 1087102713
RAIL レール
1
729 108710233403
BRACKET ブラケット
4
734 108710233901
PLATE プレート
2735 108710234001
PLATE プレート
2736 1087102736
BLOCK ブロック
1
741 3086239031
LABEL ラベル
M3X6,+,STEEL,Z.C.T
10
N 1
XST3+6FY
TRUSS HEAD SCREW トラスコネジ
3,B-TYPE,STEEL,Z.C.T
10
N 2
XWC3BFY
TOOTHED LOCK WASHER ハツキザガネ
M22-PV/K02 S
1
N 6
N306M22PVK02
SWITCH スイッチ
D4DS-2AFS S
1
N 11
N300D4DS2AFS
SWITCH スイッチ
SC-6
1
N 13
N300SC6
CONNECTOR コネクタ
C-30-SG9A(WHITE)
4
N 16
N980C30SG9AW
GROMMET グロメット
5,B-TYPE,STEEL,Z.C.T
3
N 20
XWC5BFY
TOOTHED LOCK WASHER ハツキザガネ
M40
F10871-02-700-1

カバー部(Z軸カバー部2)
COVER SECT.(Z-AXIS COVER SECT.-2)
2
F10871-02-700-2
M41