Q124783B09.pdf - 第41页
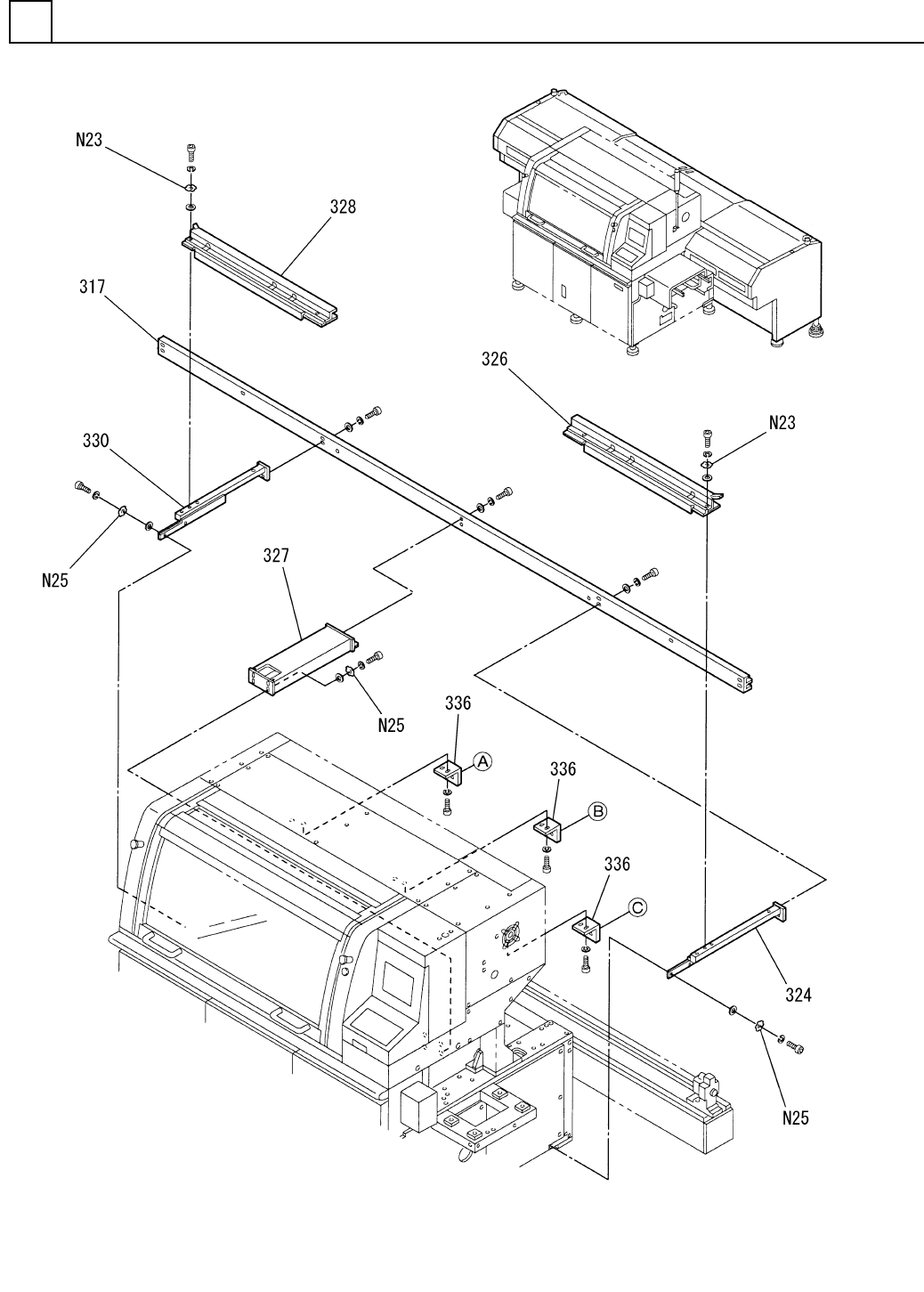
PART NAME REMARKS Q'TY 2 カバー部(Z軸1) COVER SECT. (Z-AXIS-1) イラスト No. REF No. PART No. 部 品 品 番 個数 備 考 R 1 R 2 1 1087102300 COVER UNIT カバーユニット 1 305 1087102305 PLATE プレート 1 306 108710230601 COVER カバー 1 307 108710230…

カバー部(Z軸1)
COVER SECT.(Z-AXIS-1)
2
F10871-02-300-AF-1
M23

PART NAME
REMARKS
Q'TY
2
カバー部(Z軸1)
COVER SECT.(Z-AXIS-1)
イラスト
No.
REF
No.
PART No.
部 品 品 番 個数 備 考
R
1
R
2
1 1087102300
COVER UNIT カバーユニット
1
305 1087102305
PLATE プレート
1
306 108710230601
COVER カバー
1307 1087102307
COVER カバー
1316 1087102316
RAIL レール
4
320 108710232003
STOPPER ストッパ
2
334 108710233402
BRACKET ブラケット
8339 108710233901
PLATE プレート
4340 108710234001
PLATE プレート
4
341 108710234101
BLOCK ブロック
1351 3086239031
LABEL ラベル
M3X6,+,STEEL,Z.C.T
10N 1 XST3+6FY
TRUSS HEAD SCREW トラスコネジ
3,B-TYPE,STEEL,Z.C.T
10
N 2 XWC3BFY
TOOTHED LOCK WASHER ハツキザガネ
M22-PV/K02 S
1
N 6 N306M22PVK02
SWITCH スイッチ
D4DS-2AFS S
2N14 N300D4DS2AFS
SWITCH スイッチ
SC-6
2N16 N300SC6
CONNECTOR コネクタ
C-30-SG9A(WHITE)
8
N19 N980C30SG9AW
GROMMET グロメット
5,B-TYPE,STEEL,Z.C.T
3
N23 XWC5BFY
TOOTHED LOCK WASHER ハツキザガネ
M24
F10871-02-300-AF-1

カバー部(Z軸2)
COVER SECT.(Z-AXIS-2)
2
F10871-02-300-AF-2
M25