Q124783B09.pdf - 第246页
テープフィーダ部<51m m> TAPE FEEDER SECT.<51mm> 24 F10207-32-450-AB_B M229

PART NAME
REMARKS
Q'TY
24
テープフィーダ部<26mm>
TAPE FEEDER SECT.<26mm>
イラスト
No.
REF
No.
PART No.
部 品 品 番 個数 備 考
R
1
R
2
26mm TYPE
1 1046933000
TAPE FEEDER UNIT テープフィーダユニット
1
1 1046933001
FRAME フレーム
1
2 1020731002
RING リング
13 102073100301
BLOCK(SLIDE) ブロック(スライド)
14 1020731024
LEVER レバー
1
5 102073102502
LEVER レバー
1
6 102073102602
LEVER レバー
17 1020731027
LEVER レバー
18 102073102801
LEVER レバー
1
9 102073102901
LEVER レバー
110 1020731010
COVER カバー
111 102073301101
PLATE プレート
1
12 102073301201
PLATE プレート
1
13 1020731013
LEVER レバー
414 1020731031
SPRING バネ
115 1046933015
FRAME フレーム
1
16 1020731016
SPRING バネ
1
17 1020733017
FRAME フレーム
218 1020731014
SPRING バネ
419 1020731019
PIN ピン
1
20 1046933020
ADAPTOR アダプタ
MS5-15
1
N 1 N986MS515
PARALLEL PIN ヘイコウピン
M3X10,+,STEEL,Z.B.P
4N 2 XSB3+10FZ
BINDING HEAD SCREW バインドコネジ
1020201-20006
1N 3 N9861020-128
PIN ピン
3X8,+,STEEL,Z.C.T
1
N 4 XTN3+8GFY
PAN HEAD TAPPING SCREW ナベタッピンネジ
M228
F10469-33-000-AC_B

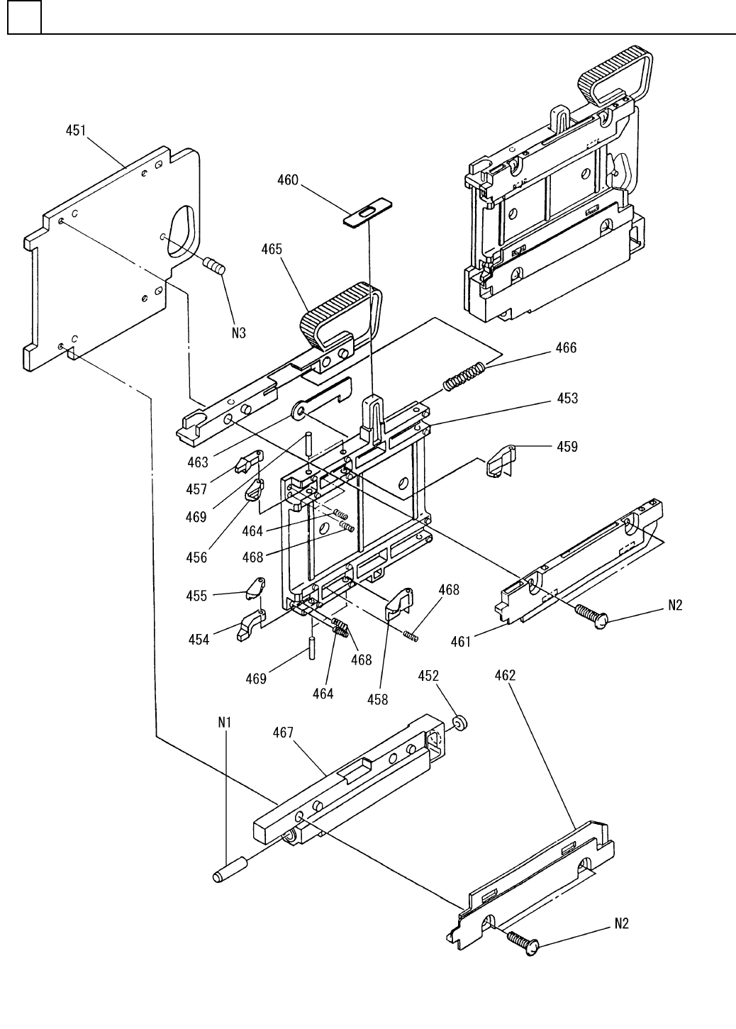
テープフィーダ部<51mm>
TAPE FEEDER SECT.<51mm>
24
F10207-32-450-AB_B
M229

PART NAME
REMARKS
Q'TY
24
テープフィーダ部<51mm>
TAPE FEEDER SECT.<51mm>
イラスト
No.
REF
No.
PART No.
部 品 品 番 個数 備 考
R
1
R
2
1 1020732450
TAPE FEEDER UNIT テープフィーダユニット
1
451 1046932001
FRAME フレーム
1
452 1020731002
RING リング
1453 102073200301
BLOCK(SLIDE) ブロック(スライド)
1454 1020731024
LEVER レバー
1
455 1020732455
LEVER レバー
1
456 1020732456
LEVER レバー
1457 1020731027
LEVER レバー
1458 1020732458
LEVER レバー
1
459 1020732459
LEVER レバー
1460 1020731010
COVER カバー
1461 102073301101
PLATE プレート
1
462 102073301201
PLATE プレート
1
463 1020731013
LEVER レバー
2464 1020731014
SPRING バネ
1465 1020731015
FRAME フレーム
1
466 1020731016
SPRING バネ
1
467 1020732017
FRAME フレーム
4468 1020731031
SPRING バネ
4469 1020731019
PIN ピン
MS5-15
1
N 1 N986MS515
PARALLEL PIN ヘイコウピン
M3X10,+,STEEL,Z.B.P
4
N 2 XSB3+10FZ
BINDING HEAD SCREW バインドコネジ
1020201-20006
1N 3 N9861020-128
PIN ピン
M230
F10207-32-450-AB_B