Q124783B09.pdf - 第61页
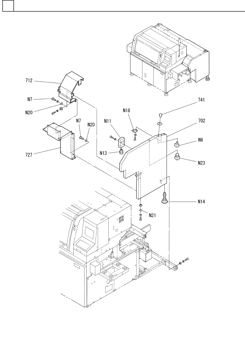
PART NAME REMARKS Q'TY 2 カバー部(Z軸カバー部3) COVER SECT. (Z-AXIS COVER SECT .-3) イラスト No. REF No. PART No. 部 品 品 番 個数 備 考 R 1 R 2 1 702 108710230303 SIDE COVER ( R) サイドカバー(R) 1 712 1087102712 FRONT COVER カバー(FRONT) 1…

カバー部(Z軸カバー部3)
COVER SECT.(Z-AXIS COVER SECT.-3)
2
F10871-02-700-3
M43

PART NAME
REMARKS
Q'TY
2
カバー部(Z軸カバー部3)
COVER SECT.(Z-AXIS COVER SECT.-3)
イラスト
No.
REF
No.
PART No.
部 品 品 番 個数 備 考
R
1
R
2
1702 108710230303
SIDE COVER (R) サイドカバー(R)
1
712 1087102712
FRONT COVER カバー(FRONT)
1
727 1087102727
COVER(RIGHT) カバー(RIGHT)
1741 3086239031
LABEL ラベル
M22-PV/K02 S
1
N 6
N306M22PVK02
SWITCH スイッチ
M5X12,+,STEEL,Z.C.T
7
N 7
XST5+12FY
TRUSS HEAD SCREW トラスコネジ
D4DS-2AFS S
1
N 11
N300D4DS2AFS
SWITCH スイッチ
SC-6
1
N 13
N300SC6
CONNECTOR コネクタ
TM-257-4(6214)
1
N 14
N982TM6214
ADJUSTING BOLT アジャストボルト
C-158-3
1
N 18
N980C1583
MAGNETIC CATCH マグネットキャッチ
5,B-TYPE,STEEL,Z.C.T
17
N 20
XWC5BFY
TOOTHED LOCK WASHER ハツキザガネ
6,B-TYPE,STEEL,Z.C.T
3
N 21
XWC6BFY
TOOTHED LOCK WASHER ハツキザガネ
APN122DNS
1
N 23
N223APN1-065
LAMP ランプ
M44
F10871-02-700-3

カバー部(Z軸カバー部4)
COVER SECT.(Z-AXIS COVER SECT.-4)
2
F10871-02-700-4
M45