Q124783B09.pdf - 第93页
PART NAME REMARKS Q'TY 4 ローダ・アンローダ 部 (アンロータ ゙カバー部) LOADER & UN LOADER SECT.(UNLOA DER COVER SECT.) イラスト No. REF No. PART No. 部 品 品 番 個数 備 考 R 1 R 2 1 1087105900 UNLOADER COV ER UNIT アンローダカバーユニット 1 901 10871…

ローダ・アンローダ部(アンローダカバー部)
LOADER & UNLOADER SECT.(UNLOADER COVER SECT.)
4
F10871-05-900-AD
M75

PART NAME
REMARKS
Q'TY
4
ローダ・アンローダ部(アンローダカバー部)
LOADER & UNLOADER SECT.(UNLOADER COVER SECT.)
イラスト
No.
REF
No.
PART No.
部 品 品 番 個数 備 考
R
1
R
2
1 1087105900
UNLOADER COVER UNIT アンローダカバーユニット
1
901 108710590104
FRONT COVER カバー(FRONT)
1
902 108710590201
BRACKET ブラケット
1903 108710590301
REAR COVER カバー(REAR)
1904 1087105904
REAR BRACKET ブラケット(REAR)
1
905 108710580302
NET ネット
1
906 1087105906
BRACKET ブラケット
1907 1087105805
BRACKET ブラケット
1908 1087105806
BRACKET ブラケット
1
909 1087102064
BRACKET ブラケット
D4DS-2AFS S
1N 2 N300D4DS2AFS
SWITCH スイッチ
SC-6
1N 3 N300SC6
CONNECTOR コネクタ
5,B-TYPE,STEEL,Z.C.T
7
N 4 XWC5BFY
TOOTHED LOCK WASHER ハツキザガネ
THA-32-2(3481)
1
N 5 N982THA3481
DRAWER PULL トッテ
6,B-TYPE,STEEL,Z.C.T
4N 7 XWC6BFY
TOOTHED LOCK WASHER ハツキザガネ
UST4-15
2N 8 N986UST415
BOLT ボルト
M76
F10871-05-900-AD

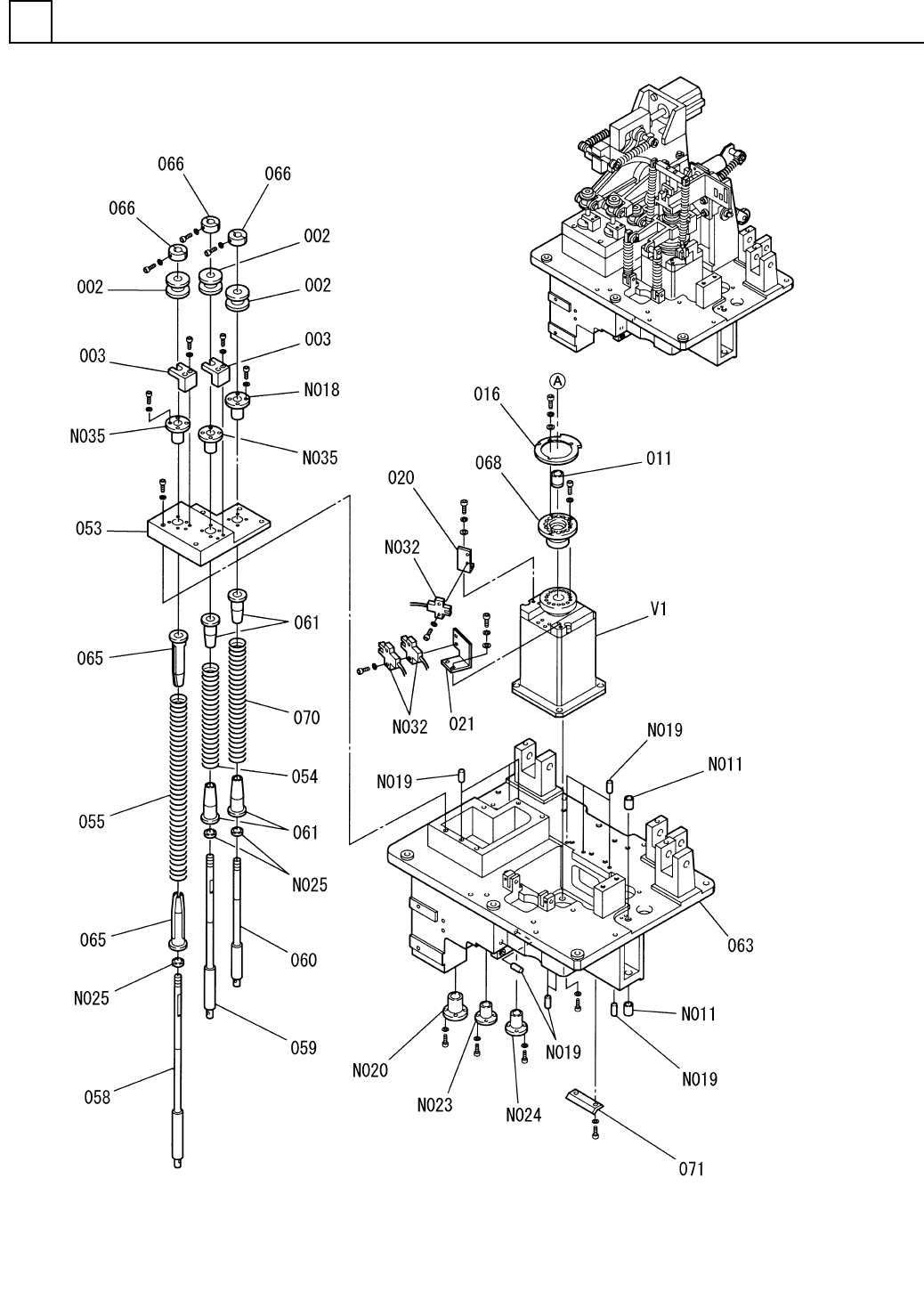
挿入ヘッド部(1)
INSERTION HEAD SECT.(1)
5
F10871-09-000-AF_01-1
M77