Q124783B09.pdf - 第129页
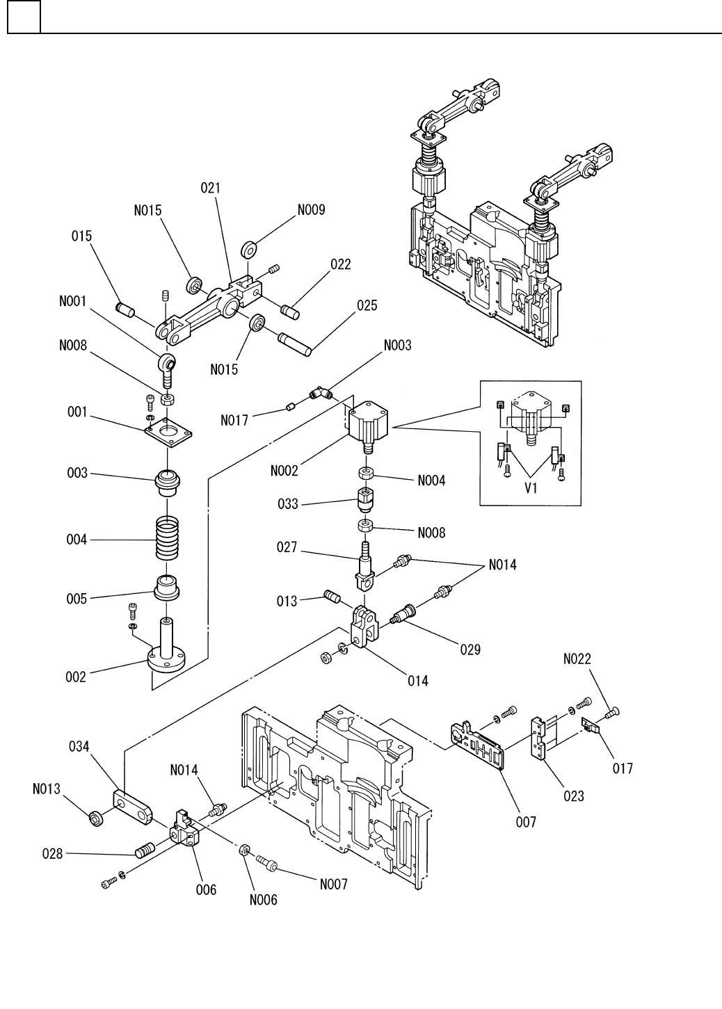
PART NAME REMARKS Q'TY 11 テ-プカッタ部(2) TAPE CUTTER SECT.(2) イラスト No. REF No. PART No. 部 品 品 番 個数 備 考 R 1 R 2 1 001 1017714029 PLATE プレート 1 002 108711800201 SHAFT シャフト 1 003 1041318003 COLLAR カラー 1 004 1041318004 SPR…

テ-プカッタ部(2)
TAPE CUTTER SECT.(2)
11
F10871-18-000-AJ_01-2
M111

PART NAME
REMARKS
Q'TY
11
テ-プカッタ部(2)
TAPE CUTTER SECT.(2)
イラスト
No.
REF
No.
PART No.
部 品 品 番 個数 備 考
R
1
R
2
1001 1017714029
PLATE プレート
1
002 108711800201
SHAFT シャフト
1
003 1041318003
COLLAR カラー
1004 1041318004
SPRING バネ
1005 1017714039
COLLAR カラー
1
006 108711800601
BLOCK(L) ブロック(L)
1
007 108711800702
SLIDER スライダ
1013 1017714044
PIN ピン
1014 1083818014
JOINT ジョイント
1
015 1017714035
PIN ピン
4017 1083818062
CUTTER(R) カッター(R)
1021 104131803204
LEVER レバー
1
022 102460903701
PIN ピン
1
023 1083818061
BASE(CUTTER) ベース(カッター)
1025 1041318036
SHAFT シャフト
1027 1046918051
ROD ロッド
1
028 1041318040
PIN ピン
1
029 104131804101
PIN ピン
1033 104131804701
ADJUSTER アジャスタ
1034 108381803401
LEVER レバー
POS12L
1
N001
N534P0S12L
ROD END ロッドエンド
CDQ2A40-5DM-A73S
1
N002
N401CDQ2-A18
CYLINDER シリンダ
KQ2L06-01S
2
N003
N431KQ2L-216
FITTING ツギテ
NT-04
1
N004
N401NT04
NUT ナット
M5,1-TYPE,STEEL,P.C
1
N006
XNG5AFP
HEXAGON NUT ロッカクナット
M5X18,STEEL,P.C,4T
1
N007
XVG5B18FP4
HEXAGON HEAD BOLT ロッカクボルト
M12,1-TYPE,STEEL,P.C (
2
N008
XNHN12DFPL
HEXAGON NUT ロッカクナット
NART10R-040010
1
N009
N531NART-016
ROLLER FOLLOWER ローラフォロア
NAST12
1
N013
N532NAST12
ROLLER FOLLOWER ローラフォロア
A-M6F
3
N014
N560A6FBN
GREASE NIPPLE グリースニップル
NA5902
2
N015
XLJNNA5902
NEEDLE ROLLER BEARING ニードルローラベアリング
R4X1
2
N017
N473R41
ORIFICE RING オリフィスリング
M3X8
4
N022
N986YYYY-161
BOLT ロッカクアナツキサラボルト
D-A73
2V 1 N401DA73
SENSOR センサ
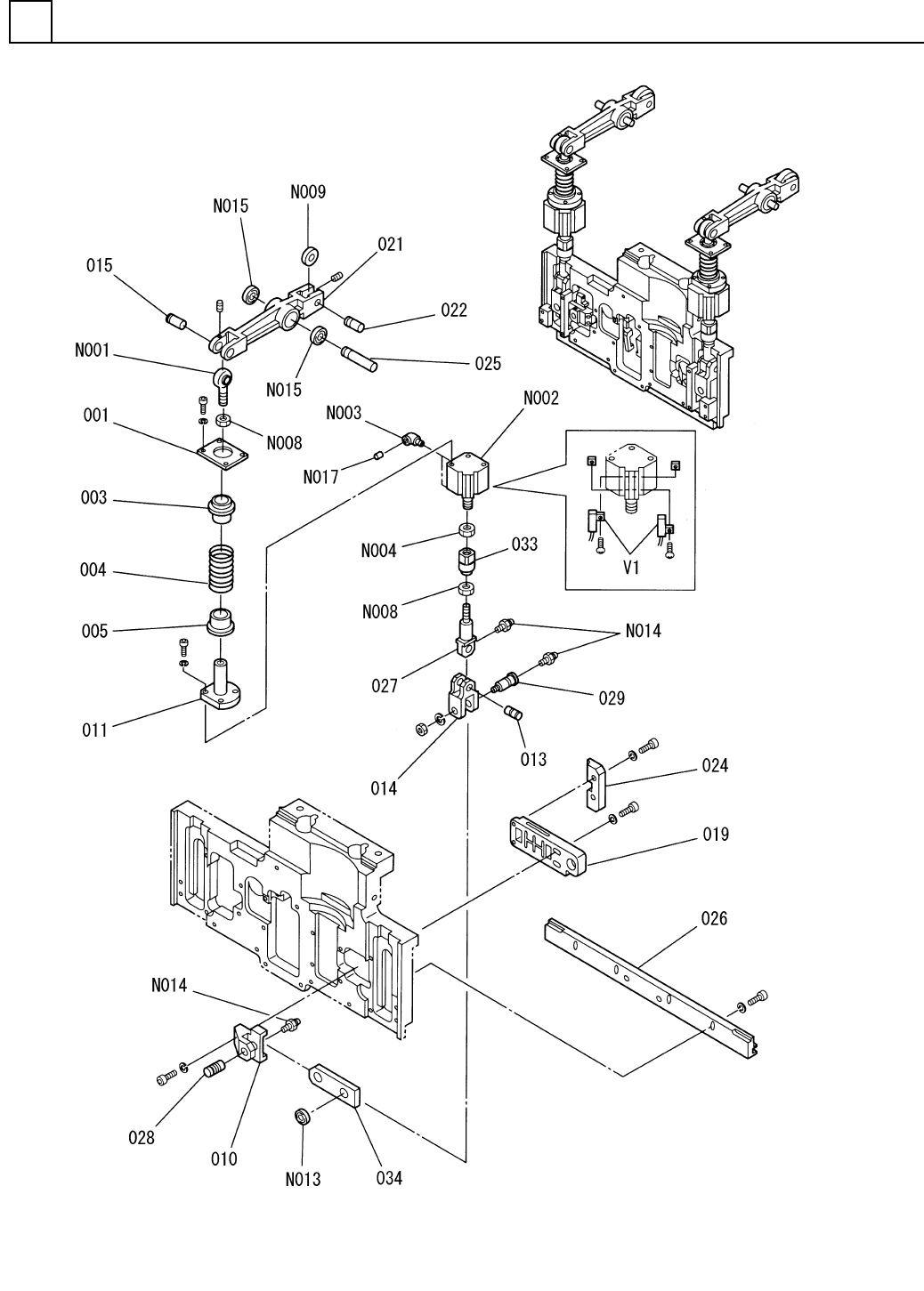
M112
F10871-18-000-AJ_01-2

テ-プカッタ部(3)
TAPE CUTTER SECT.(3)
11
F10871-18-000-AJ_01-3
M113