Q124783B09.pdf - 第211页
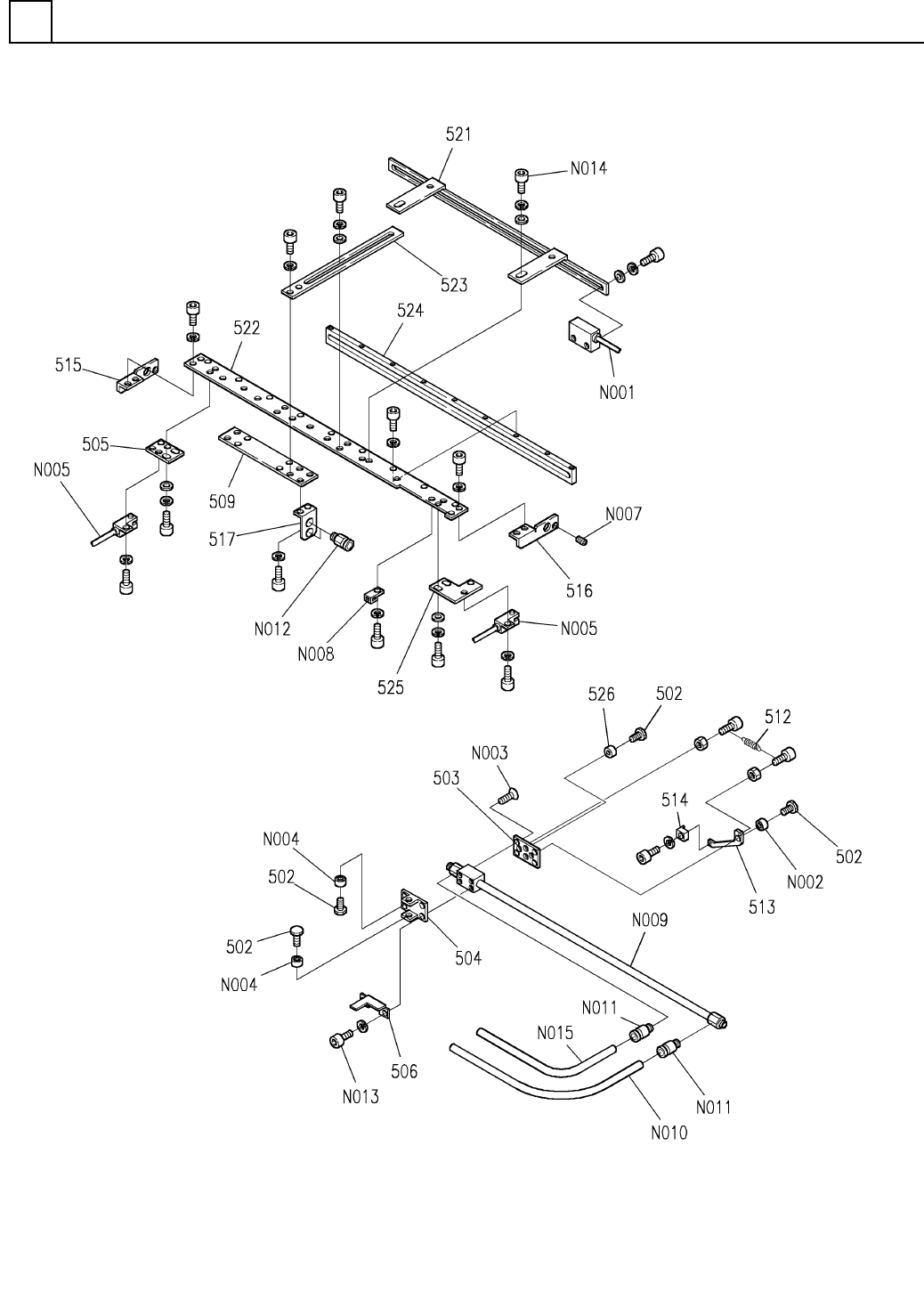
PART NAME REMARKS Q'TY 23 ローダ・アンローダ 部 (P-PUS H部 ) LOADER & UN LOADER SECT.(P-PUS H SECT.) イラスト No. REF No. PART No. 部 品 品 番 個数 備 考 R 1 R 2 1 1011683500 P-PUSH UNIT P-PUSHユニット 4 502 1011682502 BOLT ボルト 1 503 1…

ローダ・アンローダ部(P-PUSH部)
LOADER & UNLOADER SECT.(P-PUSH SECT.)
23
F10116-83-500-AD_02
M193

PART NAME
REMARKS
Q'TY
23
ローダ・アンローダ部(P-PUSH部)
LOADER & UNLOADER SECT.(P-PUSH SECT.)
イラスト
No.
REF
No.
PART No.
部 品 品 番 個数 備 考
R
1
R
2
1 1011683500
P-PUSH UNIT P-PUSHユニット
4
502 1011682502
BOLT ボルト
1
503 101168250301
PLATE プレート
1504 1011683504
BRACKET ブラケット
1505 1011682505
PLATE プレート
1
506 1011683506
PLATE プレート
1
509 1041405204
PLATE プレート
1512 1011682004
SPRING バネ
1513 1011682513
LEVER レバー
1
514 1011682514
BLOCK ブロック
1515 101168251501
BRACKET ブラケット
1516 1011682516
BRACKET ブラケット
1
517 101168251701
BRACKET ブラケット
1
521 1011683521
BRACKET ブラケット
1522 101168352201
PLATE プレート
2523 1011683523
PLATE プレート
1
524 1011683524
PLATE プレート
1
525 1011683525
PLATE プレート
1526 1011682524
COLLAR カラー
P919
1
N001
N310P919
SENSOR センサ
MF104ZZ
1
N002
KXF05XFAA00
BALL BEARING ボールベアリング
M3X6-4.8 A2J (Trivalen
4
N003
N510018158AA
FLUSH HEAD SCREW サラコネジ
MR104ZZ
2
N004
KXF05XUAA00
BALL BEARING ボールベアリング
P914
2
N005
N310P914
SENSOR センサ
M5X30-45H A2J (Trivale
1
N007
N510018443AA
HEX. SOCKET SET SCREW ロッカクアナツキトメネジ
CTAM2
7
N008
N348CTAM2T
CLAMP クランプ
CY3B10-540-DCJ605CJ
1
N009
N510023176AA
CYLINDER シリンダ
30-06,BLACK
1
N010
N4356UHK
TUBE チューブ
POC6-M5M
2
N011
N431P0C6M5M
FITTING ツギテ
PM6
2
N012
N431PM6
FITTING ツギテ
M3X8-10.9 A2J (Trivale
4
N013
N510017341AA
HEX. SOCKET HEAD CAP BOLT ロッカクアナツキボルト
BN1206 M4X8
2
N014
N510015166AA
BOLT ボルト
30-06,YELLOW
1
N015
N4356UHY
TUBE チューブ
M194
F10116-83-500-AD_02

ローダ・アンローダ部(プリント基板ストッパ部)
LOADER & UNLOADER SECT.(P. C. B. STOPPER SECT.)
23
F10469-05-040
M195