Q124783B09.pdf - 第149页
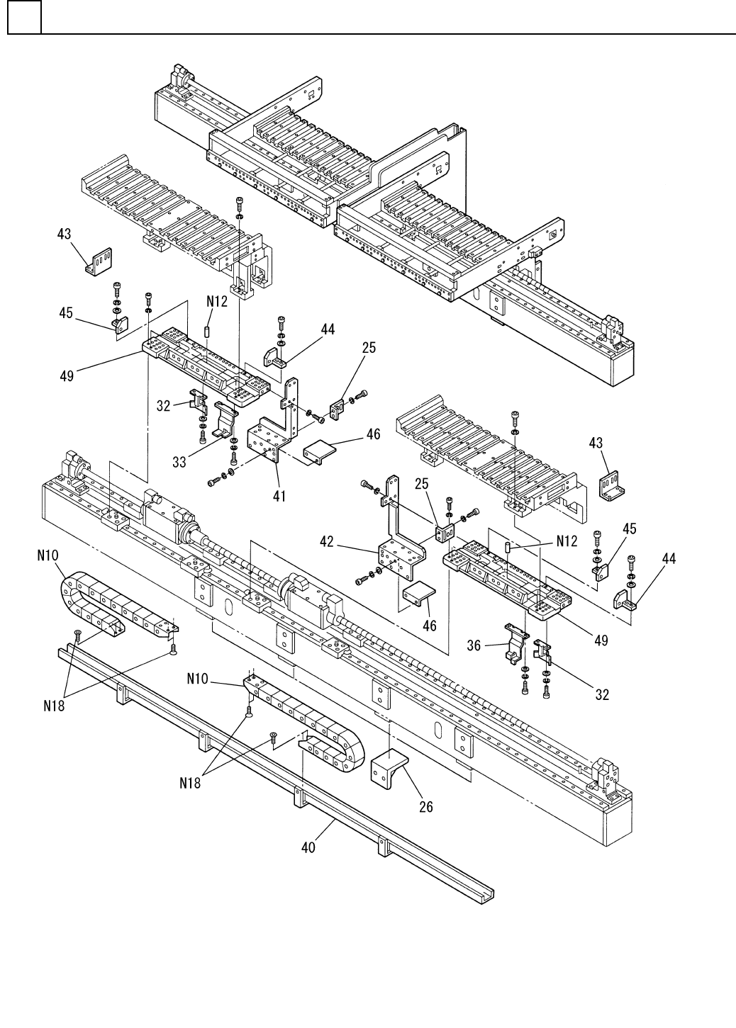
PART NAME REMARKS Q'TY 18 部品供給部 (2) FEEDER CARR IAGE SECT.(2) イラスト No. REF No. PART No. 部 品 品 番 個数 備 考 R 1 R 2 2 25 1087107025 BRACKET ブラケット 4 26 104690703104 BRACKET ブラケット 2 32 108710703201 DOG FOR SENS OR ドグ 1…

部品供給部(2)
FEEDER CARRIAGE SECT.(2)
18
F10871-07-000-AH-2
M131

PART NAME
REMARKS
Q'TY
18
部品供給部(2)
FEEDER CARRIAGE SECT.(2)
イラスト
No.
REF
No.
PART No.
部 品 品 番 個数 備 考
R
1
R
2
225 1087107025
BRACKET ブラケット
4
26 104690703104
BRACKET ブラケット
2
32 108710703201
DOG FOR SENSOR ドグ
133 108710703302
DOG FOR SENSOR ドグ
136 108710703602
DOG FOR SENSOR ドグ
1
40 104690704701
BRACKET ブラケット
1
41 108710704102
BRACKET ブラケット
142 108710704202
BRACKET ブラケット
243 108710704301
BRACKET ブラケット
2
44 104690705201
BRACKET ブラケット
245 104690705301
BRACKET ブラケット
246 1046907054
COVER カバー
2
49 104690705703
PLATE プレート
250-03-055-0-32-2030.1
2
N10 N9862500-T61
FLEXIBLE DUCT フレキシブルダクト
5X20,m6A,STEEL
4N12 XPJ5A20FW
PARALLEL PIN ヘイコウピン
M6X12
8N18 N986YYYY-T36
BOLT ロッカクアナツキサラボルト
M132
F10871-07-000-AH-2

部品供給部(3)
FEEDER CARRIAGE SECT.(3)
18
F10871-07-000-AH-3
M133