00193794-11_VD_SSW 505.05_de en.pdf - 第42页
Software Version Description, Station Software 505.05 07/2008 Edition F i x ed c onv ey or edge Mo v e a b le c onv ey or edge T r ans por t di rec t i on C onv ey or l ane 1 C onv ey or l ane 2 D e ac tiv ated c onv ey …

Software Version Description, Station Software 505.05 07/2008 Edition
5.17.1 Restrictions
- Station-by-station download is not possible if the placement machine is in "synchronous dual
conveyor" mode.
- In "asynchronous dual conveyor" mode, station-by-station download is only possible with a
change of setup if a recipe is specified for both conveyor lanes simultaneously.
- Station-by-station download is aborted if the Line Control Server is shut down and rebooted.
After the Line Control Server has been rebooted, production can only continue after a complete
line download.
- No package forms must be taught at the station during the download operation, otherwise the
station computer hangs.
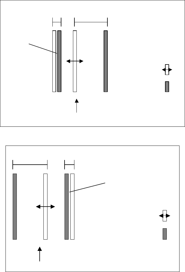
5.18 Flexible dual conveyor
The "flexible dual conveyor" feature makes it possible to widen a conveyor lane beyond its
maximum width in order to process extra-wide boards (greater than 216 mm) on a machine with a
dual conveyor. This is done by completely closing up the conveyor edges of the second conveyor
lane. This deactivates this conveyor lane. The two diagrams below illustrate the principle of the
flexible dual conveyor.
Note:
Adjusting the conveyor width may cause a crash between the conveyor edge and the PCB
supports. A corresponding warning is displayed, requesting the operator to remove the PCB
supports before the conveyor edges are closed up.
41 of 150

Software Version Description, Station Software 505.05 07/2008 Edition
Fixed conveyor
edge
Moveable
conveyor edge
Transport direction
Conveyor
lane 1
Conveyor
lane 2
Deactivated
conveyor lane
Fig. 5-1: Dual conveyor with widened conveyor lane 1 (fixed conveyor edge on the right)
Transport direction
Fixed conveyor
edge
Moveable
conveyor edge
Conveyor
lane 2
Conveyor
lane 1
Deactivated
conveyor lane
Fig. 5-2: Dual conveyor with widened conveyor lane 2 (fixed conveyor edge on the left)
The widening of the conveyor lane is specified for a job by the programming system if this is
necessary to produce the job.
42 of 150
Software Version Description, Station Software 505.05 07/2008 Edition
5.18.1 Restrictions
- Switching between "widened conveyor" mode and normal mode always involves mechanical
adjustment work.
- If the "Long PCB" option is used, this must be deactivated before switching to "widened
conveyor" mode and the hardware for the option must be removed.
- The width of the transport lane in the line is determined by the placement station with the
narrowest conveyor lane. If, for instance, a line contains stations of the type S-27 HM and HF
with the "flexible dual conveyor", the presence of the S-27 HM means that the maximum board
width supported is 216 mm rather than 250 mm.
- The kind of stop (left- or right-side stop) can not be changed for a wide conveyor. At first, set
the normal conveyor and then change the kind of stop. (SIPLACE HS 60)
5.19 New mapping plate for HS-60, S-27
For the HS-60 and S-27 there is in addition to the standard mapping plate (216 mm) a broader
mapping plate of 380 mm. With this new mapping plate it is possible to map the dual conveyor.
5.20 Number of repetitions on picking up a component
From SIPLACE Pro 2.0 onwards, it is possible for any package form to specify how often a pickup
operation is to be repeated if it was not successful. A value 1 through 255 can be entered. If it was
not possible to pick up the package form on the machine after the specified number of repetitions,
the machine stops with a "track empty" error.
5.21 Different nozzle types on 12-nozzle C&P heads as well
As of this version 505.xx of the software, it is also possible to set up different nozzle types in the
individual garages of the nozzle changer magazines for 12-nozzle C&P heads (as was already
possible for the 6-segment C&P head).
43 of 150