NXTII 培训手册.pdf - 第108页
Edition 1.0 N X T I I 用户高级培训手册 FMC-1010-003-0 C 3-52 FUJI MACHINE MFG. CO., LTD 3.18.2 模组用风扇 ( 下侧 ) 以下的更换步骤与 M3-2 模组和 M6-2 模组相同。 1. 将主电源开关 OFF 。 警告 ) 更换作业请务必在切断电源 后进行。 2. 请拆除螺丝 (4 根 ) ,模组背面的盖板。 3. 拆除螺丝( 2 根),将安装风扇的架子从模组背…

Edition 1.0
NXT II
用户高级培训手册
FMC-1010-003-0C
3-51
FUJI MACHINE MFG. CO., LTD
1. 将主电源开关 OFF。
警告
)
更换作业请务必在切断电源后进行。
2. 请拆除顶盖板(请参考" 2.16 模组顶盖板拆除 ")。
3. 请拆除防护罩和冷却风扇的安装螺丝(4 根)。
4. 请拆出导线插头,安装冷却风扇。
5. 请把防护罩和新的冷却风扇安装到架子上,用螺丝(4 根)固定。
6. 请连接导线插头。
7. 请安装顶盖板。

Edition 1.0
NXT II
用户高级培训手册
FMC-1010-003-0C
3-52
FUJI MACHINE MFG. CO., LTD
3.18.2 模组用风扇(下侧)
以下的更换步骤与 M3-2 模组和 M6-2 模组相同。
1. 将主电源开关 OFF。
警告
)
更换作业请务必在切断电源后进行。
2. 请拆除螺丝(4 根),模组背面的盖板。
3. 拆除螺丝(2 根),将安装风扇的架子从模组背面拆除。
4. 请拆除插头后将风扇和架子一起从模组中取出。拆除螺丝(2 根),将风扇从架子上拆除
进行更换。

Edition 1.0
NXT II
用户高级培训手册
FMC-1010-003-0C
3-53
FUJI MACHINE MFG. CO., LTD
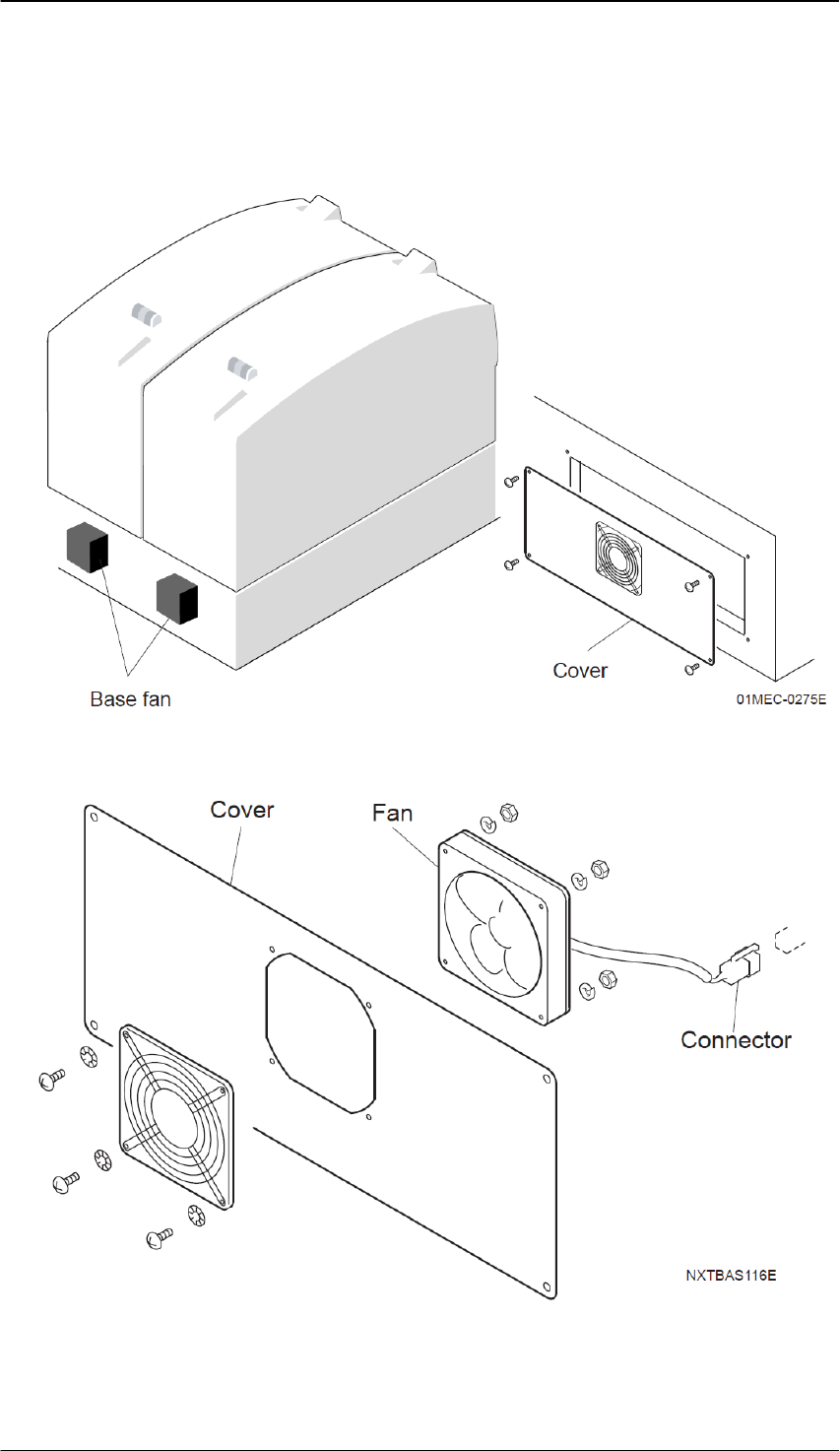
3.18.3 基座用风扇
1. 将主电源开关 OFF,切断机器的电源。
警告
)
更换作业请务必在切断电源后进行。
2. 拧下螺丝(4 根), 卸下模组背面的盖板。
3. 拆下插座后将风扇与盖板一起从机座中卸下, 拧下螺丝(4 根), 将风扇从盖板中取出进
行更换。