RL132四跨具部品书N7203A389B44.pdf - 第137页
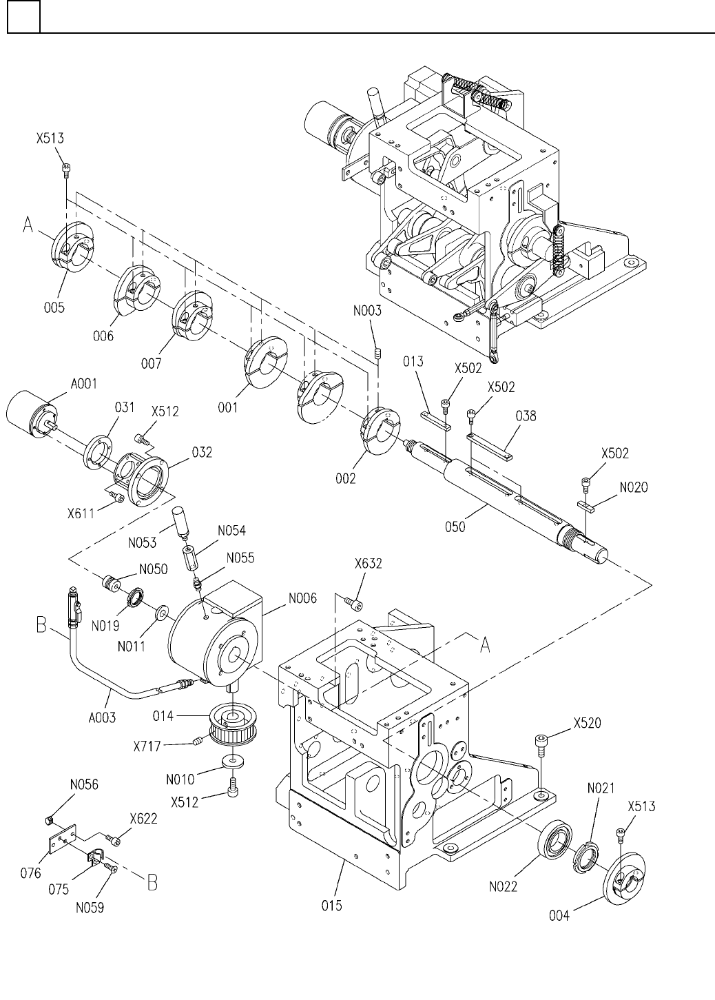
PART No. イラスト No. REF No. PART NAME REMARKS Q'TY 7 挿入ヘッ ド部(挿入 本体部2) INSERT ION HEAD SECT. (MAIN BODY S ECT.-2) 部 品 名 品 番 個数 備 考 R 2 R 3 R 1 MSMD082PJA S 1 A001 N610074301AA MOTOR 1 007 N210092167AA SUPPORT 1 008 N2…

挿入ヘッド部(挿入本体部2)
INSERTION HEAD SECT.(MAIN BODY SECT.-2)
7
FN610129089AA_07-2
M103

PART No.
イラスト
No.
REF
No.
PART NAME
REMARKSQ'TY
7
挿入ヘッド部(挿入本体部2)
INSERTION HEAD SECT.(MAIN BODY SECT.-2)
部 品 名品 番 個数 備 考
R
2
R
3
R
1
MSMD082PJA S
1
A001
N610074301AA
MOTOR
1007 N210092167AA
SUPPORT
1008 N210084446AA
BRACKET
1
009 N210092168AA
SPACER
1013 N210161145AA
SPRING
1014 X02G42101
BRACKET(SENSOR)
1
016 N210199534AA
BLOCK
1
017 N210084447AA
BRACKET
1023 X01L42006
SHIFTER
1024 N210084448AB
PULLEY
1
025 N210084445AA
BLOCK(NUT)
1
035 X01A42021
COLLAR
1036 X01A42022
LOCK-NUT
1037 X01A42024
BRACKET
1
039 X01A42028
BUSHING
2042 X01A42039
SET PIECE
1043 N210175570AA
SHAFT
1
044 X01A42044
BUSHING
1
045 X01A4204501
SPRING HOLDER
1048 N210033660AB
PIN
1050 N210095354AA
BRACKET
1
051 N210095355AA
BRACKET
87FWSSM-D10.0-V8.0-T5.0
1
N002
N510034942AA
WASHER
MQMLB16H-75D-XM11
1
N003
N510008926AA
CYLINDER
698ZZ
2
N004
KXF00MWAA00
BEARING
420-EV5GT-15
1
N006
N510027689AA
BELT(TIMING)
GX-8MB-R
1
N008
N312GX8MBR
SENSOR
CS8630i-03 S
1
N010
N510023803AA
CAMERA
VS-MC25N-FN08
1
N011
N510065750AA
LENS
SV-ND50-270
1
N012
N510065751AA
FILTER
M3X8-10.9 A2J (Trivalent)
5
X502
N510017341AA
HEX. SOCKET HEAD CAP BOLT
M5X12-10.9 A2J (Trivalent)
12
X508
N510017390AA
HEX. SOCKET HEAD CAP BOLT
M5X16-10.9 A2J (Trivalent)
4
X509
N510017395AA
HEX. SOCKET HEAD CAP BOLT
M6X20-10.9 A2J (Trivalent)
2
X513
N510017435AA
HEX. SOCKET HEAD CAP BOLT
M8X25-10.9 A2J (Trivalent)
2
X517
N510017473AA
HEX. SOCKET HEAD CAP BOLT
M3X3-45H A2J (Trivalent)
2
X531
N510018358AA
HEX. SOCKET SET SCREW
3 10H A2J (Trivalent)
5
X561
N510018494AA
ROUND PLAIN WASHER
4 10H A2J (Trivalent)
2
X562
N510018497AA
ROUND PLAIN WASHER
5 10H A2J (Trivalent)
14
X563
N510018499AA
ROUND PLAIN WASHER
6 10H A2J (Trivalent)
2
X564
N510018501AA
ROUND PLAIN WASHER
M5
2
X573
N510020100AA
WASHER
M6
2
X574
N510020101AA
WASHER
M5-6H-4T A2J (Trivalent)
1
X593
N510017862AA
HEXAGON NUT
M4X8-10.9 A2J (Trivalent)
2
X615
N510017381AA
HEX. SOCKET HEAD CAP BOLT
M5X30-10.9 A2J (Trivalent)
1
X624
N510017401AA
HEX. SOCKET HEAD CAP BOLT
M104
FN610129089AA_07-2

挿入ヘッド部(挿入動力部1)
INSERTION HEAD SECT.(INSERTION POWER SECT.-1)
7
FN610129985AA_16-1
M105