RL132四跨具部品书N7203A389B44.pdf - 第545页
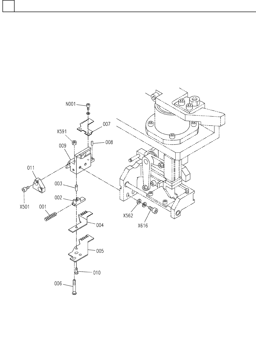
PART No. イラスト No. REF No. PART NAME REMARKS Q'TY 35 挿入部 (移シ替エ チャック部)(P=7.5m m) INSERT SECT.(TRANSFE R CHUCK SECT .)(P=7.5mm) 部 品 名 品 番 個数 備 考 R 2 R 3 R 1 1 N610142427AA INSERTION UNIT 1 001 X02G43001 SPRING 1 002 N2…

挿入部(移シ替エチャック部)(P=7.5mm)
INSERT SECT.(TRANSFER CHUCK SECT.)(P=7.5mm)
35
FN610142427AA_01
M511

PART No.
イラスト
No.
REF
No.
PART NAME
REMARKSQ'TY
35
挿入部(移シ替エチャック部)(P=7.5mm)
INSERT SECT.(TRANSFER CHUCK SECT.)(P=7.5mm)
部 品 名品 番 個数 備 考
R
2
R
3
R
1
1
N610142427AA
INSERTION UNIT
1001 X02G43001
SPRING
1002 N210165181AA
SLIDER
1
003 N210165236AA
PIN
1004 N210143357AA
PLATE
1005 N210143364AA
PLATE
2
006 X01A4300901
PIN
1
007 N210143365AB
GUIDE
1008 X01A43012
PIN
1009 N210165171AB
BLOCK
1
010 X01A43015
PIN
1
011 N210165173AA
RETAINER
M2.5X4-10.9 A2J (Trivalent)
2
N001
N510017244AA
HEX. SOCKET HEAD CAP BOLT
M3X5-10.9 A2J (Trivalent)
2
X501
N510017333AA
HEX. SOCKET HEAD CAP BOLT
M4X12-10.9 A2J (Trivalent)
2
X616
N510017346AA
HEX. SOCKET HEAD CAP BOLT
M3-6H-4T A2J (Trivalent)
3
X591
N510017849AA
HEXAGON NUT
M512
FN610142427AA_01

挿入部(移シ替エチャック部)(P=10mm)
INSERT SECT.(TRANSFER CHUCK SECT.)(P=10mm)
35
FN610142428AA_01
M513