RL132四跨具部品书N7203A389B44.pdf - 第250页
部品ボックス部 (リールサポート 部<小>)(オ プション) PARTS BOX SECT.(REEL SUPPORT SEC T. <SMALL>)(OP TION) 18 FN610130363AA_00 M217

PART No.
イラスト
No.
REF
No.
PART NAME
REMARKSQ'TY
18
部品ボックス部(リールサポート部<大>)(オプション)
PARTS BOX SECT.(REEL SUPPORT SECT. <LARGE>)(OPTION)
部 品 名品 番 個数 備 考
R
2
R
3
R
1
1
N610130362AA
PARTS BOX UNIT
2001 N210142694AA
HOLDER(REEL)
1002 N210143009AA
SHAFT
M4X6-10.9 A2J (Trivalent)
4
N001
N510017534AA
HEX. SOCKET BUTTON HEAD BOL
M216
FN610130362AA_00

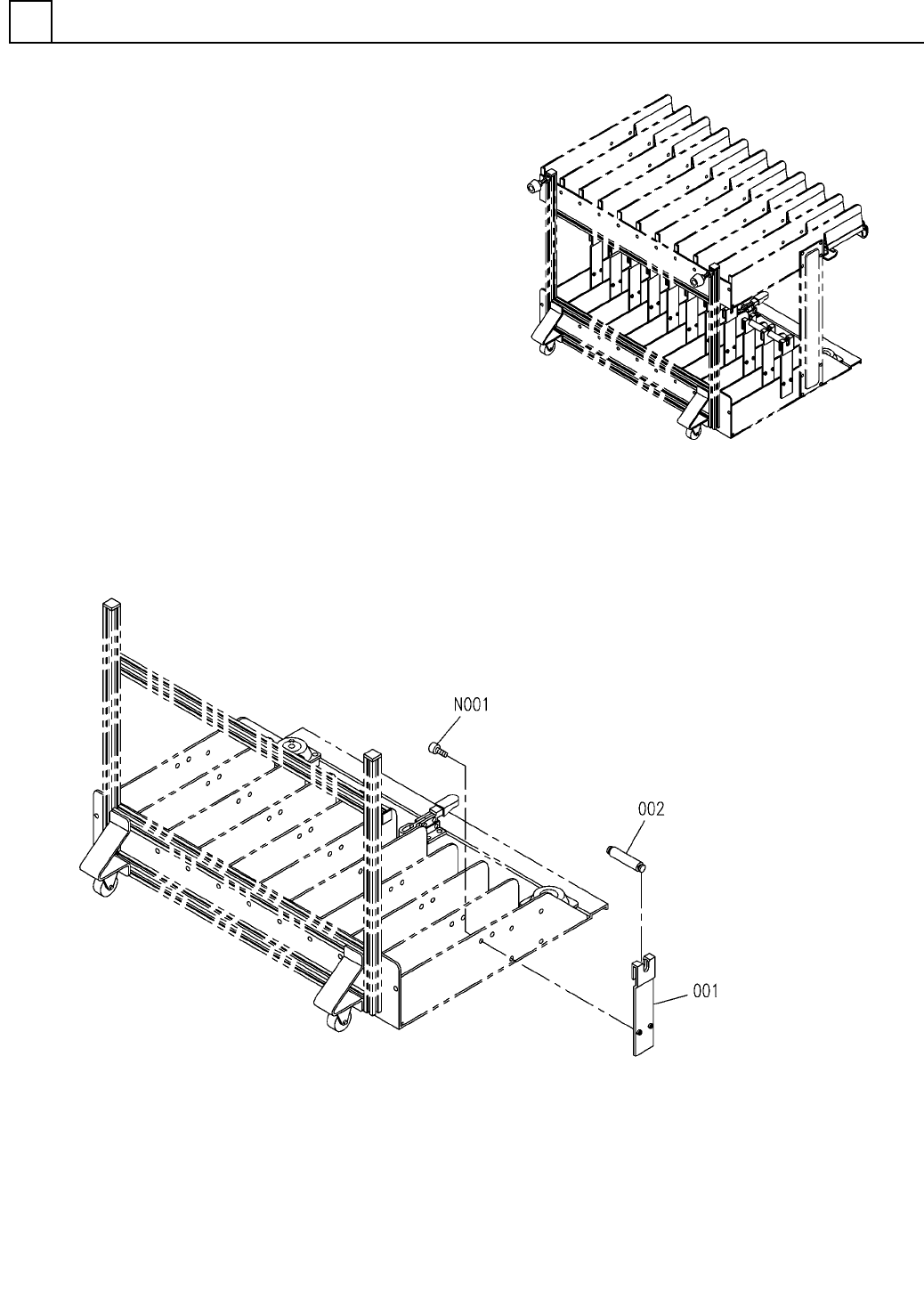
部品ボックス部(リールサポート部<小>)(オプション)
PARTS BOX SECT.(REEL SUPPORT SECT. <SMALL>)(OPTION)
18
FN610130363AA_00
M217

PART No.
イラスト
No.
REF
No.
PART NAME
REMARKSQ'TY
18
部品ボックス部(リールサポート部<小>)(オプション)
PARTS BOX SECT.(REEL SUPPORT SECT. <SMALL>)(OPTION)
部 品 名品 番 個数 備 考
R
2
R
3
R
1
1
N610130363AA
PARTS BOX UNIT
2001 N210142694AA
HOLDER(REEL)
1002 N210143010AA
SHAFT
M4X6-10.9 A2J (Trivalent)
4
N001
N510017534AA
HEX. SOCKET BUTTON HEAD BOL
M218
FN610130363AA_00