RL132四跨具部品书N7203A389B44.pdf - 第271页
PART No. イラスト No. REF No. PART NAME REMARKS Q'TY 20 部品加工部(動力部 1) PARTS PROCESS SECT.( DRIVING SECT .-1) 部 品 名 品 番 個数 備 考 R 2 R 3 R 1 1 N610125387AA PARTS PROC ESS UNIT 1 A003 N610143498AE FRAME 1 066 N210155768AA BR…

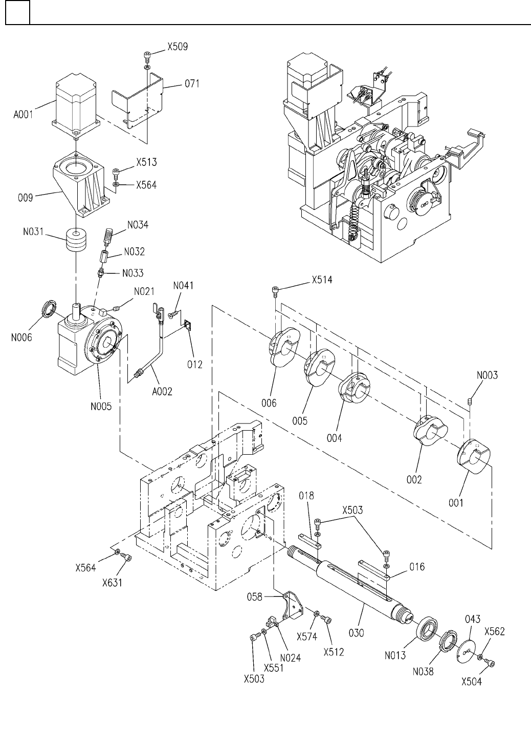
部品加工部(動力部1)
PARTS PROCESS SECT.(DRIVING SECT.-1)
20
FN610125387AA_16-1
M237

PART No.
イラスト
No.
REF
No.
PART NAME
REMARKSQ'TY
20
部品加工部(動力部1)
PARTS PROCESS SECT.(DRIVING SECT.-1)
部 品 名品 番 個数 備 考
R
2
R
3
R
1
1
N610125387AA
PARTS PROCESS UNIT
1
A003
N610143498AE
FRAME
1066 N210155768AA
BRACKET
1
067 MTPB002535AA
BRACKET
1068 N210155570AA
BRACKET
1069 N210169519AB
BRACKET
E32-T11R
3
N039
KXF0DZAPA00
SENSOR
E32-T16P S
1
N040
N310E32T16P
OPTICAL FIBER CABLE UNIT
M3X8-4.8 A2J (Trivalent)
4
N041
N510018161AA
FLUSH HEAD SCREW
87MS6-20
6
N043
N510022041AA
PIN
M4X10-10.9 A2J (Trivalent)
6
X505
N510017344AA
HEX. SOCKET HEAD CAP BOLT
M5X12-10.9 A2J (Trivalent)
2
X508
N510017390AA
HEX. SOCKET HEAD CAP BOLT
M10X30-10.9 A2J (Trivalent)
4
X520
N510017167AA
HEX. SOCKET HEAD CAP BOLT
4 10H A2J (Trivalent)
2
X562
N510018497AA
ROUND PLAIN WASHER
M4
4
X572
N510020099AA
WASHER
M5
2
X573
N510020100AA
WASHER
M10
4
X576
N510020103AA
WASHER
M238
FN610125387AA_16-1

部品加工部(動力部2)
PARTS PROCESS SECT.(DRIVING SECT.-2)
20
FN610125387AA_16-2
M239