RL132四跨具部品书N7203A389B44.pdf - 第87页
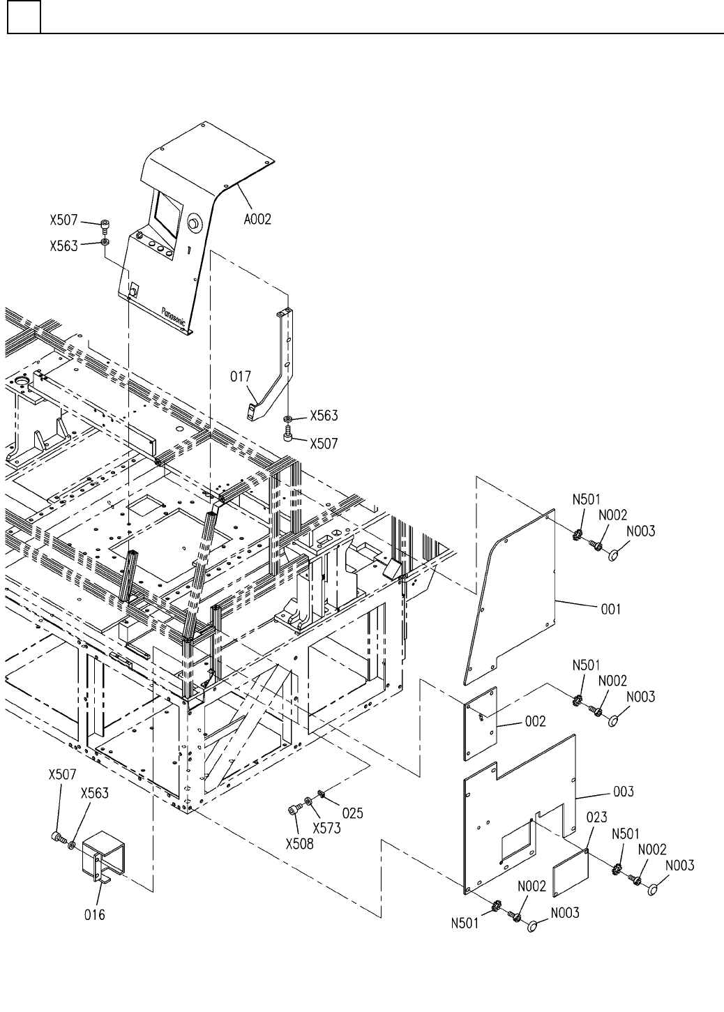
PART No. イラスト No. REF No. PART NAME REMARKS Q'TY 6 カバー部(フロントカ バー部1) COVER SECT.(FRONT CO VER SECT.-1) 部 品 名 品 番 個数 備 考 R 2 R 3 R 1 1 MTKA005767AA FRONT COVE R UNIT 1 A002 N610125663AB PANEL ATTA CHMENT UNIT 1 001 …

カバー部(フロントカバー部1)
COVER SECT.(FRONT COVER SECT.-1)
6
FMTKA005767AA_02-1
M53

PART No.
イラスト
No.
REF
No.
PART NAME
REMARKSQ'TY
6
カバー部(フロントカバー部1)
COVER SECT.(FRONT COVER SECT.-1)
部 品 名品 番 個数 備 考
R
2
R
3
R
1
1
MTKA005767AA
FRONT COVER UNIT
1
A002
N610125663AB
PANEL ATTACHMENT UNIT
1001 N210174678AA
COVER
1
002 N210174683AA
COVER
1003 N210182277AA
COVER
1016 N210153330AB
BRACKET
1
017 N210155520AB
BRACKET
1
023 N210157233AB
COVER
2025 N210175373AA
BRACKET
JB-A M5X8 +
22
N002
N510038044AA
BOLT
M5X12
22
N003
N986YYYY-814
CAP
5 External toothed Steel Unichrome white (Tri
22
N501
N510018765AA
TOOTHED LOCK WASHER
M5X8-10.9 A2J (Trivalent)
10
X507
N510017419AA
HEX. SOCKET HEAD CAP BOLT
M5X12-10.9 A2J (Trivalent)
2
X508
N510017390AA
HEX. SOCKET HEAD CAP BOLT
M5
2
X573
N510020100AA
WASHER
5 10H A2J (Trivalent)
10
X563
N510018499AA
ROUND PLAIN WASHER
M54
FMTKA005767AA_02-1

カバー部(フロントカバー部2)
COVER SECT.(FRONT COVER SECT.-2)
6
FMTKA005767AA_02-2
M55