RL132四跨具部品书N7203A389B44.pdf - 第142页
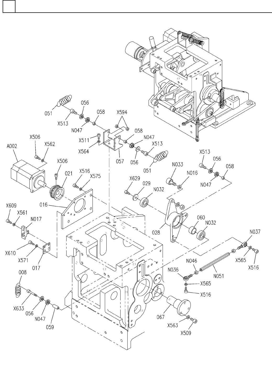
挿入ヘッ ド部(挿入 動力部3) INSERT ION HEAD SECT. (INSERTION P OWER SECT.-3) 7 FN610129985AA_16-3 M109

PART No.
イラスト
No.
REF
No.
PART NAME
REMARKSQ'TY
7
挿入ヘッド部(挿入動力部2)
INSERTION HEAD SECT.(INSERTION POWER SECT.-2)
部 品 名品 番 個数 備 考
R
2
R
3
R
1
1
018 X02G45107
PLATE
1019 X02G45109
NUT
1020 X02G45110
PULLEY(TIMING)
1
022 X02G45116
PLATE
1024 N210158955AA
FLANGE
1029 X02G45126
WASHER
1
037 X02G45138
PLATE
1
040 N210157145AA
LEVER
1041 N210157146AA
LEVER
1042 X01L45001
PLATE
1
043 N210084985AB
LEVER
1
044 X01L4500501
PIN
1045 X01L45006
SHAFT
1046 N210157198AA
CAM
1
052 X01A45037
PIN
1053 N210157197AA
COLLAR
1054 N210158956AA
COLLAR
1
055 X01A45043
PIN
2
056 N210172273AA
WASHER
2058 N210084980AA
COLLAR
1079 N210157196AA
COLLAR
360-EV5GT-15
1
N009
N510027682AA
BELT(TIMING)
87WASMH25-6
1
N010
N510034997AA
WASHER
87FWSSM-D16.0-V8.0-T2.0
1
N012
N510033690AA
WASHER
87FWSSM-D14.0-V6.0-T3.0
2
N013
N510035006AA
WASHER
CFN6R-A
1
N024
N531CFN6RA
CAM FOLLOWER
NART8R-940061
1
N025
N531NART-019
ROLLER FOLLOWER
6901ZZ
2
N026
KXF00MLAA00
BEARING
NART6R-040025
1
N027
N531NART-033
CAM FOLLOWER
6005ZZ
6
N030
KXF00K8AA00
BEARING
M4X5-45H A2J (Trivalent)
1
N043
N510018372AA
HEX. SOCKET SET SCREW
M4X6-10.9 A2J (Trivalent)
8
N044
N510017534AA
HEX. SOCKET BUTTON HEAD BOL
F696ZZIMC3PS2S
2
N047
N510020363AA
BEARING
M3X5-10.9 A2J (Trivalent)
2
X501
N510017333AA
HEX. SOCKET HEAD CAP BOLT
M3X8-10.9 A2J (Trivalent)
3
X502
N510017341AA
HEX. SOCKET HEAD CAP BOLT
M4X10-10.9 A2J (Trivalent)
6
X505
N510017344AA
HEX. SOCKET HEAD CAP BOLT
M4X16-10.9 A2J (Trivalent)
4
X506
N510017351AA
HEX. SOCKET HEAD CAP BOLT
M6X16-10.9 A2J (Trivalent)
4
X512
N510017433AA
HEX. SOCKET HEAD CAP BOLT
M6X20-10.9 A2J (Trivalent)
2
X513
N510017435AA
HEX. SOCKET HEAD CAP BOLT
M4X8-45H A2J (Trivalent)
2
X534
N510018375AA
HEX. SOCKET SET SCREW
3 10H A2J (Trivalent)
5
X561
N510018494AA
ROUND PLAIN WASHER
4 10H A2J (Trivalent)
6
X562
N510018497AA
ROUND PLAIN WASHER
6 10H A2J (Trivalent)
6
X564
N510018501AA
ROUND PLAIN WASHER
M8-6H-4T A2J (Trivalent)
1
X595
N510017877AA
HEXAGON NUT
M6X12-10.9 A2J (Trivalent)
4
X629
N510017428AA
HEX. SOCKET HEAD CAP BOLT
M5X8-45H A2J (Trivalent)
1
X717
N510018384AA
HEX. SOCKET SET SCREW
M108
FN610129985AA_16-2

挿入ヘッド部(挿入動力部3)
INSERTION HEAD SECT.(INSERTION POWER SECT.-3)
7
FN610129985AA_16-3
M109

PART No.
イラスト
No.
REF
No.
PART NAME
REMARKSQ'TY
7
挿入ヘッド部(挿入動力部3)
INSERTION HEAD SECT.(INSERTION POWER SECT.-3)
部 品 名品 番 個数 備 考
R
2
R
3
R
1
S
1
A002
N610074303AA
MOTOR
1008 N210145709AA
SPRING
1016 N210084989AB
PLATE
1
017 X02G45106
BRACKET(SENSOR)
1021 X02G45111
PULLEY(TIMING)
1028 N210092175AC
LEVER
1
029 X02G45126
WASHER
2
051 N210092183AA
SPRING
4056 N210172273AA
WASHER
1057 N210092184AA
BRACKET
3
058 N210084980AA
COLLAR
1
059 N210182452AA
COLLAR
1060 X01A45069
COLLAR
1067 X01A45090
PIN
87FWSSM-D15.0-V8.0-T3.0
1
N016
N510038169AA
WASHER
EE-SX672
1
N017
KXF01YHAA00
SENSOR
6905ZZ
2
N032
KXF06P1AA00
BEARING
CFN8R-A
1
N033
N531CFN8RA
CAM FOLLOWER
P0S8L
1
N036
N534P0S8L
ROD END
POS8
1
N037
N534P0S8
ROD END
M8,1-TYPE,STEEL,Z.C.T (L.H.T) (Trivalent)
1
N046
N510018953AA
HEXAGON NUT
F696ZZIMC3PS2S
4
N047
N510020363AA
BEARING
87LBMFN8-130
1
N051
N510038167AA
ROD
M4X16-10.9 A2J (Trivalent)
6
X506
N510017351AA
HEX. SOCKET HEAD CAP BOLT
M5X16-10.9 A2J (Trivalent)
3
X509
N510017395AA
HEX. SOCKET HEAD CAP BOLT
M6X10-10.9 A2J (Trivalent)
3
X511
N510017424AA
HEX. SOCKET HEAD CAP BOLT
M6X20-10.9 A2J (Trivalent)
3
X513
N510017435AA
HEX. SOCKET HEAD CAP BOLT
M8X20-10.9 A2J (Trivalent)
5
X516
N510017472AA
HEX. SOCKET HEAD CAP BOLT
3 10H A2J (Trivalent)
2
X561
N510018494AA
ROUND PLAIN WASHER
4 10H A2J (Trivalent)
4
X562
N510018497AA
ROUND PLAIN WASHER
5 10H A2J (Trivalent)
3
X563
N510018499AA
ROUND PLAIN WASHER
6 10H A2J (Trivalent)
3
X564
N510018501AA
ROUND PLAIN WASHER
8 10H A2J (Trivalent)
8
X565
N510018503AA
WASHER
M3
2
X571
N510020098AA
WASHER
Thick washer for M8
3
X575
N510020102AA
WASHER
M6-6H-4T A2J (Trivalent)
2
X594
N510017867AA
HEXAGON NUT
M3X6-10.9 A2J (Trivalent)
2
X609
N510017337AA
HEX. SOCKET HEAD CAP BOLT
M3X10-10.9 A2J (Trivalent)
2
X610
N510017305AA
HEX. SOCKET HEAD CAP BOLT
M6X12-10.9 A2J (Trivalent)
1
X629
N510017428AA
HEX. SOCKET HEAD CAP BOLT
M6X45-10.9 A2J (Trivalent)
1
X633
N510017444AA
HEX. SOCKET HEAD CAP BOLT
M110
FN610129985AA_16-3