RL132四跨具部品书N7203A389B44.pdf - 第337页
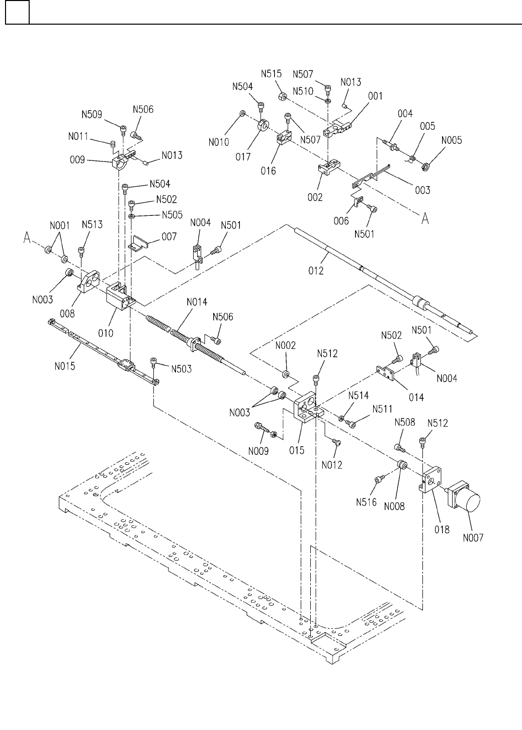
PART No. イラスト No. REF No. PART NAME REMARKS Q'TY 24 X-Yテーブ ル部(ピン自動幅寄 せ部) X-Y TA BLE SECT.(PIN AUTO WIDTH C ONTROL SECT.) 部 品 名 品 番 個数 備 考 R 2 R 3 R 1 1 N610054629AA PIN AUTO P OSITION CONTROL U 1 001 N210077740AA …

X-Yテーブル部(ピン自動幅寄せ部)
X-Y TABLE SECT.(PIN AUTO WIDTH CONTROL SECT.)
24
FN610054629AA_05
M303

PART No.
イラスト
No.
REF
No.
PART NAME
REMARKSQ'TY
24
X-Yテーブル部(ピン自動幅寄せ部)
X-Y TABLE SECT.(PIN AUTO WIDTH CONTROL SECT.)
部 品 名品 番 個数 備 考
R
2
R
3
R
1
1
N610054629AA
PIN AUTO POSITION CONTROL U
1001 N210077740AA
BLOCK(LEFT)
1002 N210113062AB
BLOCK
1
003 N210157549AA
LEVER
1004 1041314104
SHAFT
1005 N210049473AA
SPRING
1
006 1087114106
DOG FOR SENSOR
1
007 N210068920AB
DOG FOR SENSOR
1008 N210113081AA
BLOCK
1009 N210076926AA
HOUSING
1
010 N210113082AA
HOUSING
LT10UUCL+812.5L
1
012 N210068925AA
BALL SPLINE
1014 N210076180AA
BRACKET
1015 N210076178AB
BLOCK
1
016 1041314124
BLOCK
1017 1020714161
STOPPER
1018 N210076179AA
BRACKET
6800ZZ
2
N001
KXF00M6AA00
BALL BEARING
698ZZ
1
N002
KXF00MWAA00
BEARING
F688AZZ1
3
N003
KXF0DYPHA00
BEARING
P914S1
1
N004
N310P914S1
SENSOR
4,STEEL,P.C
1
N005
XUB4FP
RETAINING RING C-TYPE, SHAF
103H5331-03CXA4 S
1
N007
N510030658AA
MOTOR
MSX-19C-ph6Xph8
1
N008
N644MSX1-178
COUPLING
SUB-M5X20
1
N009
N510028255AA
BOLT
87FWASM-D15.0-V10.0-T3.0
1
N010
N510028278AA
WASHER
M3X4-45H A2J (Trivalent)
1
N011
N510018420AA
HEX. SOCKET SET SCREW
M4X8-4.8 A2J (Trivalent)
2
N012
N510018282AA
TRUSS HEAD SCREW
3X8,A TYPE
4
N013
XPM3A8FW
DOWEL PIN
MDK1202S-3RRGT+591.3LC5(32835032K000)
1
N014
N510066229AA
BALL SCREW
SRS7WMUUC1+520LMT(03139740K000)
1
N015
MTNB000093AA
LINEAR WAY
M3X4-10.9 A2J (Trivalent)
3
N501
N510017330AA
HEX. SOCKET HEAD CAP BOLT
M3X6-10.9 A2J (Trivalent)
3
N502
N510017337AA
HEX. SOCKET HEAD CAP BOLT
M3X8-10.9 A2J (Trivalent)
10
N503
N510017341AA
HEX. SOCKET HEAD CAP BOLT
M3X10-10.9 A2J (Trivalent)
4
N504
N510017305AA
HEX. SOCKET HEAD CAP BOLT
3 10H A2J (Trivalent)
2
N505
N510018478AA
ROUND PLAIN WASHER
M4X10-10.9 A2J (Trivalent)
4
N506
N510017344AA
HEX. SOCKET HEAD CAP BOLT
M4X12-10.9 A2J (Trivalent)
4
N507
N510017346AA
HEX. SOCKET HEAD CAP BOLT
M4X15-10.9 A2J (Trivalent)
3
N508
N510017350AA
HEX. SOCKET HEAD CAP BOLT
M4X16-10.9 A2J (Trivalent)
1
N509
N510017351AA
HEX. SOCKET HEAD CAP BOLT
4 10H A2J (Trivalent)
2
N510
N510018479AA
ROUND PLAIN WASHER
M5X10-10.9 A2J (Trivalent)
1
N511
N510017386AA
HEX. SOCKET HEAD CAP BOLT
M5X12-10.9 A2J (Trivalent)
5
N512
N510017390AA
HEX. SOCKET HEAD CAP BOLT
M5X16-10.9 A2J (Trivalent)
2
N513
N510017395AA
HEX. SOCKET HEAD CAP BOLT
5 10H A2J (Trivalent)
1
N514
N510018480AA
ROUND PLAIN WASHER
M4-6H-4T A2J (Trivalent)
1
N515
N510017859AA
HEXAGON NUT
M2.5X10-10.9 A2J (Trivalent)
2
N516
N510017234AA
HEX. SOCKET HEAD CAP BOLT
M304
FN610054629AA_05

X-Yテーブル部(自動幅寄せレバー部(D=5.0))
X-Y TABLE SECT.(AUTO WIDTH CONTROL LEVER SECT.(D=5.0))
24
FN610061657AA_01
M305