RL132四跨具部品书N7203A389B44.pdf - 第258页
部品搬送 部(2)(80ステーシ ョン) PARTS TRANSFER SECT. (2)(80 STATI ON) 19 FN610130673AA_11-2 M225

PART No.
イラスト
No.
REF
No.
PART NAME
REMARKSQ'TY
19
部品搬送部(1)(80ステーション)
PARTS TRANSFER SECT.(1)(80 STATION)
部 品 名品 番 個数 備 考
R
2
R
3
R
1
1
N610130673AA
PARTS TRANSFER UNIT
1004 N210155764AA
BRACKET
1007 N610146518AB
MOTOR BRACKET
1
010 N210147177AA
PULLEY
1026 N210155767AA
GUIDE
1027 N210088858AA
BELT
1
028 N210155766AA
BRACKET
1
035 N210147199AA
NUT
1045 N210170015AA
COLLAR
1046 N210191875AA
GUIDE
1
047 N210191876AA
GUIDE
PAT-B320S009KP1-K3M(GPB32S1K1K3M0)
1
N001
N510057986AA
GEAR HEAD
MDMA202P1C S
1
N002
MDMA202P1C
MOTOR
E3X-NA11
4
N003
N310E3XNA11
AMPLIFIER
PFP-M
2
N005
N322PFPM
PLATE
3 842 529 295
2
N006
N510036844AA
BLOCK
6X20,m6A,STEEL
6
N013
XPJ6A20FW
PARALLEL PIN
M4X12-10.9 A2J (Trivalent)
2
N504
N510017346AA
HEX. SOCKET HEAD CAP BOLT
M5X12-10.9 A2J (Trivalent)
10
N506
N510017390AA
HEX. SOCKET HEAD CAP BOLT
M8X25-10.9 A2S (Trivalent)
4
N510
N510017474AA
HEX. SOCKET HEAD CAP BOLT
M8X30-10.9 A2J (Trivalent)
4
N511
N510017475AA
HEX. SOCKET HEAD CAP BOLT
M12X30-10.9 A2J (Trivalent)
5
N513
N510017189AA
HEX. SOCKET HEAD CAP BOLT
4 10H A2J (Trivalent)
4
N518
N510018497AA
ROUND PLAIN WASHER
M5
10
N523
N510020100AA
WASHER
M6X12-45H A2J (Trivalent)
1
N526
N510018449AA
HEX. SOCKET SET SCREW
M8X40-10.9 A2J (Trivalent)
2
N527
N510017478AA
HEX. SOCKET HEAD CAP BOLT
M4X8-10.9 A2J (Trivalent)
2
N532
N510017381AA
HEX. SOCKET HEAD CAP BOLT
M224
FN610130673AA_11-1

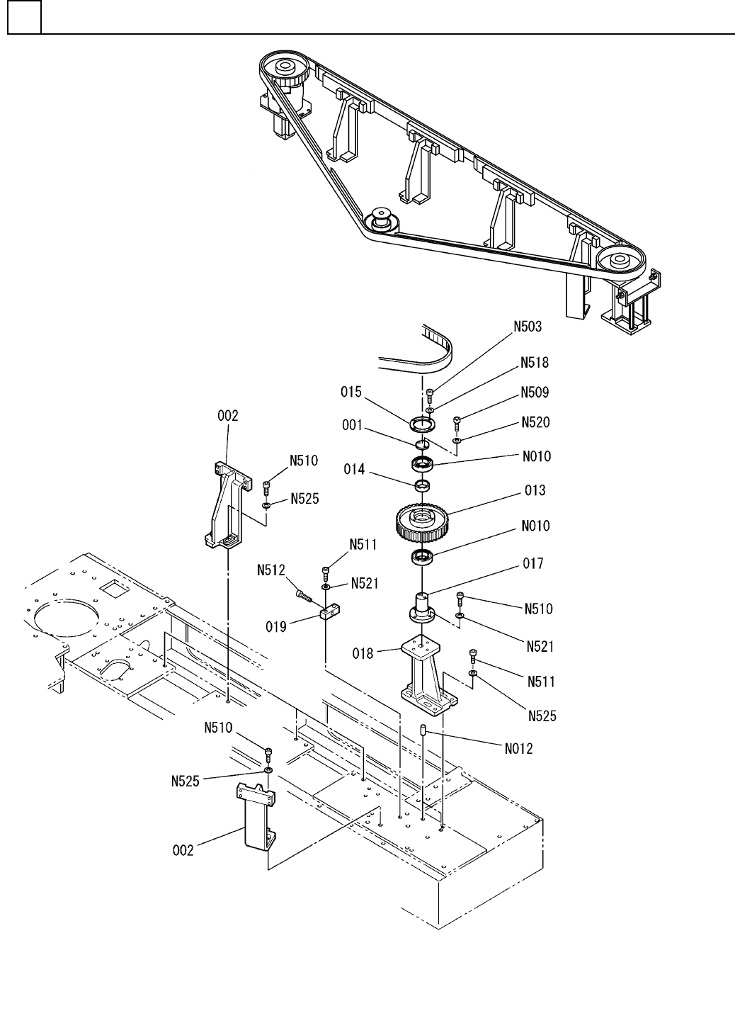
部品搬送部(2)(80ステーション)
PARTS TRANSFER SECT.(2)(80 STATION)
19
FN610130673AA_11-2
M225

PART No.
イラスト
No.
REF
No.
PART NAME
REMARKSQ'TY
19
部品搬送部(2)(80ステーション)
PARTS TRANSFER SECT.(2)(80 STATION)
部 品 名品 番 個数 備 考
R
2
R
3
R
1
1
001 X02G35101
COLLAR
5002 N210088843AD
BRACKET
1013 X01A35005
PULLEY(TIMING)
1
014 X01A35006
COLLAR
1015 X01A35008
COLLAR
1017 X01A35012A
SHAFT
1
018 N210088854AA
BRACKET(TENSION)
1
019 X01A3501601
BLOCK
6008ZZ
2
N010
XLC6008ZZ
BALL BEARING
12X20,m6A,STEEL
2
N012
XPK12A20FW
PARALLEL PIN
M4X10-10.9 A2J (Trivalent)
4
N503
N510017344AA
HEX. SOCKET HEAD CAP BOLT
M6X16-10.9 A2J (Trivalent)
2
N509
N510017433AA
HEX. SOCKET HEAD CAP BOLT
M8X25-10.9 A2S (Trivalent)
14
N510
N510017474AA
HEX. SOCKET HEAD CAP BOLT
M8X30-10.9 A2J (Trivalent)
6
N511
N510017475AA
HEX. SOCKET HEAD CAP BOLT
M8X60-10.9 A2J (Trivalent) Full thread
1
N512
N510017486AA
HEX. SOCKET HEAD CAP BOLT
4 10H A2J (Trivalent)
4
N518
N510018497AA
ROUND PLAIN WASHER
6 10H A2J (Trivalent)
2
N520
N510018501AA
ROUND PLAIN WASHER
8 10H A2J (Trivalent)
6
N521
N510018503AA
WASHER
Thick washer for M8
14
N525
N510020102AA
WASHER
M226
FN610130673AA_11-2